【中国实用新型】一种自动汽车遮阳装置

无权-未缴年费 中国

申请号:
CN201621168444.7
专利权人:
常州机电职业技术学院
授权公告日/公开日:
2017.05.10
专利有效期:
2016.11.02-2026.11.02
技术分类:
B60:一般车辆
转化方式:
转让
价值度指数:
58.0分
价格:
面议
308 0

发布人

常州机电职业技术学院

联系人何老师

0519-88238869
302910554
13151263266
  • 专利信息&法律状态
  • 专利自评
  • 专利技术文档
  • 价值度指数
  • 发明人阵容

著录项

申请号
CN201621168444.7
申请日
20161102
公开/公告号
CN206155101U
公开/公告日
20170510
申请/专利权人
[常州机电职业技术学院]
发明/设计人
[宋敬滨, 吴海东, 吴丹卿, 袁礼健]
主分类号
B60J3/02
IPC分类号
C12N 9/0008(2013.01) C12N 9/16
CPC分类号
C12N 9/0008(2013.01) C12N 9/16(2013.01)
分案申请地址
国省代码
江苏(32)
颁证日
G06T1/00
代理人
[孙彬]

摘要

本实用新型公开一种自动汽车遮阳装置,包括导轨(1)、丝杠(2)、固定座(3)、马达(4)、滑块螺母(5)、拉动杆(6)、拉环(7)、遮阳布(8)和遮阳布收纳盒(9);遮阳布收纳盒(9)包括外壳(9‑1)、转轴(9‑2)和卷簧(9‑3);固定座(3)固定连接在导轨(1)的左右两端,丝杠(2)与滑块螺母(5)之间通过螺纹连接,并且丝杠(2)的左端与固定座(3)活动连接,丝杠(2)的右端穿过固定座(3)且右末端与马达(4)的输出轴固定连接,马达(4)安装在导轨(1)的右端,拉环(7)设置在拉动杆(6)上;拉动杆(6)的两端分别固定连接在两个滑块螺母(5)上,遮阳布收纳盒(9)连接在导轨(1)的左端;遮阳布(8)的一端连接在卷簧(9‑3)上,遮阳布(8)的另一端与拉动杆(6)相连接。本实用新型能够将遮阳布自动拉上,使用方便,保护车内设备安全,遮阳效果好,有利于人们的出行,使得人们感到舒适。

法律状态

法律状态公告日 20211019
法律状态 专利权的终止
法律状态信息 未缴年费专利权终止
IPC(主分类):B60J 3/02
专利号:ZL2016211684447
申请日:20161102
授权公告日:20170510
终止日期:20201102
法律状态公告日 20170510
法律状态 授权
法律状态信息 授权
暂无数据

权利要求

权利要求数量(4

独立权利要求数量(1

1.一种自动汽车遮阳装置,其特征在于:包括导轨(1)、丝杠(2)、固定座(3)、马达(4)、 滑块螺母(5)、拉动杆(6)、拉环(7)、遮阳布(8)和遮阳布收纳盒(9);遮阳布收纳盒(9)包括 外壳(9-1)、转轴(9-2)和卷簧(9-3),转轴(9-2)的两端与外壳(9-1)的内壁活动连接,卷簧 (9-3)缠绕在转轴(9-2)上;固定座(3)固定连接在导轨(1)的左右两端,丝杠(2)与滑块螺母 (5)之间通过螺纹连接,丝杠(2)的左端与固定座(3)活动连接,丝杠(2)的右端穿过固定座 (3)且右末端与马达(4)的输出轴固定连接,马达(4)安装在导轨(1)的右端,拉环(7)设置在 拉动杆(6)的中部;拉动杆(6)的两端分别固定连接在两个滑块螺母(5)上,遮阳布收纳盒 (9)连接在导轨(1)的左端;遮阳布(8)的一端连接在卷簧(9-3)上,遮阳布(8)的另一端与拉 动杆(6)相连接。

2.根据权利要求1所述的一种自动汽车遮阳装置,其特征在于:卷簧(9-3)有3个,转轴 (9-2)和卷簧(9-3)均设置在外壳(9-1)的内部。

3.根据权利要求2所述的一种自动汽车遮阳装置,其特征在于:所述的导轨(1)和丝杠 (2)各有两个,并且丝杠(2)位于导轨(1)的上方。

4.根据权利要求3所述的一种自动汽车遮阳装置,其特征在于:所述的丝杠(2)与导轨 (1)之间互相平行。

1.一种自动汽车遮阳装置,其特征在于:包括导轨(1)、丝杠(2)、固定座(3)、马达(4)、滑块螺母(5)、拉动杆(6)、拉环(7)、遮阳布(8)和遮阳布收纳盒(9);遮阳布收纳盒(9)包括外壳(9-1)、转轴(9-2)和卷簧(9-3),转轴(9-2)的两端与外壳(9-1)的内壁活动连接,卷簧(9-3)缠绕在转轴(9-2)上;固定座(3)固定连接在导轨(1)的左右两端,丝杠(2)与滑块螺母(5)之间通过螺纹连接,丝杠(2)的左端与固定座(3)活动连接,丝杠(2)的右端穿过固定座(3)且右末端与马达(4)的输出轴固定连接,马达(4)安装在导轨(1)的右端,拉环(7)设置在拉动杆(6)的中部;拉动杆(6)的两端分别固定连接在两个滑块螺母(5)上,遮阳布收纳盒(9)连接在导轨(1)的左端;遮阳布(8)的一端连接在卷簧(9-3)上,遮阳布(8)的另一端与拉动杆(6)相连接。

2.根据权利要求1所述的一种自动汽车遮阳装置,其特征在于:卷簧(9-3)有3个,转轴(9-2)和卷簧(9-3)均设置在外壳(9-1)的内部。

3.根据权利要求2所述的一种自动汽车遮阳装置,其特征在于:所述的导轨(1)和丝杠(2)各有两个,并且丝杠(2)位于导轨(1)的上方。

4.根据权利要求3所述的一种自动汽车遮阳装置,其特征在于:所述的丝杠(2)与导轨(1)之间互相平行。

说明书

技术领域

本实用新型涉及汽车配件技术设备领域,更具体地说涉及一种自动汽车遮阳装置。

背景技术

现在汽车的普及率越来越高,开车出行方便快捷,但是夏季汽车长时间在阳光下停放会因为太阳的暴晒而导致车内的温度升高,高温会影响车内橡胶、塑料设备的寿命,而且使车内闷热不利于驾驶,如果中控台上有打火机、香水之类的易燃易爆物品或者一些锂电池电子设备,还有可能导致汽车自燃的事故发生,威胁人身安全和财产安全。

发明内容

本实用新型的目的是提供一种自动汽车遮阳装置,能够将遮阳布自动拉上,使用方便,保护车内设备安全,遮阳效果好,有利于人们的出行,使得人们感到舒适。

本实用新型解决该技术问题所采用的技术方案是:一种自动汽车遮阳装置,包括导轨、丝杠、固定座、马达、滑块螺母、拉动杆、拉环、遮阳布和遮阳布收纳盒,能够将遮阳布自动拉上,使用方便,保护车内设备安全,遮阳效果好,有利于人们的出行,使得人们感到舒适。

遮阳布收纳盒包括外壳、转轴和卷簧,转轴的两端与外壳的内壁活动连接,卷簧缠绕在转轴上。

固定座固定连接在导轨的左右两端,丝杠穿过滑块螺母,丝杠与滑块螺母之间通过螺纹连接,并且丝杠的左端与固定座活动连接,丝杠的右端穿过固定座且右末端与马达的输出轴固定连接,马达安装在导轨的右端,拉环设置在拉动杆上,并且拉环位于拉动杆的中间。拉动杆的两端分别固定连接在两个滑块螺母上,遮阳布收纳盒连接在导轨的左端。遮阳布的一端连接在卷簧上,遮阳布的另一端与拉动杆相连接。

作为本技术方案的进一步优化,本实用新型一种自动汽车遮阳装置所述的卷簧有多个,转轴和卷簧均设置在外壳的内部。

作为本技术方案的进一步优化,本实用新型一种自动汽车遮阳装置所述的导轨和丝杠各有两个,并且丝杠位于导轨的上方。

作为本技术方案的进一步优化,本实用新型一种自动汽车遮阳装置所述的丝杠与导轨之间互相平行。

作为本技术方案的进一步优化,本实用新型一种自动汽车遮阳装置所述的滑块螺母能在导轨和丝杠上滑动。

本实用新型能够将遮阳布自动拉上,使用方便,保护车内设备安全,遮阳效果好,有利于人们的出行,使得人们感到舒适。

附图说明

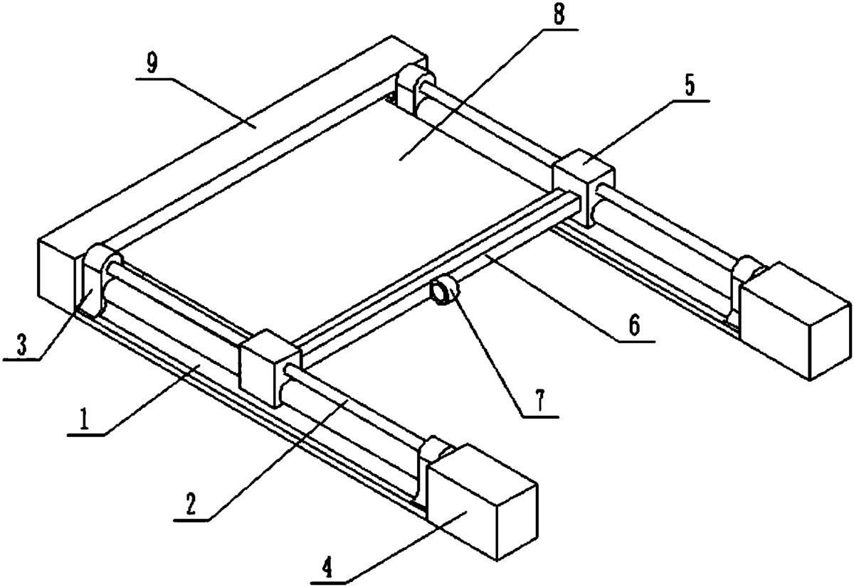
图1为本实用新型一种自动汽车遮阳装置的结构示意图。

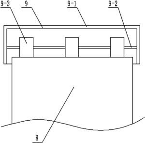
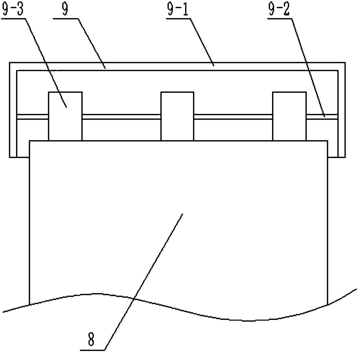
图2为本实用新型一种自动汽车遮阳装置的遮阳布收纳盒9的结构示意图。

图中:1.导轨;2.丝杠;3.固定座;4.马达;5.滑块螺母;6.拉动杆;7.拉环;8.遮阳布;9.遮阳布收纳盒;9-1.外壳;9-2.转轴;9-3.卷簧。

具体实施方式

为了使本实用新型的内容更容易被清楚地理解,下面根据具体实施例并结合附图1~2,对本实用新型作进一步详细的说明。

具体实施方式一:

一种自动汽车遮阳装置,包括:导轨1、丝杠2、固定座3、马达4、滑块螺母5、拉动杆6、拉环7、遮阳布8和遮阳布收纳盒9,能够将遮阳布自动拉上,使用方便,保护车内设备安全,遮阳效果好,有利于人们的出行,使得人们感到舒适。

遮阳布收纳盒9包括外壳9-1、转轴9-2和卷簧9-3,转轴9-2的两端与外壳9-1的内壁活动连接,卷簧9-3缠绕在转轴9-2上。

固定座3固定连接在导轨1的左右两端,丝杠2穿过滑块螺母5,丝杠2与滑块螺母5之间通过螺纹连接,并且丝杠2的左端与固定座3活动连接,丝杠2的右端穿过固定座3且右末端与马达4的输出轴固定连接,马达4安装在导轨1的右端,拉环7设置在拉动杆6上,并且拉环7位于拉动杆6的中间;拉动杆6的两端分别固定连接在两个滑块螺母5上,遮阳布收纳盒9连接在导轨1的左端;遮阳布8的一端连接在卷簧9-3上,遮阳布8的另一端与拉动杆6相连接。

具体实施方式二:

下面结合图1、2说明本实施方式,本实施方式对实施方式一作进一步说明,所述的卷簧9-3有多个,转轴9-2和卷簧9-3均设置在外壳9-1的内部。

具体实施方式三:

下面结合图1、2说明本实施方式,本实施方式对实施方式一作进一步说明,所述的导轨1和丝杠2各有两个,并且丝杠2位于导轨1的上方。

具体实施方式四:

下面结合图1、2说明本实施方式,本实施方式对实施方式一作进一步说明,所述的丝杠2与导轨1之间互相平行,确保滑块螺母5能够平稳的滑行。

具体实施方式五:

下面结合图1、2说明本实施方式,本实施方式对实施方式一作进一步说明,所述的滑块螺母5能在导轨1和丝杠2上滑动。

本实用新型一种自动汽车遮阳装置的工作原理:

将汽车遮阳装置的两个导轨1分别安装在汽车玻璃的两侧,启动马达4,马达4转动带动丝杠2转动,连接在丝杠2上的滑块螺母5进行移动,从而连接在滑块螺母5上的拉动杆6进行移动,拉动杆6将遮阳布8拉动将汽车的玻璃遮挡,当使用完毕后,马达4逆向转动,在卷簧9-3的作用下,卷簧9-3拉动遮阳布8,遮阳布8将缠绕在卷簧9-3上,使得遮阳布8收起在遮阳布收纳盒9中,结构美观大方;能够将遮阳布自动拉上,使用方便,保护车内设备安全,遮阳效果好,有利于人们的出行,使得人们感到舒适。

以上所述的具体实施例,对本实用新型解决的技术问题、技术方案和有益效果进行了进一步详细说明,所应理解的是,以上所述仅为本实用新型的具体实施例而已,并不用于限制本实用新型,凡在本实用新型的精神和原则之内,所做的任何修改、等同替换、改进等,均应包含在本实用新型的保护范围之内。

价值度评估

技术价值

经济价值

法律价值

0 0 0

58.0

0 50 75 100
0~50 50~75 75~100 价值较低 中等价值 价值较高

专利价值度是通过科学的评估模

型对专利价值进行量化的结果,

基于专利大数据针对专利总体特

征指标利用计算机自动化技术对

待评估专利进行高效、智能化的

分析,从技术、经济和法律价值

三个层面构建专利价值评估体

系,可以有效提升专利价值评估

的质量和效率。

总评:58.0


该专利价值中等 (仅供参考)

        该专利的技术、经济、法律价值经系统自动评估后的总评得分处于平均水平,可以重点研究利用其技术价值,根据法律价值的评估结果选择合适的使用借鉴方式。
        本专利文献中包含【1 个实施例】、【1 个技术分类】,从一定程度上而言上述指标的数值越大可以反映出所述专利的技术保护及应用范围越广。 【被引用次数4 次】专利被引次数越多越能能够体现出该专利在相关技术领域研发中所发挥的基础性作用,代表着专利公开的内容有更多的产业利用价值。 【专利权的维持时间5 年】专利权的维持时间越长,其价值对于权利人而言越高。

技术价值    32.0

该指标主要从专利申请的著录信息、法律事件等内容中挖掘其技术价值,专利类型、独立权利要求数量、无效请求次数等内容均可反映出专利的技术性价值。 技术创新是专利申请的核心,若您需要进行技术借鉴或寻找可合作的项目,推荐您重点关注该指标。

部分指标包括:

授权周期(发明)

6 个月

独立权利要求数量

1 个

从属权利要求数量

3 个

说明书页数

3 页

实施例个数

1 个

发明人数量

4 个

被引用次数

4 次

引用文献数量

4 个

优先权个数

0 个

技术分类数量

1 个

无效请求次数

0 个

分案子案个数

0 个

同族专利数

0 个

专利获奖情况

保密专利的解密

经济价值    7.0

该指标主要指示了专利技术在商品化、产业化及市场化过程中可能带来的预期利益。 专利技术只有转化成生产力才能体现其经济价值,专利技术的许可、转让、质押次数等指标均是其经济价值的表征。 因此,若您希望找到行业内的运用广泛的热点专利技术及侵权诉讼中的涉案专利,推荐您重点关注该指标。

部分指标包括:

申请人数量

1

申请人类型

院校

许可备案

0 次

权利质押

0 次

权利转移

0 个

海关备案

法律价值    19.0

该指标主要从专利权的稳定性角度评议其价值。专利权是一种垄断权,但其在法律保护的期间和范围内才有效。 专利权的存续时间、当前的法律状态可反映出其法律价值。故而,若您准备找寻权属稳定且专利权人非常重视的专利技术,推荐您关注该指标。

部分指标包括:

存活期/维持时间

5

法律状态

无权-未缴年费