【中国实用新型】一种带自动退件功能的圆形闷盖拉深模

有权-审定授权 中国

申请号:
CN202121778920.8
专利权人:
常州机电职业技术学院
授权公告日/公开日:
2022.01.14
专利有效期:
2021.08.02-2031.08.02
技术分类:
B21:基本上无切削的金属机械加工;金属冲压
转化方式:
转让
价值度指数:
61.0分
价格:
¥1350.00
1058 0

发布人

龙图腾网科技(合肥)股份有限公司

联系人龙图腾网科技(合肥)股份有限公司

18715114593
3008967067@qq.com
3008967067
18715114593
合肥市蜀山区创业产业园2期18楼龙图腾网科技(合肥)股份有限公司
  • 专利信息&法律状态
  • 专利自评
  • 专利技术文档
  • 价值度指数
  • 发明人阵容

著录项

申请号
CN202121778920.8
申请日
20210802
公开/公告号
CN215508628U
公开/公告日
20220114
申请/专利权人
[常州机电职业技术学院]
发明/设计人
[朱亚军, 唐悦, 许爱华, 蔡福海, 王佳伟, 常汪娜, 徐皓洋, 张耀方, 陈高, 张宸柯]
主分类号
B21D37/10
IPC分类号
C12N 9/0008(2013.01) C12N 9/16
CPC分类号
C12N 9/0008(2013.01) C12N 9/16(2013.01)
分案申请地址
国省代码
江苏(32)
颁证日
G06T1/00
代理人
[孙钰]

摘要

本实用新型公开了一种带自动退件功能的圆形闷盖拉深模,它包括相互匹配的上模组件和下模组件;所述上模组件包括上模和固定于上模顶部的模柄;所述下模组件包括下模、固定于下模顶部的导板以及固定于下模底部的下模座,且下模、导板和下模座中心均贯穿开设有匹配上模直径的通孔;所述导板底部开设有用于放置定位圆形闷盖拉深件的定位槽;下模底部中央开设有与中心通孔相接的环形沉孔,环形沉孔内滑动安装有三个弧形卸料块,且三个卸料块形成一个圆环,每个卸料块外弧一侧均开设有弧形槽,三个弧形槽形成一个环形槽,在环形槽内安装有环形弹簧。本实用新型能解决圆形闷盖拉深件制作复杂的问题,保证质量又能减轻工人的劳动强度,提高生产效率。

法律状态

法律状态公告日 20260414
法律状态 专利权质押登记、变更及注销
法律状态信息 专利权质押登记
IPC(主分类):B21D 37/10
专利号:ZL2021217789208
登记号:Y2026980010796
登记日:20260326
出质人:嘉兴至尚模塑科技有限公司
质权人:浙江泰隆商业银行股份有限公司嘉兴王店小微企业专营支行
实用新型名称:一种带自动退件功能的圆形闷盖拉深模
申请日:20210802
授权公告日:20220114
法律状态公告日 20260102
法律状态 专利申请权、专利权的转移
法律状态信息 专利权的转移
IPC(主分类):B21D 37/10
专利号:ZL2021217789208
登记生效日:20251217
变更事项:专利权人
变更前权利人:龙图腾网科技(合肥)股份有限公司
变更后权利人:嘉兴至尚模塑科技有限公司
变更事项:国家或地区
变更前权利人:中国
变更后权利人:中国
变更事项:地址
变更前权利人:230000 安徽省合肥市蜀山经济开发区井岗路电商园一期2号楼1楼
变更后权利人:314000 浙江省嘉兴市秀洲区王店镇庆元路西侧(嘉兴市秀洲区王店东方电器塑料厂内)
法律状态公告日 20240130
法律状态 专利申请权、专利权的转移
法律状态信息 专利权的转移
IPC(主分类):B21D 37/10
专利号:ZL2021217789208
登记生效日:20240115
变更事项:专利权人
变更前权利人:常州机电职业技术学院
变更后权利人:龙图腾网科技(合肥)股份有限公司
变更事项:地址
变更前权利人:213100 江苏省常州市武进区湖塘镇鸣新中路26号
变更后权利人:230000 安徽省合肥市蜀山经济开发区井岗路电商园一期2号楼1楼
法律状态公告日 20220114
法律状态 授权
法律状态信息 授权
事务数据公告日 20260102
事务数据类型 专利申请权、专利权的转移
转让详情 专利权的转移
IPC(主分类):B21D 37/10
专利号:ZL2021217789208
登记生效日:20251217
变更事项:专利权人
变更前权利人:龙图腾网科技(合肥)股份有限公司
变更后权利人:嘉兴至尚模塑科技有限公司
变更事项:国家或地区
变更前权利人:中国
变更后权利人:中国
变更事项:地址
变更前权利人:230000 安徽省合肥市蜀山经济开发区井岗路电商园一期2号楼1楼
变更后权利人:314000 浙江省嘉兴市秀洲区王店镇庆元路西侧(嘉兴市秀洲区王店东方电器塑料厂内)
事务数据公告日 20240130
事务数据类型 专利申请权、专利权的转移
转让详情 专利权的转移
IPC(主分类):B21D 37/10
专利号:ZL2021217789208
登记生效日:20240115
变更事项:专利权人
变更前权利人:常州机电职业技术学院
变更后权利人:龙图腾网科技(合肥)股份有限公司
变更事项:地址
变更前权利人:213100 江苏省常州市武进区湖塘镇鸣新中路26号
变更后权利人:230000 安徽省合肥市蜀山经济开发区井岗路电商园一期2号楼1楼
暂无数据

权利要求

权利要求数量(5

独立权利要求数量(1

1.一种带自动退件功能的圆形闷盖拉深模,其特征在于:包括相互匹配的上模组件和下模组件;

所述上模组件包括上模(3)和固定于上模(3)顶部的模柄(2);

所述下模组件包括下模(5)、固定于下模(5)顶部的导板(4)以及固定于下模(5)底部的下模座(8),且下模(5)、导板(4)和下模座(8)中心均贯穿开设有匹配上模(3)直径的通孔;

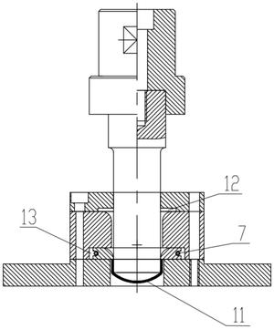
所述导板(4)底部开设有用于放置定位圆形闷盖拉深件(11)的定位槽(12);

所述下模(5)底部中央开设有与中心通孔相接的环形沉孔(13),所述环形沉孔(13)内滑动安装有三个弧形卸料块(6),且三个所述卸料块(6)形成一个圆环,每个卸料块(6)外弧一侧均开设有弧形槽,三个弧形槽形成一个环形槽,在所述环形槽内安装有环形弹簧(7);

三个所述卸料块(6)能够在圆形闷盖拉深件(11)进入下模(5)时在环形沉孔(13)内水平滑动,实现扇形开合。

2.根据权利要求1所述的带自动退件功能的圆形闷盖拉深模,其特征在于:所述上模(3)与模柄(2)通过第一螺钉(1)镶接固定。

3.根据权利要求1所述的带自动退件功能的圆形闷盖拉深模,其特征在于:所述下模(5)、导板(4)和下模座(8)三者通过第二螺钉(9)、圆柱销(10)固定连接为一体。

4.根据权利要求1所述的带自动退件功能的圆形闷盖拉深模,其特征在于:所述下模(5)中心通孔的顶部边缘呈圆弧状。

5.根据权利要求1所述的带自动退件功能的圆形闷盖拉深模,其特征在于:每个所述卸料块(6)内弧一侧顶部呈圆弧状。

1.一种带自动退件功能的圆形闷盖拉深模,其特征在于:包括相互匹配的上模组件和下模组件;

所述上模组件包括上模(3)和固定于上模(3)顶部的模柄(2);

所述下模组件包括下模(5)、固定于下模(5)顶部的导板(4)以及固定于下模(5)底部的下模座(8),且下模(5)、导板(4)和下模座(8)中心均贯穿开设有匹配上模(3)直径的通孔;

所述导板(4)底部开设有用于放置定位圆形闷盖拉深件(11)的定位槽(12);

所述下模(5)底部中央开设有与中心通孔相接的环形沉孔(13),所述环形沉孔(13)内滑动安装有三个弧形卸料块(6),且三个所述卸料块(6)形成一个圆环,每个卸料块(6)外弧一侧均开设有弧形槽,三个弧形槽形成一个环形槽,在所述环形槽内安装有环形弹簧(7);

三个所述卸料块(6)能够在圆形闷盖拉深件(11)进入下模(5)时在环形沉孔(13)内水平滑动,实现扇形开合。

2.根据权利要求1所述的带自动退件功能的圆形闷盖拉深模,其特征在于:所述上模(3)与模柄(2)通过第一螺钉(1)镶接固定。

3.根据权利要求1所述的带自动退件功能的圆形闷盖拉深模,其特征在于:所述下模(5)、导板(4)和下模座(8)三者通过第二螺钉(9)、圆柱销(10)固定连接为一体。

4.根据权利要求1所述的带自动退件功能的圆形闷盖拉深模,其特征在于:所述下模(5)中心通孔的顶部边缘呈圆弧状。

5.根据权利要求1所述的带自动退件功能的圆形闷盖拉深模,其特征在于:每个所述卸料块(6)内弧一侧顶部呈圆弧状。

说明书

技术领域

本实用新型属于模具技术领域,特别是涉及一种带自动退件功能的圆形闷盖拉深模。

背景技术

目前,在现有技术中,圆形闷盖拉深件是金属结构件,也是带式输送机中常用的立辊上的零件。由于其结构复杂,手工制作不能保证质量,因此需要制作模具,但是普通模具功能也比较单一,制作起来比较复杂,尤其是在成形取件时较为麻烦和费时,并不能很好地减轻工人的劳动强度,影响了生产效率。

发明内容

本实用新型所要解决的技术问题是,提供一种带自动退件功能的圆形闷盖拉深模,它能解决圆形闷盖拉深件制作复杂的问题,保证质量又能减轻工人的劳动强度,提高生产效率。

为了解决上述技术问题,本实用新型的技术方案是:

一种带自动退件功能的圆形闷盖拉深模,它包括相互匹配的上模组件和下模组件;所述上模组件包括上模和固定于上模顶部的模柄;所述下模组件包括下模、固定于下模顶部的导板以及固定于下模底部的下模座,且下模、导板和下模座中心均贯穿开设有匹配上模直径的通孔;所述导板底部开设有用于放置定位圆形闷盖拉深件的定位槽;所述下模底部中央开设有与中心通孔相接的环形沉孔,所述环形沉孔内滑动安装有三个弧形卸料块,且三个所述卸料块形成一个圆环,每个卸料块外弧一侧均开设有弧形槽,三个弧形槽形成一个环形槽,在所述环形槽内安装有环形弹簧;三个所述卸料块能够在圆形闷盖拉深件进入下模时在环形沉孔内水平滑动,实现扇形开合。

进一步,所述上模与模柄通过第一螺钉镶接固定。

进一步,所述下模、导板和下模座三者通过第二螺钉、圆柱销固定连接为一体。

进一步,所述下模中心通孔的顶部边缘呈圆弧状。

进一步,每个所述卸料块内弧一侧顶部呈圆弧状。

采用了上述技术方案,本实用新型具有以下的有益效果:

1.本实用新型在下模底部开设环形沉孔,设置三个可水平滑动的卸料块,并在三个卸料块外侧设置环形弹簧,当上模压下圆形闷盖拉深件进入下模时,三个卸料块实现水平滑动展开,当圆形闷盖拉深件完全进入下模座内时,三个卸料块在环形弹簧的复位作用下收缩抵住圆形闷盖拉深件上端,使得圆形闷盖拉深件在上模回程上移时能够轻松脱离上模,并留在下模座内,便于取出,减轻了工人的劳动强度,有效提高了生产效率。

2.本实用新型在下模上下增设导板和下模座,使三者形成一体,在成形时能够有效保证拉深质量,又在导板底部开设定位槽,使得圆形闷盖拉深件在成形过程中拉深更加精准,同时便于推放待加工的产件,有效提高了生产效率。

附图说明

图1为本实用新型的整体结构剖视图;

图2为本实用新型卸料块的结构示意图;

图3为本实用新型卸料块的剖视图;

图4为本实用新型的工作状态图;

其中,1.第一螺钉;2.模柄;3.上模;4.导板;5.下模;6.卸料块;7.环形弹簧;8.下模座;9.第二螺钉;10.圆柱销;11.圆形闷盖拉深件;12.定位槽;13.环形沉孔。

具体实施方式

为了使本实用新型的内容更容易被清楚地理解,下面根据具体实施例并结合附图,对本实用新型作进一步详细的说明。

如图1-4所示,在本实施例中,提供一种带自动退件功能的圆形闷盖拉深模,它由两部分组成,分别是上模组件和与之相匹配的下模组件。其中上模组件又包含上模3和固定于上模3顶部的模柄2,模柄2在工作时是直接与外部的冲床滑块连接的,以方便向下冲压产件。下模组件具体包含下模5、导板4和下模座8,导板4固定于下模5顶部,用于给待成形的圆形闷盖拉深件11定位,下模座8固定于下模5底部,用于收置成形脱离的圆形闷盖拉深件11。另外在下模5、导板4和下模座8中心均贯穿开设有匹配上模3直径的通孔,以方便上模3顺利进入完成拉深工作。

为了方便待成形拉深件的定位放置,在导板4底部开设有定位槽12,工作时只需将待成形的圆形闷盖拉深件11从一侧推入定位槽12内即可,如此可以有效提高放产品的效率。

为了克服传统成形取件时较为麻烦和费时的问题,本实施例在下模5底部中央开设有与中心通孔相接的环形沉孔13,环形沉孔13内滑动安装有三个弧形卸料块6,且三个卸料块6在正常状态下形成一个圆环,每个卸料块6外弧一侧均开设有弧形槽,三个弧形槽形成一个环形槽,在环形槽内安装有环形弹簧7,环形弹簧7为一个首尾相连的整体,向外撑开后能够弹性收缩复位。三个卸料块6能够在圆形闷盖拉深件11进入下模5时在环形沉孔13内水平滑动,并在环形弹簧7作用下复位收缩,以此实现扇形开合,复位后的三个卸料块6能够抵持住圆形闷盖拉深件11的顶端,从而在上模3回程时能够使圆形闷盖拉深件11顺利完成脱离,便于取出。

为了使上模3与模柄2冲压工作时更加稳固,在本实施例中将上模3与模柄2通过第一螺钉1进行镶接固定,模柄2底部开有沉孔,上模3镶接于沉孔内,并通过第一螺钉1从上往下固定。

为了保证拉深精准度和质量,在本实施例中将下模5、导板4和下模座8三者通过第二螺钉9、圆柱销10固定连接为一个整体,这样可以提高工作时的一致性,不易出现偏差。

为了使拉深件在成形时顺利进入下模5,本实施例中的下模5中心通孔的顶部边缘处理呈圆弧状,如此能够使成形工作更加快速高效,更易于成形。

为了让三个卸料块6在上模3下压时能够快速顺畅地向周侧展开,将本实施例中的每个卸料块6内弧一侧顶部处理呈圆弧状,这样在拉深件成形进入时三个卸料块6能够更容易展开,提高工作效率。

本实施例在生产使用时,首先,上模3会随冲床滑块上抬,然后将圆形钢板即待成形的圆形闷盖拉深件11推放入导板4的定位槽12内。接着开始冲压拉深,圆形钢板随着上模3冲压进入下模5成形为圆形闷盖拉深件11。上模3继续下压,当圆形闷盖拉深件11挤压到三个卸料块6时,三个卸料块6会在环形沉孔13内水平滑动,向周侧展开。当圆形闷盖拉深件11完全进入下模座8内时,三个卸料块6会在环形弹簧7的弹性复位作用下向内收缩滑动,直到抵住上模3侧壁,同时三个卸料块6底端也抵持住了圆形闷盖拉深件11的顶端。最后,上模3回程上移时,圆形闷盖拉深件11受到三个卸料块6的限制会脱离上模3而留在下模座8内,进而方便取出,减轻了工人的劳动强度,有效提高了生产效率。

在本说明书的描述中,参考术语“一个实施例”、“示例”、“具体示例”等的描述意指结合该实施例或示例描述的具体特征、结构、材料或者特点包含于本实用新型的至少一个实施例或示例中。在本说明书中,对上述术语的示意性表述不一定指的是相同的实施例或示例。而且,描述的具体特征、结构、材料或者特点可以在任何的一个或多个实施例或示例中以合适的方式结合。

以上所述的具体实施例,对本实用新型解决的技术问题、技术方案和有益效果进行了进一步详细说明,所应理解的是,以上所述仅为本实用新型的具体实施例而已,并不用于限制本实用新型,凡在本实用新型的精神和原则之内,所做的任何修改、等同替换、改进等,均应包含在本实用新型的保护范围之内。

价值度评估

技术价值

经济价值

法律价值

0 0 0

61.0

0 50 75 100
0~50 50~75 75~100 价值较低 中等价值 价值较高

专利价值度是通过科学的评估模

型对专利价值进行量化的结果,

基于专利大数据针对专利总体特

征指标利用计算机自动化技术对

待评估专利进行高效、智能化的

分析,从技术、经济和法律价值

三个层面构建专利价值评估体

系,可以有效提升专利价值评估

的质量和效率。

总评:61.0


该专利价值中等 (仅供参考)

        该专利的技术、经济、法律价值经系统自动评估后的总评得分处于平均水平,可以重点研究利用其技术价值,根据法律价值的评估结果选择合适的使用借鉴方式。
        本专利文献中包含【1 个实施例】、【3 个技术分类】,从一定程度上而言上述指标的数值越大可以反映出所述专利的技术保护及应用范围越广。 【专利权的维持时间5 年】专利权的维持时间越长,其价值对于权利人而言越高。 尤其重要是,该专利 【权利转移2 次】、 都从侧面反应出该专利的技术、经济和法律价值。

技术价值    30.0

该指标主要从专利申请的著录信息、法律事件等内容中挖掘其技术价值,专利类型、独立权利要求数量、无效请求次数等内容均可反映出专利的技术性价值。 技术创新是专利申请的核心,若您需要进行技术借鉴或寻找可合作的项目,推荐您重点关注该指标。

部分指标包括:

授权周期(发明)

5 个月

独立权利要求数量

1 个

从属权利要求数量

4 个

说明书页数

3 页

实施例个数

1 个

发明人数量

10 个

被引用次数

0 次

引用文献数量

0 个

优先权个数

0 个

技术分类数量

3 个

无效请求次数

0 个

分案子案个数

0 个

同族专利数

0 个

专利获奖情况

保密专利的解密

经济价值    9.0

该指标主要指示了专利技术在商品化、产业化及市场化过程中可能带来的预期利益。 专利技术只有转化成生产力才能体现其经济价值,专利技术的许可、转让、质押次数等指标均是其经济价值的表征。 因此,若您希望找到行业内的运用广泛的热点专利技术及侵权诉讼中的涉案专利,推荐您重点关注该指标。

部分指标包括:

申请人数量

1

申请人类型

院校

许可备案

0 次

权利质押

0 次

权利转移

2 个

海关备案

法律价值    22.0

该指标主要从专利权的稳定性角度评议其价值。专利权是一种垄断权,但其在法律保护的期间和范围内才有效。 专利权的存续时间、当前的法律状态可反映出其法律价值。故而,若您准备找寻权属稳定且专利权人非常重视的专利技术,推荐您关注该指标。

部分指标包括:

存活期/维持时间

5

法律状态

有权-审定授权