【中国实用新型】图书馆还书系统

无权-未缴年费 中国

申请号:
CN202121930245.6
专利权人:
湖南第一师范学院
授权公告日/公开日:
2022.02.01
专利有效期:
2021.08.17-2031.08.17
技术分类:
B65:输送;包装;贮存;搬运薄的或细丝状材料
转化方式:
转让
价值度指数:
54.0分
价格:
¥2200.00
987 0

发布人

深圳龙图腾科技成果转化有限公司

联系人丁工

18156017870
2850394575@qq.com
2850394575
18156017870
合肥市高新区创新产业园二期J2区18楼
  • 专利信息&法律状态
  • 专利自评
  • 专利技术文档
  • 价值度指数
  • 发明人阵容

著录项

申请号
CN202121930245.6
申请日
20210817
公开/公告号
CN215709698U
公开/公告日
20220201
申请/专利权人
[湖南第一师范学院]
发明/设计人
[刘石平]
主分类号
B65G47/22
IPC分类号
C12N 9/0008(2013.01) C12N 9/16
CPC分类号
C12N 9/0008(2013.01) C12N 9/16(2013.01)
分案申请地址
国省代码
湖南(43)
颁证日
G06T1/00
代理人

摘要

本实用新型公开了一种图书馆还书系统,包括输送带、分类机构和升降传送机构,分类机构包括跨设于输送带上的横向导向架、滑设于横向导向架上用于横向拔动输送带上图书的分类拔动件和用于驱动分类拔动件横向滑行的分类驱动电机,输送带于分类拔动件的上游设有两个呈八字形设置的导向杆,两个导向杆的收口端朝向分类拔动件,升降传送机构包括升降井、滑设于升降井中的升降台以及用于驱动升降台升降的传送升降驱动,升降井的侧壁上设有一竖排开口,升降台朝向开口的一侧设有一排放书格,放书格的外侧设有可与开口对接的进书口,输送带的输送端与最下方的开口对接。本图书馆还书系统具有省时省力以及能够提高还书效率等优点。

法律状态

法律状态公告日 20250808
法律状态 专利权的终止
法律状态信息 未缴年费专利权终止
IPC(主分类):B65G 47/22
专利号:ZL2021219302456
申请日:20210817
授权公告日:20220201
终止日期:
法律状态公告日 20240719
法律状态 专利申请权、专利权的转移
法律状态信息 专利权的转移
IPC(主分类):B65G 47/22
专利号:ZL2021219302456
登记生效日:20240702
变更事项:专利权人
变更前权利人:徐雯雯
变更后权利人:南京闪羽信息科技有限公司
变更事项:国家或地区
变更前权利人:中国
变更后权利人:中国
变更事项:地址
变更前权利人:210000 江苏省南京市鼓楼区广州路213号
变更后权利人:210000 江苏省南京市栖霞区八卦洲街道鹂岛路298号大同生态产业园A区1-475
法律状态公告日 20240628
法律状态 专利申请权、专利权的转移
法律状态信息 专利权的转移
IPC(主分类):B65G 47/22
专利号:ZL2021219302456
登记生效日:20240612
变更事项:专利权人
变更前权利人:深圳龙图腾科技成果转化有限公司
变更后权利人:徐雯雯
变更事项:国家或地区
变更前权利人:中国
变更后权利人:中国
变更事项:地址
变更前权利人:518000 广东省深圳市罗湖区笋岗街道笋岗东路3002号万通大厦22层2202室
变更后权利人:210000 江苏省南京市鼓楼区广州路213号
法律状态公告日 20240130
法律状态 专利申请权、专利权的转移
法律状态信息 专利权的转移
IPC(主分类):B65G 47/22
专利号:ZL2021219302456
登记生效日:20240115
变更事项:专利权人
变更前权利人:湖南第一师范学院
变更后权利人:深圳龙图腾科技成果转化有限公司
变更事项:地址
变更前权利人:410205 湖南省长沙市岳麓区枫林三路1015号
变更后权利人:518000 广东省深圳市罗湖区笋岗街道笋岗东路3002号万通大厦22层2202室
法律状态公告日 20220201
法律状态 授权
法律状态信息 授权
事务数据公告日 20240719
事务数据类型 专利申请权、专利权的转移
转让详情 专利权的转移
IPC(主分类):B65G 47/22
专利号:ZL2021219302456
登记生效日:20240702
变更事项:专利权人
变更前权利人:徐雯雯
变更后权利人:南京闪羽信息科技有限公司
变更事项:国家或地区
变更前权利人:中国
变更后权利人:中国
变更事项:地址
变更前权利人:210000 江苏省南京市鼓楼区广州路213号
变更后权利人:210000 江苏省南京市栖霞区八卦洲街道鹂岛路298号大同生态产业园A区1-475
事务数据公告日 20240628
事务数据类型 专利申请权、专利权的转移
转让详情 专利权的转移
IPC(主分类):B65G 47/22
专利号:ZL2021219302456
登记生效日:20240612
变更事项:专利权人
变更前权利人:深圳龙图腾科技成果转化有限公司
变更后权利人:徐雯雯
变更事项:国家或地区
变更前权利人:中国
变更后权利人:中国
变更事项:地址
变更前权利人:518000 广东省深圳市罗湖区笋岗街道笋岗东路3002号万通大厦22层2202室
变更后权利人:210000 江苏省南京市鼓楼区广州路213号
事务数据公告日 20240130
事务数据类型 专利申请权、专利权的转移
转让详情 专利权的转移
IPC(主分类):B65G 47/22
专利号:ZL2021219302456
登记生效日:20240115
变更事项:专利权人
变更前权利人:湖南第一师范学院
变更后权利人:深圳龙图腾科技成果转化有限公司
变更事项:地址
变更前权利人:410205 湖南省长沙市岳麓区枫林三路1015号
变更后权利人:518000 广东省深圳市罗湖区笋岗街道笋岗东路3002号万通大厦22层2202室
暂无数据

权利要求

权利要求数量(8

独立权利要求数量(1

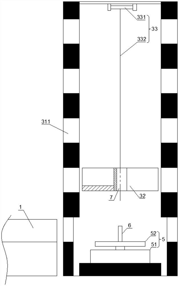
1.一种图书馆还书系统,其特征在于:包括输送带(1)、分类机构(2)和升降传送机构(3),所述分类机构(2)包括跨设于输送带(1)上的横向导向架(21)、滑设于横向导向架(21)上用于横向拔动输送带(1)上图书的分类拔动件(22)和用于驱动分类拔动件(22)横向滑行的分类驱动电机(23),所述输送带(1)于分类拔动件(22)的上游设有两个呈八字形设置的导向杆(11),两个所述导向杆(11)的收口端朝向分类拔动件(22),所述升降传送机构(3)包括升降井(31)、滑设于升降井(31)中的升降台(32)以及用于驱动升降台(32)升降的传送升降驱动(33),所述升降井(31)的侧壁上设有一竖排开口(311),所述升降台(32)朝向开口(311)的一侧设有一排放书格(4),所述放书格(4)的外侧设有可与开口(311)对接的进书口(41),所述输送带(1)的输送端与最下方的开口(311)对接。

2.根据权利要求1所述的图书馆还书系统,其特征在于:所述升降井(31)的相对两侧均设有一竖排开口(311),所述升降台(32)的相对两侧均设有一排放书格(4),所述升降井(31)的底部设有旋转组件(5),所述旋转组件(5)的顶部设有定位柱(6),所述升降台(32)的中心设有供定位柱(6)插入的定位孔(7)。

3.根据权利要求2所述的图书馆还书系统,其特征在于:所述旋转组件(5)包括旋转电机(51)和支撑台面(52),所述旋转电机(51)固定在升降井(31)的底部,所述支撑台面(52)固定在旋转电机(51)顶部的输出端,所述定位柱(6)设于支撑台面(52)的中部。

4.根据权利要求1至3中任一项所述的图书馆还书系统,其特征在于:所述横向导向架(21)包括横向导杆(211)、丝杆(212)和两个支撑座(213),两个所述支撑座(213)分别位于输送带(1)的两侧,所述横向导杆(211)的两端分别固定在两个支撑座(213)上,所述分类拔动件(22)滑设于横向导杆(211)上,所述丝杆(212)的两端分别转动设置在两个支撑座(213)上,所述丝杆(212)穿设于分类拔动件(22)中并与分类拔动件(22)螺纹连接,所述丝杆(212)与分类驱动电机(23)连接。

5.根据权利要求4所述的图书馆还书系统,其特征在于:所述分类拔动件(22)的底部设有拔书槽(221),所述拔书槽(221)沿输送带(1)的输送方向设置。

6.根据权利要求5所述的图书馆还书系统,其特征在于:两个所述导向杆(11)朝向分类拔动件(22)一端的间距d小于或等于拔书槽(221)的宽度D。

7.根据权利要求4所述的图书馆还书系统,其特征在于:所述分类驱动电机(23)设于任一支撑座(213)上。

8.根据权利要求1至3中任一项所述的图书馆还书系统,其特征在于:所述传送升降驱动(33)包括卷扬机(331)和拉绳(332),所述卷扬机(331)设于升降井(31)顶部、并通过拉绳(332)与升降台(32)连接。

1.一种图书馆还书系统,其特征在于:包括输送带(1)、分类机构(2)和升降传送机构(3),所述分类机构(2)包括跨设于输送带(1)上的横向导向架(21)、滑设于横向导向架(21)上用于横向拔动输送带(1)上图书的分类拔动件(22)和用于驱动分类拔动件(22)横向滑行的分类驱动电机(23),所述输送带(1)于分类拔动件(22)的上游设有两个呈八字形设置的导向杆(11),两个所述导向杆(11)的收口端朝向分类拔动件(22),所述升降传送机构(3)包括升降井(31)、滑设于升降井(31)中的升降台(32)以及用于驱动升降台(32)升降的传送升降驱动(33),所述升降井(31)的侧壁上设有一竖排开口(311),所述升降台(32)朝向开口(311)的一侧设有一排放书格(4),所述放书格(4)的外侧设有可与开口(311)对接的进书口(41),所述输送带(1)的输送端与最下方的开口(311)对接。

2.根据权利要求1所述的图书馆还书系统,其特征在于:所述升降井(31)的相对两侧均设有一竖排开口(311),所述升降台(32)的相对两侧均设有一排放书格(4),所述升降井(31)的底部设有旋转组件(5),所述旋转组件(5)的顶部设有定位柱(6),所述升降台(32)的中心设有供定位柱(6)插入的定位孔(7)。

3.根据权利要求2所述的图书馆还书系统,其特征在于:所述旋转组件(5)包括旋转电机(51)和支撑台面(52),所述旋转电机(51)固定在升降井(31)的底部,所述支撑台面(52)固定在旋转电机(51)顶部的输出端,所述定位柱(6)设于支撑台面(52)的中部。

4.根据权利要求1至3中任一项所述的图书馆还书系统,其特征在于:所述横向导向架(21)包括横向导杆(211)、丝杆(212)和两个支撑座(213),两个所述支撑座(213)分别位于输送带(1)的两侧,所述横向导杆(211)的两端分别固定在两个支撑座(213)上,所述分类拔动件(22)滑设于横向导杆(211)上,所述丝杆(212)的两端分别转动设置在两个支撑座(213)上,所述丝杆(212)穿设于分类拔动件(22)中并与分类拔动件(22)螺纹连接,所述丝杆(212)与分类驱动电机(23)连接。

5.根据权利要求4所述的图书馆还书系统,其特征在于:所述分类拔动件(22)的底部设有拔书槽(221),所述拔书槽(221)沿输送带(1)的输送方向设置。

6.根据权利要求5所述的图书馆还书系统,其特征在于:两个所述导向杆(11)朝向分类拔动件(22)一端的间距d小于或等于拔书槽(221)的宽度D。

7.根据权利要求4所述的图书馆还书系统,其特征在于:所述分类驱动电机(23)设于任一支撑座(213)上。

8.根据权利要求1至3中任一项所述的图书馆还书系统,其特征在于:所述传送升降驱动(33)包括卷扬机(331)和拉绳(332),所述卷扬机(331)设于升降井(31)顶部、并通过拉绳(332)与升降台(32)连接。

说明书

技术领域

本实用新型涉及图书馆设备技术领域,尤其涉及一种图书馆还书系统。

背景技术

目前,图书馆为了便于还书,一般在图书馆的入门口摆放书桌,图书被收检后,放于书桌上,再通过人工进行分类,然后再逐类送回原来的书房,图书分类由人工进行,耗时耗力,还书效率低。

发明内容

本实用新型要解决的技术问题是克服现有技术的不足,提供一种省时省力以及能够提高还书效率的图书馆还书系统。

为解决上述技术问题,本实用新型采用以下技术方案:

一种图书馆还书系统,包括输送带、分类机构和升降传送机构,所述分类机构包括跨设于输送带上的横向导向架、滑设于横向导向架上用于横向拔动输送带上图书的分类拔动件和用于驱动分类拔动件横向滑行的分类驱动电机,所述输送带于分类拔动件的上游设有两个呈八字形设置的导向杆,两个所述导向杆的收口端朝向分类拔动件,所述升降传送机构包括升降井、滑设于升降井中的升降台以及用于驱动升降台升降的传送升降驱动,所述升降井的侧壁上设有一竖排开口,所述升降台朝向开口的一侧设有一排放书格,所述放书格的外侧设有可与开口对接的进书口,所述输送带的输送端与最下方的开口对接。

作为上述技术方案的进一步改进:

所述升降井的相对两侧均设有一竖排开口,所述升降台的相对两侧均设有一排放书格,所述升降井的底部设有旋转组件,所述旋转组件的顶部设有定位柱,所述升降台的中心设有供定位柱插入的定位孔。

所述旋转组件包括旋转电机和支撑台面,所述旋转电机固定在升降井的底部,所述支撑台面固定在旋转电机顶部的输出端,所述定位柱设于支撑台面的中部。

所述横向导向架包括横向导杆、丝杆和两个支撑座,两个所述支撑座分别位于输送带的两侧,所述横向导杆的两端分别固定在两个支撑座上,所述分类拔动件滑设于横向导杆上,所述丝杆的两端分别转动设置在两个支撑座上,所述丝杆穿设于分类拔动件中并与分类拔动件螺纹连接,所述丝杆与分类驱动电机连接。

所述分类拔动件的底部设有拔书槽,所述拔书槽沿输送带的输送方向设置。

两个所述导向杆朝向分类拔动件一端的间距d小于或等于拔书槽的宽度D。

所述分类驱动电机设于任一支撑座上。

所述传送升降驱动包括卷扬机和拉绳,所述卷扬机设于升降井顶部、并通过拉绳与升降台连接。

与现有技术相比,本实用新型的优点在于:

本实用新型的图书馆还书系统,还书时,将图书放置在输送带上,输送带将图书向图1中箭头方向输送,并从两个导向杆之间通过后进入分类区域(分类机构对应输送带上的区域),然后,分类驱动电机驱动分类拔动件沿导向杆滑行(即横向滑行,横向为与输送带输送方向垂直的方向),将图书拔动至输送带的横向相应位置,此时,升降台位于最低位,升降台一侧的进书口与最下方的开口对接,方便图书进入,然后,图书在输送带的输送作用下,朝与之对准的放书格方向,将图书送于该放书格中(如果图书没有完全进入放书格,可通过人工或者设置辅助推送机构进行推送),接着,升降台上升,将图书送往相应的楼层(各开口对应一层楼层),升降到位后,再将图书通过开口进出。本图书馆还书系统省时省力以及能够提高还书效率。

附图说明

图1是本实用新型图书馆还书系统的俯视结构示意图(升降井未示出)。

图2是本实用新型图书馆还书系统的侧视结构示意图。

图3是本实用新型图书馆还书系统的升降台位于低位的结构示意图。

图4是本实用新型图书馆还书系统的升降台的升降过程图。

图中各标号表示:

1、输送带;11、导向杆;2、分类机构;21、横向导向架;211、横向导杆;212、丝杆;213、支撑座;22、分类拔动件;221、拔书槽;23、分类驱动电机;3、升降传送机构;31、升降井;311、开口;32、升降台;33、传送升降驱动;331、卷扬机;332、拉绳;4、放书格;41、进书口;5、旋转组件;51、旋转电机;52、支撑台面;6、定位柱;7、定位孔。

具体实施方式

以下将结合说明书附图和具体实施例对本实用新型做进一步详细说明。

如图1至图4所示,本实施例的图书馆还书系统,包括输送带1、分类机构2和升降传送机构3,分类机构2包括跨设于输送带1上的横向导向架21、滑设于横向导向架21上用于横向拔动输送带1上图书的分类拔动件22和用于驱动分类拔动件22横向滑行的分类驱动电机23,输送带1于分类拔动件22的上游设有两个呈八字形设置的导向杆11,两个导向杆11的收口端朝向分类拔动件22,升降传送机构3包括升降井31、滑设于升降井31中的升降台32以及用于驱动升降台32升降的传送升降驱动33,升降井31的侧壁上设有一竖排开口311,升降台32朝向开口311的一侧设有一排放书格4,放书格4的外侧设有可与开口311对接的进书口41,输送带1的输送端与最下方的开口311对接。

还书时,将图书放置在输送带1上,输送带1将图书向图1中箭头方向输送,并从两个导向杆11之间通过后进入分类区域(分类机构2对应输送带1上的区域),然后,分类驱动电机23驱动分类拔动件22沿导向杆11滑行(即横向滑行,横向为与输送带1输送方向垂直的方向),将图书拔动至输送带1的横向相应位置,此时,升降台32位于最低位,升降台32一侧的进书口41与最下方的开口311对接,方便图书进入,然后,图书在输送带1的输送作用下,朝与之对准的放书格4方向,将图书送于该放书格4中(如果图书没有完全进入放书格4,可通过人工或者设置辅助推送机构进行推送),接着,升降台32上升,将图书送往相应的楼层(各开口311对应一层楼层),升降到位后,再将图书通过开口311进出。本图书馆还书系统省时省力以及能够提高还书效率。

本实施例中,如图1、图3和图4所示,升降井31的相对两侧均设有一竖排开口311,升降台32的相对两侧均设有一排放书格4,升降井31的底部设有旋转组件5,旋转组件5的顶部设有定位柱6,升降台32的中心设有供定位柱6插入的定位孔7。通过旋转组件5的旋转作用,可将升降台32进行换向,从而在一侧放书格4放满图书后,再放置另一侧放书格4,以提高每次升降的运载量,从而提高输送效率。

本实施例中,旋转组件5包括旋转电机51和支撑台面52,旋转电机51固定在升降井31的底部,支撑台面52固定在旋转电机51顶部的输出端,定位柱6设于支撑台面52的中部。升降台32下降到最低位后,支承在支撑台面52上,定位孔7套于定位柱6上,使得升降台32能够跟随支撑台面52旋转以换向。

本实施例中,如图1和图2所示,横向导向架21包括横向导杆211、丝杆212和两个支撑座213,两个支撑座213分别位于输送带1的两侧,横向导杆211的两端分别固定在两个支撑座213上,分类拔动件22滑设于横向导杆211上,丝杆212的两端分别转动设置在两个支撑座213上,丝杆212穿设于分类拔动件22中并与分类拔动件22螺纹连接,丝杆212与分类驱动电机23连接。横向导杆211对分类拔动件22起到横向导向作用,分类驱动电机23能够驱动丝杆212旋转,丝杆212再带动分类拔动件22沿横向导杆211移动,达到横向推图书的效果,从而实现图书的分类,分类驱动电机23为双向电机,使分类拔动件22能够沿横向导杆211前后移动,从而使得图书能够沿垂直于输送带1的方向移动分类,以对准相应类别的放书格4。

本实施例中,如图2所示,分类拔动件22的底部设有拔书槽221,拔书槽221沿输送带1的输送方向设置。图书通过两个导向杆11之间后,进入拔书槽221中,在拔书槽221的限位作用下,能够带着图书沿垂直于输送带1的方向前后移动。

本实施例中,如图2所示,两个导向杆11朝向分类拔动件22一端的间距d小于或等于拔书槽221的宽度D。使图书能够顺利进入拔书槽221中。分类驱动电机23设于任一支撑座213上。

本实施例中,如图3和图4所示,传送升降驱动33包括卷扬机331和拉绳332,卷扬机331设于升降井31顶部、并通过拉绳332与升降台32连接。具体地,升降台32相邻设置放书格4的一侧滑设于升降井31的内侧壁上,起到导向作用,升降井31的底部空间大,为升降台32提供旋转换向空间。在卷扬机331的作用下,通过拉绳332带动升降台32升降,结构简单,成本低廉。

虽然本实用新型已以较佳实施例揭示如上,然而并非用以限定本实用新型。任何熟悉本领域的技术人员,在不脱离本实用新型技术方案范围的情况下,都可利用上述揭示的技术内容对本实用新型技术方案做出许多可能的变动和修饰,或修改为等同变化的等效实施例。因此,凡是未脱离本实用新型技术方案的内容,依据本实用新型技术实质对以上实施例所做的任何简单修改、等同变化及修饰,均应落在本实用新型技术方案保护的范围内。

价值度评估

技术价值

经济价值

法律价值

0 0 0

54.0

0 50 75 100
0~50 50~75 75~100 价值较低 中等价值 价值较高

专利价值度是通过科学的评估模

型对专利价值进行量化的结果,

基于专利大数据针对专利总体特

征指标利用计算机自动化技术对

待评估专利进行高效、智能化的

分析,从技术、经济和法律价值

三个层面构建专利价值评估体

系,可以有效提升专利价值评估

的质量和效率。

总评:54.0


该专利价值中等 (仅供参考)

        该专利的技术、经济、法律价值经系统自动评估后的总评得分处于平均水平,可以重点研究利用其技术价值,根据法律价值的评估结果选择合适的使用借鉴方式。
        本专利文献中包含【1 个实施例】、【3 个技术分类】,从一定程度上而言上述指标的数值越大可以反映出所述专利的技术保护及应用范围越广。 【专利权的维持时间4 年】专利权的维持时间越长,其价值对于权利人而言越高。 尤其重要是,该专利 【权利转移3 次】、 都从侧面反应出该专利的技术、经济和法律价值。

技术价值    29.0

该指标主要从专利申请的著录信息、法律事件等内容中挖掘其技术价值,专利类型、独立权利要求数量、无效请求次数等内容均可反映出专利的技术性价值。 技术创新是专利申请的核心,若您需要进行技术借鉴或寻找可合作的项目,推荐您重点关注该指标。

部分指标包括:

授权周期(发明)

5 个月

独立权利要求数量

1 个

从属权利要求数量

7 个

说明书页数

3 页

实施例个数

1 个

发明人数量

1 个

被引用次数

0 次

引用文献数量

0 个

优先权个数

0 个

技术分类数量

3 个

无效请求次数

0 个

分案子案个数

0 个

同族专利数

0 个

专利获奖情况

保密专利的解密

经济价值    9.0

该指标主要指示了专利技术在商品化、产业化及市场化过程中可能带来的预期利益。 专利技术只有转化成生产力才能体现其经济价值,专利技术的许可、转让、质押次数等指标均是其经济价值的表征。 因此,若您希望找到行业内的运用广泛的热点专利技术及侵权诉讼中的涉案专利,推荐您重点关注该指标。

部分指标包括:

申请人数量

1

申请人类型

院校

许可备案

0 次

权利质押

0 次

权利转移

3 个

海关备案

法律价值    16.0

该指标主要从专利权的稳定性角度评议其价值。专利权是一种垄断权,但其在法律保护的期间和范围内才有效。 专利权的存续时间、当前的法律状态可反映出其法律价值。故而,若您准备找寻权属稳定且专利权人非常重视的专利技术,推荐您关注该指标。

部分指标包括:

存活期/维持时间

4

法律状态

无权-未缴年费