【中国实用新型】90°侧卧位摆放辅助尺

无权-未缴年费 中国

申请号:
CN201520189792.1
专利权人:
上海市第六人民医院
授权公告日/公开日:
2015.09.16
专利有效期:
2015.03.31-2025.03.31
技术分类:
A61:医学或兽医学;卫生学
转化方式:
转让
价值度指数:
54.0分
价格:
面议
10107 0

发布人

上海市第六人民医院

联系人

13700000007
  • 专利信息&法律状态
  • 专利自评
  • 专利技术文档
  • 价值度指数
  • 发明人阵容

著录项

申请号
CN201520189792.1
申请日
20150331
公开/公告号
CN204636892U
公开/公告日
20150916
申请/专利权人
[上海市第六人民医院]
发明/设计人
[李岚, 王子辰, 孟祥军, 顾碧莲, 林萍, 庄敏]
主分类号
A61G13/12
IPC分类号
C12N 9/0008(2013.01) C12N 9/16
CPC分类号
C12N 9/0008(2013.01) C12N 9/16(2013.01)
分案申请地址
国省代码
上海(31)
颁证日
G06T1/00
代理人
[冯子玲]

摘要

本实用新型公开了一种90°侧卧位摆放辅助尺,所述辅助尺包括:第一标杆、第二标杆和第三标杆;所述第一标杆固定垂直连接到所述第二标杆的底部,所述第三标杆活动式垂直连接在所述第二标杆的顶部,所述第三标杆与所述第一标杆不在同一平面。本实用新型的90°侧卧位摆放辅助尺,使护士可以快速、简单、准确地摆放90°体位,使病人垂直于水平面,最大可能地为手术医生提供精确的术中定位和假体安放参照,而且此装置制作简单,成本低廉,适合绝大多数护士,尤其是不具备侧卧位髋关节体位摆放经验的护士使用,因而可以为广大基层医院提供廉价有效的手术体位摆放辅助。

法律状态

法律状态公告日 20240409
法律状态 专利权的终止
法律状态信息 未缴年费专利权终止
IPC(主分类):A61G 13/12
专利号:ZL2015201897921
申请日:20150331
授权公告日:20150916
终止日期:
法律状态公告日 20150916
法律状态 授权
法律状态信息 授权
暂无数据

权利要求

权利要求数量(4

独立权利要求数量(1

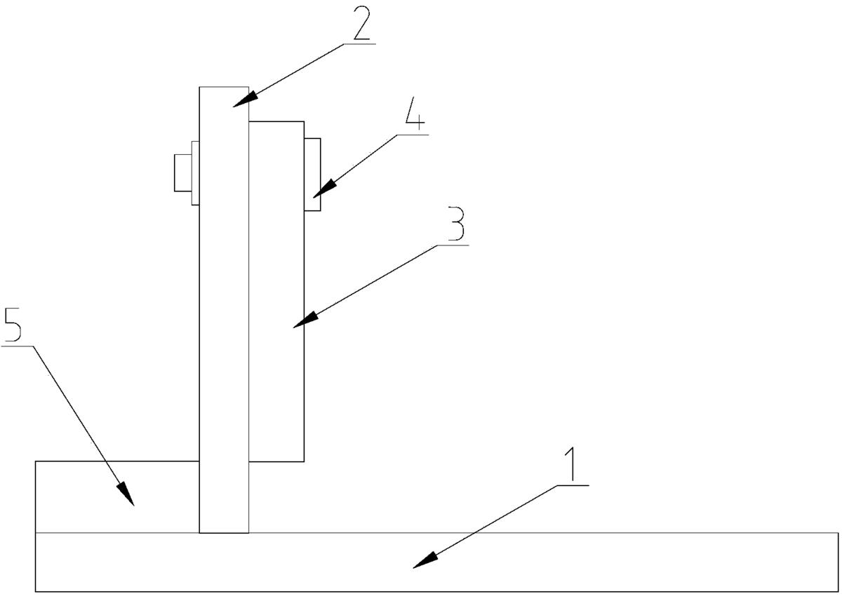
1.一种90°侧卧位摆放辅助尺,其特征在于,所述辅助尺包括:第一标 杆(1)、第二标杆(2)和第三标杆(3);所述第一标杆(1)固定垂直连接 到所述第二标杆(2)的底部,所述第三标杆(3)活动式垂直连接在所述第 二标杆(2)的顶部,所述第三标杆(3)与所述第一标杆(1)不在同一平面。

2.根据权利要求1所述的90°侧卧位摆放辅助尺,其特征在于,所述第 三标杆(3)与所述第二标杆(2)通过销轴(4)转动式连接。

3.根据权利要求1所述的90°侧卧位摆放辅助尺,其特征在于,所述第 一标杆(1)与所述第二标杆(2)的连接处设置有加强座(5)。

4.根据权利要求1至3中任一项所述的90°侧卧位摆放辅助尺,其特征 在于,所述第一标杆(1)、所述第二标杆(2)和所述第三标杆(3)的材质 均为压克力树脂。

1.一种90°侧卧位摆放辅助尺,其特征在于,所述辅助尺包括:第一标杆(1)、第二标杆(2)和第三标杆(3);所述第一标杆(1)固定垂直连接到所述第二标杆(2)的底部,所述第三标杆(3)活动式垂直连接在所述第二标杆(2)的顶部,所述第三标杆(3)与所述第一标杆(1)不在同一平面。

2.根据权利要求1所述的90°侧卧位摆放辅助尺,其特征在于,所述第三标杆(3)与所述第二标杆(2)通过销轴(4)转动式连接。

3.根据权利要求1所述的90°侧卧位摆放辅助尺,其特征在于,所述第一标杆(1)与所述第二标杆(2)的连接处设置有加强座(5)。

4.根据权利要求1至3中任一项所述的90°侧卧位摆放辅助尺,其特征在于,所述第一标杆(1)、所述第二标杆(2)和所述第三标杆(3)的材质均为压克力树脂。

说明书

技术领域

本实用新型涉及医疗器械技术领域,涉及一种90°侧卧位摆放辅助尺。

背景技术

目前,侧卧位摆放支架由三到四组支撑架完成体位摆放,以使病人固定。现有的髋关节置换体位多为标准90°侧卧位,由几组支撑架完成,但由于没有标准的参照物,常常由护士的目测来判断,因此经常造成体位摆放的误差和不标准,最后影响假体安放的准确性。

发明内容

本实用新型所要解决的技术问题是:提供一种90°侧卧位摆放辅助尺,给摆放体位的护士一个标准的90°参照,避免误差,达到标准体位,提高手术的精准性。

为解决上述技术问题,本实用新型的技术方案是:

提供一种90°侧卧位摆放辅助尺,所述辅助尺包括:第一标杆、第二标杆和第三标杆;所述第一标杆固定垂直连接到所述第二标杆的底部,所述第三标杆活动式垂直连接在所述第二标杆的顶部,所述第三标杆与所述第一标杆不在同一平面。

其中,在上述的90°侧卧位摆放辅助尺中,所述第三标杆与所述第二标杆通过销轴转动式连接。

其中,在上述的90°侧卧位摆放辅助尺中,所述第一标杆与所述第二标杆的连接处设置有加强座。

其中,在上述的90°侧卧位摆放辅助尺中,所述第一标杆、所述第二标杆和所述第三标杆的材质均为压克力树脂。

采用了上述技术方案,本实用新型的有益效果为:

与现有技术相比,本实用新型的90°侧卧位摆放辅助尺,使护士可以快速、简单、准确地摆放90°体位,使病人垂直于水平面,最大可能地为手术医生提供精确的术中定位和假体安放参照,而且此装置制作简单,成本低廉,适合绝大多数护士,尤其是不具备侧卧位髋关节体位摆放经验的护士使用,因而可以为广大基层医院提供廉价有效的手术体位摆放辅助。

附图说明

图1是本实用新型实施例的90°侧卧位摆放辅助尺的结构示意图;

图2是本实用新型实施例的90°侧卧位摆放辅助尺使用时的结构示意图;

图3是本实用新型实施例的90°侧卧位摆放辅助尺折叠时的结构示意图;

其中:

1为第一标杆;2为第二标杆;3为第三标杆;4为销轴;5为加强座。

具体实施方式

下面结合附图和实施例,对本实用新型的具体实施方式作进一步详细描述。以下实施例用于说明本实用新型,但不能用来限制本实用新型的范围。

如图1所示,本实用新型实施例的一种90°侧卧位摆放辅助尺包括:第一标杆1、第二标杆2和第三标杆3。第一标杆1固定垂直连接到第二标杆2的底部,且第一标杆1与第二标杆2的连接处设置有加强座5,以提高连接处的牢固性。第三标杆3活动式垂直连接在第二标杆2的顶部,而且第三标杆3与第一标杆1不在同一平面。使用时,如图2所示,第一标杆1放置于身体下面,贴紧手术床,第二标杆2紧贴病人两侧髂后上嵴,使骨盆90度垂直于手术床。第三标杆3辅助纠正病人上半身的角度,使病人上半身与骨盆处于同一条线上。这样,给摆放体位的护士一个标准的90°参照,可避免误差,达到标准体位,提高手术的精准性。

在本实施例中,第三标杆3与第二标杆2通过销轴4转动式连接,当使用完辅助尺后,可将其收拢折叠(见图3),便于摆放。

在本实施例中,第一标杆1、第二标杆2和所述第三标杆3的材质均为压克力树脂,制作简单,成本低廉。

当将病人转至侧卧位后,将本辅助尺置于病人髂后上嵴处,并紧贴第二标杆2(见图2),然后使用支撑架固定病人,最后拿走辅助尺,则体位摆放完成。

如上所述,本实用新型的90°侧卧位摆放辅助尺,使护士可以快速、简单、准确地摆放90°体位,使病人垂直于水平面,最大可能地为手术医生提供精确的术中定位和假体安放参照,而且此装置制作简单,成本低廉,适合绝大多数护士,尤其是不具备侧卧位髋关节体位摆放经验的护士使用,因而可以为广大基层医院提供廉价有效的手术体位摆放辅助。

上述的对实施例的描述是为便于该技术领域的普通技术人员能理解和应用本实用新型。熟悉本领域技术的人员显然可以容易地对这些实施例做出各种修改,并把在此说明的一般原理应用到其他实施例中而不必经过创造性的劳动。因此,本实用新型不限于这里的实施例,本领域技术人员根据本实用新型的揭示,对于本实用新型做出的改进和修改都应该在本实用新型的保护范围之内。

价值度评估

技术价值

经济价值

法律价值

0 0 0

54.0

0 50 75 100
0~50 50~75 75~100 价值较低 中等价值 价值较高

专利价值度是通过科学的评估模

型对专利价值进行量化的结果,

基于专利大数据针对专利总体特

征指标利用计算机自动化技术对

待评估专利进行高效、智能化的

分析,从技术、经济和法律价值

三个层面构建专利价值评估体

系,可以有效提升专利价值评估

的质量和效率。

总评:54.0


该专利价值中等 (仅供参考)

        该专利的技术、经济、法律价值经系统自动评估后的总评得分处于平均水平,可以重点研究利用其技术价值,根据法律价值的评估结果选择合适的使用借鉴方式。
        本专利文献中包含【1 个技术分类】,从一定程度上而言上述指标的数值越大可以反映出所述专利的技术保护及应用范围越广。 【专利权的维持时间9 年】专利权的维持时间越长,其价值对于权利人而言越高。

技术价值    29.0

该指标主要从专利申请的著录信息、法律事件等内容中挖掘其技术价值,专利类型、独立权利要求数量、无效请求次数等内容均可反映出专利的技术性价值。 技术创新是专利申请的核心,若您需要进行技术借鉴或寻找可合作的项目,推荐您重点关注该指标。

部分指标包括:

授权周期(发明)

5 个月

独立权利要求数量

0 个

从属权利要求数量

0 个

说明书页数

2 页

实施例个数

0 个

发明人数量

6 个

被引用次数

0 次

引用文献数量

0 个

优先权个数

0 个

技术分类数量

1 个

无效请求次数

0 个

分案子案个数

0 个

同族专利数

0 个

专利获奖情况

保密专利的解密

经济价值    6.0

该指标主要指示了专利技术在商品化、产业化及市场化过程中可能带来的预期利益。 专利技术只有转化成生产力才能体现其经济价值,专利技术的许可、转让、质押次数等指标均是其经济价值的表征。 因此,若您希望找到行业内的运用广泛的热点专利技术及侵权诉讼中的涉案专利,推荐您重点关注该指标。

部分指标包括:

申请人数量

1

申请人类型

机关团体

许可备案

0 次

权利质押

0 次

权利转移

0 个

海关备案

法律价值    19.0

该指标主要从专利权的稳定性角度评议其价值。专利权是一种垄断权,但其在法律保护的期间和范围内才有效。 专利权的存续时间、当前的法律状态可反映出其法律价值。故而,若您准备找寻权属稳定且专利权人非常重视的专利技术,推荐您关注该指标。

部分指标包括:

存活期/维持时间

9

法律状态

无权-未缴年费