【中国实用新型】一种带摇臂支架的塑料袋支撑架

有权-审定授权 中国

申请号:
CN201520271969.2
专利权人:
无锡市第二人民医院
授权公告日/公开日:
2015.08.26
专利有效期:
2015.04.29-2025.04.29
技术分类:
A61:医学或兽医学;卫生学
转化方式:
转让
价值度指数:
58.0分
价格:
面议
5748 0

发布人

无锡市第二人民医院

联系人

13700000001
  • 专利信息&法律状态
  • 专利自评
  • 专利技术文档
  • 价值度指数
  • 发明人阵容

著录项

申请号
CN201520271969.2
申请日
20150429
公开/公告号
CN204581843U
公开/公告日
20150826
申请/专利权人
[无锡市第二人民医院]
发明/设计人
[胡伟萍, 唐正利, 陆小敏, 陆农, 杨亚萍]
主分类号
A61G12/00
IPC分类号
C12N 9/0008(2013.01) C12N 9/16
CPC分类号
C12N 9/0008(2013.01) C12N 9/16(2013.01)
分案申请地址
国省代码
中国,CN,江苏(32)
颁证日
G06T1/00
代理人
[胡吉科, 孙伟]

摘要

本新型涉及到的是一种带摇臂支架的塑料袋支撑架,包括不锈钢粗钢丝制作的环绕一周的护栏,其特征为所述护栏为上下2根平行的钢丝组成;所述护栏上还设置有若干组挂钩,所述挂钩由上端的挂耳和下端钢丝环绕组成;在所述没有设置挂钩的一面护栏上安装有一个摇臂支架,所述摇臂支架底端安装有一个固定夹,用来和床体固定。

法律状态

法律状态公告日 20150826
法律状态 授权
法律状态信息 授权
暂无数据

权利要求

权利要求数量(3

独立权利要求数量(1

1.一种带摇臂支架的塑料袋支撑架,包括不锈钢粗钢丝制作的环 绕一周的护栏,其特征为所述护栏为上下2根平行的钢丝组成;所述 护栏上还设置有若干组挂钩,所述挂钩由上端的挂耳和下端钢丝环绕 组成;在所述没有设置挂钩的一面护栏上安装有一个摇臂支架,所述 摇臂支架底端安装有一个固定夹,用来和床体固定。

2.如权利要求1所述的一种带摇臂支架的塑料袋支撑架,其特征 为:摇臂支架分为上下两节,每一节为一个四连杆机构。

3.如权利要求2所述的一种带摇臂支架的塑料袋支撑架,其特征 为:所述摇臂支架上安装有弹簧。

1.一种带摇臂支架的塑料袋支撑架,包括不锈钢粗钢丝制作的环绕一周的护栏,其特征为所述护栏为上下2根平行的钢丝组成;所述护栏上还设置有若干组挂钩,所述挂钩由上端的挂耳和下端钢丝环绕组成;在所述没有设置挂钩的一面护栏上安装有一个摇臂支架,所述摇臂支架底端安装有一个固定夹,用来和床体固定。

2.如权利要求1所述的一种带摇臂支架的塑料袋支撑架,其特征为:摇臂支架分为上下两节,每一节为一个四连杆机构。

3.如权利要求2所述的一种带摇臂支架的塑料袋支撑架,其特征为:所述摇臂支架上安装有弹簧。

说明书

技术领域

本实用新型涉及到的是一种带摇臂支架的塑料袋支撑架。

背景技术

在做介入诊疗的过程中经常会遇到病人的呕吐的现象,由于床体及CP机机头要来回移动,床头部位不适合放置垃圾筒。放置朔料袋又不固定,很容易脱落,病人的呕吐物会污染球窗及球管,造成机器的损坏。现在我科自行设计了一款塑料袋支撑架将撑开的塑料袋固定在床头,安装便捷,使用方便,不影响医生的操作,效果满意。

发明内容

有鉴于此,为了解决上述问题,本新型提供一种自带摇臂支架,可以方便、快速移动定位的,供呕吐用的塑料袋支撑架。

一种带摇臂支架的塑料袋支撑架,包括不锈钢粗钢丝制作的环绕一周的护栏,其特征为所述护栏为上下2根平行的钢丝组成;所述护栏上还设置有若干组挂钩,所述挂钩由上端的挂耳和下端钢丝环绕组成;在所述没有设置挂钩的一面护栏上安装有一个摇臂支架,所述摇臂支架底端安装有一个固定夹,用来和床体固定。

进一步的,摇臂支架分为上下两节,每一节为一个四连杆机构。

进一步的,所述摇臂支架上安装有弹簧。

有益效果:

1,把朔料袋的“耳朵”套在挂钩的挂耳上,朔料袋就可以完全撑开,病人呕吐时,可以直接将呕吐物吐入朔料袋内。。

2,摇臂支架可以方便、快速的移动,并且准确地定位在空间任何一点。

3,固定夹可以根据需要固定在床体。

附图说明

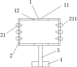
图1是本实用新型侧视图。

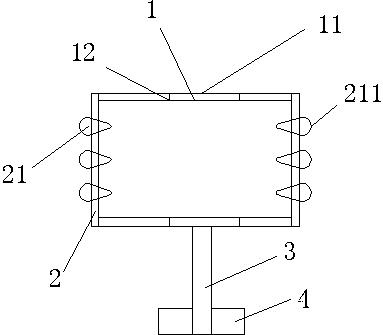
图2是本实用新型顶视图。

具体实施方式

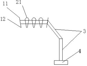
参考图1、2,一种带摇臂支架的塑料袋支撑架,包括不锈钢粗钢丝制作的环绕一周的护栏1,其所述护栏1为上下2根平行的钢丝11和钢丝12组成;所述护栏上还设置有若干组挂钩21,所述挂钩21由上端的挂耳211和下端钢丝环绕组成;在所述没有设置挂钩21的一面护栏1上安装有一个摇臂支架3,所述摇臂支架底端安装有一个固定夹4,用来和床体固定。摇臂支架3分为上下两节,每一节为一个四连杆机构。所述摇臂支架3上安装有弹簧。

有益效果:

1,把朔料袋的“耳朵”套在挂钩21的挂耳211上,朔料袋就可以完全撑开,病人呕吐时,可以直接将呕吐物吐入朔料袋内。。

2,摇臂支架3可以方便、快速的移动,并且准确地定位在空间任何一点。

3,固定夹4可以根据需要固定在床体。

价值度评估

技术价值

经济价值

法律价值

0 0 0

58.0

0 50 75 100
0~50 50~75 75~100 价值较低 中等价值 价值较高

专利价值度是通过科学的评估模

型对专利价值进行量化的结果,

基于专利大数据针对专利总体特

征指标利用计算机自动化技术对

待评估专利进行高效、智能化的

分析,从技术、经济和法律价值

三个层面构建专利价值评估体

系,可以有效提升专利价值评估

的质量和效率。

总评:58.0


该专利价值中等 (仅供参考)

        该专利的技术、经济、法律价值经系统自动评估后的总评得分处于平均水平,可以重点研究利用其技术价值,根据法律价值的评估结果选择合适的使用借鉴方式。
        本专利文献中包含【2 个技术分类】,从一定程度上而言上述指标的数值越大可以反映出所述专利的技术保护及应用范围越广。 【专利权的维持时间11 年】专利权的维持时间越长,其价值对于权利人而言越高。

技术价值    30.0

该指标主要从专利申请的著录信息、法律事件等内容中挖掘其技术价值,专利类型、独立权利要求数量、无效请求次数等内容均可反映出专利的技术性价值。 技术创新是专利申请的核心,若您需要进行技术借鉴或寻找可合作的项目,推荐您重点关注该指标。

部分指标包括:

授权周期(发明)

3 个月

独立权利要求数量

0 个

从属权利要求数量

0 个

说明书页数

0 页

实施例个数

0 个

发明人数量

5 个

被引用次数

0 次

引用文献数量

0 个

优先权个数

0 个

技术分类数量

2 个

无效请求次数

0 个

分案子案个数

0 个

同族专利数

0 个

专利获奖情况

保密专利的解密

经济价值    6.0

该指标主要指示了专利技术在商品化、产业化及市场化过程中可能带来的预期利益。 专利技术只有转化成生产力才能体现其经济价值,专利技术的许可、转让、质押次数等指标均是其经济价值的表征。 因此,若您希望找到行业内的运用广泛的热点专利技术及侵权诉讼中的涉案专利,推荐您重点关注该指标。

部分指标包括:

申请人数量

1

申请人类型

机关团体

许可备案

0 次

权利质押

0 次

权利转移

0 个

海关备案

法律价值    22.0

该指标主要从专利权的稳定性角度评议其价值。专利权是一种垄断权,但其在法律保护的期间和范围内才有效。 专利权的存续时间、当前的法律状态可反映出其法律价值。故而,若您准备找寻权属稳定且专利权人非常重视的专利技术,推荐您关注该指标。

部分指标包括:

存活期/维持时间

11

法律状态

有权-审定授权