【中国实用新型】局部麻醉范围测定器

无权-期满终止 中国

授权公告日/公开日:
2015.10.14
专利有效期:
2015.02.12-2025.02.12
技术分类:
A61:医学或兽医学;卫生学
转化方式:
转让
价值度指数:
63.0分
价格:
面议
8370 0

发布人

南京大学医学院附属鼓楼医院

联系人

13700000002
  • 专利信息&法律状态
  • 专利自评
  • 专利技术文档
  • 价值度指数
  • 发明人阵容

著录项

申请号
CN201520107336.8
申请日
20150212
公开/公告号
CN204698513U
公开/公告日
20151014
申请/专利权人
[南京大学医学院附属鼓楼医院]
发明/设计人
[荣辉, 马正良, 顾小萍, 高宏]
主分类号
A61B5/00
IPC分类号
C12N 9/0008(2013.01) C12N 9/16
CPC分类号
C12N 9/0008(2013.01) C12N 9/16(2013.01)
分案申请地址
国省代码
江苏(32)
颁证日
G06T1/00
代理人
[孙鸥, 朱杰]

摘要

本实用新型涉及一种局部麻醉范围测定器。本实用新型将监测探头经延长管连接切换器,切换器连接注射器;所述监测探头有多个,且其中有水囊连通延长管;所述延长管分别连通切换器上的多个外周接口且一一对应;所述注射器的接头连通切换器的中央接口。本实用新型克服了现有针刺法和电击法存在的各自缺陷。本实用新型切换器的使用可保证注射器的接口每次只选择性地与一路相通而与其他通路不通,即每次只选择性刺激一个部位的皮肤,保证测定结果精确,安全无创、无伤害,避免了电击法带来的灼伤、呼吸困难、肌肉抽搐、心跳骤停可能,连续监测麻醉平面,冰、热觉刺激均可实行,可在骨科、神经内外科的痛觉平面的测定方面应用。

法律状态

法律状态公告日 20250228
法律状态 专利权的终止
法律状态信息 专利权有效期届满
IPC(主分类):A61B 5/00
专利号:ZL2015201073368
申请日:20150212
授权公告日:20151014
终止日期:
法律状态公告日 20151014
法律状态 授权
法律状态信息 授权
暂无数据

权利要求

权利要求数量(10

独立权利要求数量(1

1.局部麻醉范围测定器,其特征在于监测探头经延长管连接切换器,切换器连接注射器;所述监测探头有多个,且其中有水囊连通延长管;所述延长管分别连通切换器上的多个外周接口且一一对应;所述注射器的接头连通切换器的中央接口。

2.根据权利要求1所述的局部麻醉范围测定器,其特征在于所述监测探头从上到下分别是接口、保温层、水囊、粘胶,整个水囊除了底面以外均被保温层包裹在内,水囊为导热材质,底面保温层附有粘胶,水囊底面与粘胶共同构成监测探头的底面,且底面保温层与水囊底面及粘胶密闭连接。

3.根据权利要求1所述的局部麻醉范围测定器,其特征在于所述切换器的外壳密闭包裹芯,外壳的上部为旋钮指针、中央接口,且旋钮指针尾部固定在中央接口的外壁上,外壳底部空腔内面固定有实体轴,与芯底部的凹槽吻合,外壳上设置多个外周接口,与延长管的右游离端一一连接,芯内部有“L”形通道,上端为中央接口的延续,下端空腔与相应的外周接口密闭连通。

9.根据权利要求3所述的局部麻醉范围测定器,其特征在于所述外壳密闭包裹芯材质为弹性橡胶,内部为保温材质。

4.根据权利要求1所述的局部麻醉范围测定器,其特征在于所述注射器的针筒的壁分两层,分别是内壁和外壁,两者之间为密闭空腔。

5.根据权利要求4所述的局部麻醉范围测定器,其特征在于所述注射器的密闭空腔内或抽真空,或注入一半容积的生理盐水。

6.根据权利要求1所述的局部麻醉范围测定器,其特征在于所述监测探头的数量与切换器上的外周接口数量相同。

7.根据权利要求1所述的局部麻醉范围测定器,其特征在于所述监测探头连通导管,导管连通延长管。

8.根据权利要求1所述的局部麻醉范围测定器,其特征在于所述延长管外周设有保温层。

10.根据权利要求1或4所述的局部麻醉范围测定器,其特征在于所述注射器在注入一半容积的生理盐水时注射器活塞内设置恒温加热装置。

1.局部麻醉范围测定器,其特征在于监测探头经延长管连接切换器,切换器连接注射器;所述监测探头有多个,且其中有水囊连通延长管;所述延长管分别连通切换器上的多个外周接口且一一对应;所述注射器的接头连通切换器的中央接口。

2.根据权利要求1所述的局部麻醉范围测定器,其特征在于所述监测探头从上到下分别是接口、保温层、水囊、粘胶,整个水囊除了底面以外均被保温层包裹在内,水囊为导热材质,底面保温层附有粘胶,水囊底面与粘胶共同构成监测探头的底面,且底面保温层与水囊底面及粘胶密闭连接。

3.根据权利要求1所述的局部麻醉范围测定器,其特征在于所述切换器的外壳密闭包裹芯,外壳的上部为旋钮指针、中央接口,且旋钮指针尾部固定在中央接口的外壁上,外壳底部空腔内面固定有实体轴,与芯底部的凹槽吻合,外壳上设置多个外周接口,与延长管的右游离端一一连接,芯内部有“L”形通道,上端为中央接口的延续,下端空腔与相应的外周接口密闭连通。

4.根据权利要求1所述的局部麻醉范围测定器,其特征在于所述注射器的针筒的壁分两层,分别是内壁和外壁,两者之间为密闭空腔。

5.根据权利要求4所述的局部麻醉范围测定器,其特征在于所述注射器的密闭空腔内或抽真空,或注入一半容积的生理盐水。

6.根据权利要求1所述的局部麻醉范围测定器,其特征在于所述监测探头的数量与切换器上的外周接口数量相同。

7.根据权利要求1所述的局部麻醉范围测定器,其特征在于所述监测探头连通导管,导管连通延长管。

8.根据权利要求1所述的局部麻醉范围测定器,其特征在于所述延长管外周设有保温层。

9.根据权利要求3所述的局部麻醉范围测定器,其特征在于所述外壳密闭包裹芯材质为弹性橡胶,内部为保温材质。

10.根据权利要求1或4所述的局部麻醉范围测定器,其特征在于所述注射器在注入一半容积的生理盐水时注射器活塞内设置恒温加热装置。

说明书

技术领域

本实用新型涉及医疗器械领域,具体涉及一种局部麻醉范围测定器。

背景技术

在本实用新型发明之前,现有临床上实施椎管内麻醉或神经阻滞麻醉后,判断麻醉平面的方法主要有:针刺法和电击法。前者常用锐利的针头试探患者皮肤,其不足之处有:1.有刺破医患皮肤危险,为血液传染病建立传播渠道,尤其增加医患对丙型肝炎、艾滋病等疾病的恐慌;2.针刺患者增加患者心理恐惧负担,这一矛盾在对锐器恐惧症人群尤为明显;3.执行者力度不易掌握,刺激强度不能量化,不能客观比对麻醉范围;电击法常用放电工具对皮肤进行释放“安全”电流达到刺激皮肤目的,电击时人体通过的电流强度决定是否造成机体损伤,一般情况下,频率50~60Hz的电流通过人体时,电流强度1mA即有感觉,8~12mA有刺痛感。但是,超过20mA可导致肌肉收缩、局部烧伤、呼吸困难、甚至心跳骤停。多年临床观察发现,缺乏科学有效的术中监测麻醉平面办法,通常的实际做法是麻醉者掀起手术无菌巾单徒手捏掐患者皮肤,这无疑会妨碍手术者操作,也违反了无菌原则,有增加术后感染的风险,临床上因此而引发术后感染的案例不在少数。

发明内容

本实用新型发明的目的就在于克服上述缺陷,研制一种局部麻醉范围测定器。

本实用新型的技术方案是:

局部麻醉范围测定器,其主要技术特征在于监测探头经延长管连接切换器,切换器连接注射器;所述监测探头有多个,且其中有水囊连通延长管;所述延长管分别连通切换器上的多个外周接口且一一对应;所述注射器的接头连通切换器的中央接口。

所述监测探头从上到下分别是接口、保温层、水囊、粘胶,整个水囊除了底面以外均被保温层包裹在内,水囊为导热材质,底面保温层附有粘胶,水囊底面与粘胶共同构成监测探头的底面,且底面保温层与水囊底面及粘胶密闭连接。

所述切换器的外壳密闭包裹芯,外壳的上部为旋钮指针、中央接口,且旋钮指针尾部固定在中央接口的外壁上,外壳底部空腔内面固定有实体轴,与芯底部的凹槽吻合,外壳上设置多个外周接口,与延长管的右游离端一一连接,芯内部有“L”形通道,上端为中央接口的延续,下端空腔与相应的外周接口密闭联通。

所述注射器的针筒的壁分两层,分别是内壁和外壁,两者之间为密闭空腔。

所述注射器的密闭空腔内或抽真空,或注入一半容积的生理盐水。

所述监测探头的数量与切换器上的外周接口数量相同。

所述监测探头连通导管,导管连通延长管。

所述延长管外周设有保温层。

所述芯表层材质为弹性橡胶,内部为保温材质。

所述注射器在注入一半容积的生理盐水时注射器活塞内设置恒温加热装置。

本实用新型的有益效果是:1.测定结果精确,冰水感觉平面与痛觉的平面一致,确保了测量平面方法的精确性,连续快速切换冰水加上注射器的温度补偿作用,保证探头温度恒定,实现0℃的可比性冷觉刺激,确保了温度刺激的精确性,切换器的使用可保证注射器的接口每次只选择性地与一路相通而与其他通路不通,即每次只选择性刺激一个部位的皮肤,保证了刺激部位的精准;2.安全无创、无伤害:冰水或热水注入黏附在皮肤上的探头水囊后,冷觉或热觉刺激皮肤避免了针刺法带来的刺破皮肤的可能,避免了电击法带来的灼伤、呼吸困难、肌肉抽搐、心跳骤停可能,具有更广的适用人群(如小儿、老年人、怕痛人群、复合多种基础疾病的病人)。3.连续监测麻醉平面:临床上连续监测的办法是掀起无菌中单徒手捏掐拟麻醉部位,这会造成手术部位感染嫌疑,还有可能干扰手术操作,不利于麻醉手术的相互配合,而本实用新型在整个手术期间黏贴于患者皮肤,在术中通过对注射器简单的推注、抽吸、切换通道实现随时对各个探头部位的皮肤刺激,得出平面测试结果;4.热觉刺激功能:60℃热水一样适用于本实用新型,只需接通电源,电阻丝可由恒温装置保证注射器内的水温一直保持60℃,更适合长时间手术的麻醉监测,监测指标为热觉;5.除麻醉科外,可以在骨科、神经内外科的痛觉平面的测定,会有意想不到的的效果,值得推广。

附图说明

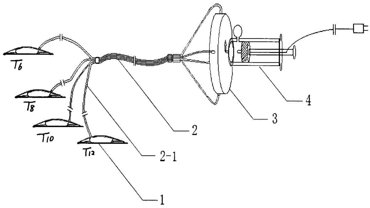
图1——本实用新型结构原理示意图;

图2——本实用新型监测探头的侧面结构图;

图3——本实用新型监测探头底面的平面图;

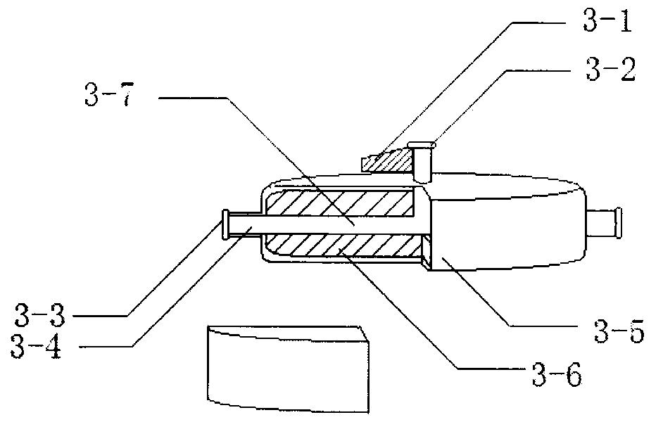
图4——本实用新型切换器的断层结构图;

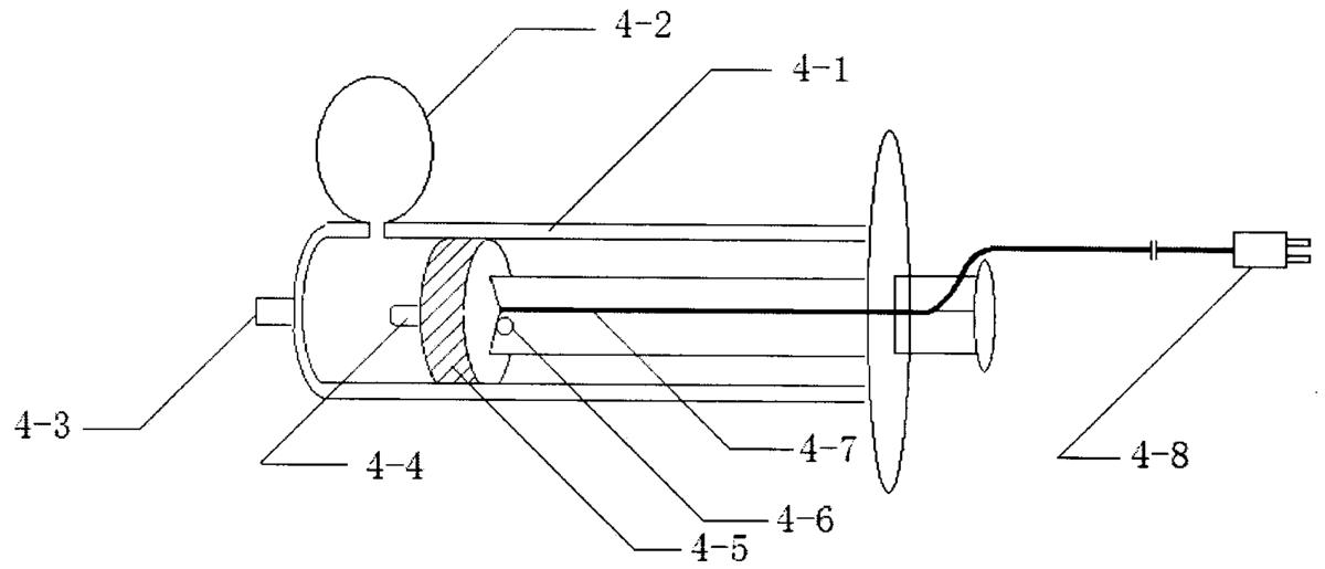
图5——本实用新型注射器直观立体图结构;

图中各标号表示对应的部件名称如下:

监测探头1(水囊1-1、粘胶1-2、接口1-3、保温层1-4);延长管2(2-1导管);切换器3(旋钮指针3-1、中央接口3-2、外周接口3-3、接口空腔3-4、外壳3-5、芯3-6、“L”形通道3-7);注射器4(4-1空腔、4-2气球、4-3接头、4-4电阻丝、4-5活塞、4-6小灯泡、4-7导线、4-8插头)。

具体实施方式

具体实施方式:

下面结合以下附图对本实用新型做进一步说明。

本实用新型的具体实施方案:

本实用新型由监测探头1、延长管2、切换器3、注射器4构成。

如图1所示,从左到右,监测探头1、延长管2、切换器3、注射器4依次相连,其中监测探头接口1-3与延长管左端的导管2-1接头、延长管右端的导管接头与切换器的多路外周接口3-3、中央接口3-2与注射器接头4-3均为可拆卸式紧密连接。

监测探头1由水囊1-1、粘胶1-2、保温层1-4、接口1-3构成。整个水囊除了底面以外均被保温层包裹在内,水囊为导热材质,其底面和四周的底面保温层一同构成探头的底面,且连接处紧密结合不可分离,以确保水囊只从底面向接触处的皮肤传导刺激,不会意外散失能量,底面保温层上附有一层粘胶,用于粘贴在监测部位的皮肤,水囊向上延续的接头外周也有保温层保护,可以与延长管导管接头相接合。

延长管2由多路导管2-1汇合而成,图1中以四路为例,又在两端拆分为四路单项导管,左、右两端的导管末端均有接头,分别与探头接口1-3和切换器的外周接口3-3可拆卸式紧密相接合。整个延长管类似于普通延长管,但改进处为:其外周均有保温层保护,以减少使用时的通路内能量散失,从而确保通道内温度的精确性。延长管2的左右端的多路导管如图从上到下分别标有T6、T8、T10、T12与切换器上标有的T6、T8、T10、T12一一对应,以保证通路控制的精确性。

切换器3由外壳3-5和芯3-6构成,外壳从外面包裹芯,且两者接触部位相切,外壳底部空腔内面固定有实体轴,与芯底部的凹槽吻合,芯可以在外壳内自由转动,芯表面附有弹性橡胶材质,封闭了芯与外壳内面接触面的狭小间隙,保证了旋转过程中接触面不会意外漏水,芯内有“L”形通道3-7,该通道外面为保温材质保护,保证通道在输送水时,最大程度减少了能量散失,通道上端与中央接口3-2相通且为一体结构,中央接口上固定有旋钮指针3-1,当旋转旋钮指针3-1时,下面的芯随着一并旋转,指针指向外周接口3-3方向时,“L”形通道的水平末端每次只与外周接口3-3中的一个接口相通,从而联通注射器-中央接口-“L”形通道-外周接口-延长管-水囊,而剩余外周接口与之不通;当旋钮指针指向非外周接口方向时,“L”形通道与所有外周接口均不通,此为关闭所有通路状态。

注射器4由针筒和芯构成,如图5所示,但其在传统注射器基础上做了如下改进:1)针筒为内外双层密闭设计,且留有一小孔通道与外面的气球4-2相通,连接处为紧密连接且不可拆分;2)芯从左到右为电阻丝4-4、活塞4-5及内部恒温装置、小灯泡4-6、柄及伴行的导线4-7、插头4-8,构成加热装置。其中,活塞的左端为电阻丝,右端为小灯泡,内部有恒温装置。如若空腔4-1抽成真空,适用于热水法监测,加热过程中起保温作用;如若空腔内盛装有一半生理盐水,适用于冰水法监测,冷冻后不至于针筒膨胀变形,起到使用中补偿负能量作用;加热装置工作时外壁上的气球可确保暂时排出多余热气,起到减压作用,恒温装置为现有结构仅作简单功效描述,当水温达到60℃时,电阻丝停止加热,小灯泡亮绿灯,待低于60℃时,继续加热至60℃,保证无论经历多长时间通路内的水均为60℃,此温度补偿装置保证了温度刺激的精准,此适用于热水刺激法。

使用本实用新型监测麻醉平面时,在椎管内麻醉实施前完成如图1的连接及如下预备工作。

本实用新型应用过程说明:

本实用新型适用于冰水及热水刺激法测试,不论在有无通电,还是有无冰水的情况下均可以使用。

实施例1:

冰水刺激法测试

由麻醉者将如图1的四个监测探头1按从上到下的顺序依次贴于手术患者目标监测区域皮肤(T6、T8、T10、T12)。注:T6、T8、T10、T12分别代表患者的胸椎6、8、10、12水平部位的皮肤。

进行监测平面时,注射器接头连接中央接口,如前所述,此时注射器针筒内外壁空腔内有一半容积的生理盐水,且事先经过冷冻处理,针筒内备有冰水(1)选择通路:将切换器指针3-1旋至T12方向,则注射器经T12通道与T12区域的水囊相通,而与剩余通路及水囊均不通(排气及封堵外壁开口不再详述)推注冰水10ml,完成一次冷觉刺激,麻醉者通过患者的感觉表述可以了解麻醉平面是否到达监测部位。如欲接着了解其他监测部位的感觉,(2)切换通路:抽尽水囊内的水,旋转指针至T10,则注射器经T10通道与T10区域的水囊相通,而与剩余通路均不通,后续刺激过程同上。如若结束监测过程,(3)关闭通路:抽尽通道内的冰水,将指针旋至任意一个非外周接口方向,即就可以关闭所有通路。通过以上一组的监测结果,麻醉者即可判断当前麻醉平面范围。对麻醉者而言,此不仅用于单次腰麻后切皮前的监测,也可用于术中间隔一定时间的连续监测。具体操作中,麻醉者可依需要适时更换针筒内冰水。

实施例2:

热水刺激法测试,其具体操作过程如下:

如前所述,此时注射器针筒内外壁空腔为真空,如前面的冰水刺激法,注射器抽取10ml水后,其连接部位及监测探头粘贴部位同上所述,麻醉者将插头通电,如图5活塞右边的小灯泡显示红色,待加温一会后活塞上的灯变绿,提示针筒内水温已达到60℃,即可以使用,选择通路、切换通路、关闭通路过程均同前所述,此适合于更长时间手术的麻醉监测,由于整个通路均有保温层减少了操作过程的温度丧失,加上活塞内的恒温装置对整个通路进行温度补偿,所以此发明使用时,不会随着手术时间的延长而影响热水刺激法监测的效果。

本实用新型为多监测探头多通路设计,以上示例的均为四通道,如制作成三个监测探头、三通路时,三个监测探头1分别依次贴在目标麻醉范围内,以及位于该麻醉范围上、下的两个预警区域,若手术中麻醉平面达预期范围且稳定时,在上下预警区进行冷觉刺激,则患者无冷觉反应;当麻醉平面减退时,上预警区域则能感受到冷觉,此时麻醉者对患者的硬膜外进行加药可做到及时与合理,避免了经验用药时间安排及用药量上的不合理以及对麻醉平面的误判。

综上,本实用新型有利于减少麻醉意外和随之的医患矛盾,长远看来有利于降低麻醉者的过重的工作精神负担、有利于改善麻醉者的工作环境和促进和谐医疗的发展。

价值度评估

技术价值

经济价值

法律价值

0 0 0

63.0

0 50 75 100
0~50 50~75 75~100 价值较低 中等价值 价值较高

专利价值度是通过科学的评估模

型对专利价值进行量化的结果,

基于专利大数据针对专利总体特

征指标利用计算机自动化技术对

待评估专利进行高效、智能化的

分析,从技术、经济和法律价值

三个层面构建专利价值评估体

系,可以有效提升专利价值评估

的质量和效率。

总评:63.0


该专利价值中等 (仅供参考)

        该专利的技术、经济、法律价值经系统自动评估后的总评得分处于平均水平,可以重点研究利用其技术价值,根据法律价值的评估结果选择合适的使用借鉴方式。
        本专利文献中包含【1 个技术分类】,从一定程度上而言上述指标的数值越大可以反映出所述专利的技术保护及应用范围越广。 【被引用次数1 次】专利被引次数越多越能能够体现出该专利在相关技术领域研发中所发挥的基础性作用,代表着专利公开的内容有更多的产业利用价值。 【专利权的维持时间10 年】专利权的维持时间越长,其价值对于权利人而言越高。

技术价值    32.0

该指标主要从专利申请的著录信息、法律事件等内容中挖掘其技术价值,专利类型、独立权利要求数量、无效请求次数等内容均可反映出专利的技术性价值。 技术创新是专利申请的核心,若您需要进行技术借鉴或寻找可合作的项目,推荐您重点关注该指标。

部分指标包括:

授权周期(发明)

8 个月

独立权利要求数量

0 个

从属权利要求数量

0 个

说明书页数

4 页

实施例个数

0 个

发明人数量

4 个

被引用次数

1 次

引用文献数量

1 个

优先权个数

0 个

技术分类数量

1 个

无效请求次数

0 个

分案子案个数

0 个

同族专利数

0 个

专利获奖情况

保密专利的解密

经济价值    6.0

该指标主要指示了专利技术在商品化、产业化及市场化过程中可能带来的预期利益。 专利技术只有转化成生产力才能体现其经济价值,专利技术的许可、转让、质押次数等指标均是其经济价值的表征。 因此,若您希望找到行业内的运用广泛的热点专利技术及侵权诉讼中的涉案专利,推荐您重点关注该指标。

部分指标包括:

申请人数量

1

申请人类型

机关团体

许可备案

0 次

权利质押

0 次

权利转移

0 个

海关备案

法律价值    25.0

该指标主要从专利权的稳定性角度评议其价值。专利权是一种垄断权,但其在法律保护的期间和范围内才有效。 专利权的存续时间、当前的法律状态可反映出其法律价值。故而,若您准备找寻权属稳定且专利权人非常重视的专利技术,推荐您关注该指标。

部分指标包括:

存活期/维持时间

10

法律状态

无权-期满终止