【中国实用新型】支气管镜检查样本转运箱

无权-未缴年费 中国

申请号:
CN201520840504.4
专利权人:
无锡市第二人民医院
授权公告日/公开日:
2016.03.23
专利有效期:
2015.10.27-2025.10.27
技术分类:
B65:输送;包装;贮存;搬运薄的或细丝状材料
转化方式:
转让
价值度指数:
54.0分
价格:
面议
3405 0

发布人

无锡市第二人民医院

联系人

13700000001
  • 专利信息&法律状态
  • 专利自评
  • 专利技术文档
  • 价值度指数
  • 发明人阵容

著录项

申请号
CN201520840504.4
申请日
20151027
公开/公告号
CN205098723U
公开/公告日
20160323
申请/专利权人
[无锡市第二人民医院]
发明/设计人
[王洵, 赵弘卿, 冯金萍, 鲍亮, 钱晓军, 钱洪献, 刘玲]
主分类号
B65D81/18
IPC分类号
C12N 9/0008(2013.01) C12N 9/16
CPC分类号
C12N 9/0008(2013.01) C12N 9/16(2013.01)
分案申请地址
国省代码
江苏(32)
颁证日
G06T1/00
代理人
[殷红梅, 张涛]

摘要

本实用新型涉及一种转运箱,尤其是一种支气管镜检查样本转运箱,属于医疗器械的技术领域。按照本实用新型提供的技术方案,所述支气管镜检查样本转运箱,包括样本放置箱以及位于所述样本放置箱内可拆卸的样本放置板,所述样本放置板内设有贯通所述样本放置板的载玻片放置槽,所述载玻片放置槽内设有若干用于载玻片插置的载玻片插槽。本实用新型结构紧凑,确保支气管镜采集样本运输中的可靠性,降低采集运输成本。

法律状态

法律状态公告日 20241025
法律状态 专利权的终止
法律状态信息 未缴年费专利权终止
IPC(主分类):B65D 81/18
专利号:ZL2015208405044
申请日:20151027
授权公告日:20160323
终止日期:
法律状态公告日 20160323
法律状态 授权
法律状态信息 授权
暂无数据

权利要求

权利要求数量(8

独立权利要求数量(1

1.一种支气管镜检查样本转运箱,其特征是:包括样本放置箱(7)以及位于所述样本放置箱内可拆卸的样本放置板(11),所述样本放置板(11)内设有贯通所述样本放置板(11)的载玻片放置槽(16),所述载玻片放置槽(16)内设有若干用于载玻片插置的载玻片插槽(17)。

2.根据权利要求1所述的支气管镜检查样本转运箱,其特征是:所述样本放置箱(7)包括放置箱体(8)以及与所述放置箱体(8)匹配的放置箱盖(9),在所述放置箱体(8)的内壁上设置用于支撑样本放置板(11)的放置板支撑条(10);在放置箱体(8)的箱底设有吸附垫,吸附垫位于样本放置板(11)的正下方。

6.根据权利要求2所述的支气管镜检查样本转运箱,其特征是:所述放置箱盖(9)为透明盖,且在所述放置箱盖(9)上设置用于粘附标签的标签粘附区。

3.根据权利要求1所述的支气管镜检查样本转运箱,其特征是:所述样本放置板(11)具有折弯部,样本放置板(11)通过折弯部形成用于瓶放置的瓶放置区(12)以及用于载玻片放置的载玻片放置区(13),载玻片放置槽(16)形成于载玻片放置区(13)内,且载玻片放置区(13)位于瓶放置区(12)的下方。

4.根据权利要求3所述的支气管镜检查样本转运箱,其特征是:在所述瓶放置区(12)内设有灌洗液收集瓶放置孔(14)以及病理样本瓶放置孔(15)。

5.根据权利要求4所述的支气管镜检查样本转运箱,其特征是:所述瓶放置区(12)内有两个灌洗液收集瓶放置孔(14)以及三个病理样本瓶放置孔(15),灌洗液收集瓶放置孔(14)的孔径为2.5cm,病理样本瓶放置孔(15)的孔径为2cm。

7.根据权利要求1所述的支气管镜检查样本转运箱,其特征是:还包括用于收纳样本放置箱(7)的转运外箱体,在所述转运外箱体内通过隔离墙(4)形成样本转运放置区(6)以及位于所述样本转运放置区(6)外圈的冰袋放置区(5);样本放置箱置于样本转运放置区(6)内。

8.根据权利要求7所述的支气管镜检查样本转运箱,其特征是:所述转运外箱体包括转运箱(1)以及与所述转运箱(1)相匹配的转运箱盖(2),在所述转运箱盖(2)的内侧设置用于温度计放置的温度计放置槽(3),转运箱盖(2)上设置用于观察温度计放置槽(3)内温度计示数的透明观察口。

1.一种支气管镜检查样本转运箱,其特征是:包括样本放置箱(7)以及位于所述样本放置箱内可拆卸的样本放置板(11),所述样本放置板(11)内设有贯通所述样本放置板(11)的载玻片放置槽(16),所述载玻片放置槽(16)内设有若干用于载玻片插置的载玻片插槽(17)。

2.根据权利要求1所述的支气管镜检查样本转运箱,其特征是:所述样本放置箱(7)包括放置箱体(8)以及与所述放置箱体(8)匹配的放置箱盖(9),在所述放置箱体(8)的内壁上设置用于支撑样本放置板(11)的放置板支撑条(10);在放置箱体(8)的箱底设有吸附垫,吸附垫位于样本放置板(11)的正下方。

3.根据权利要求1所述的支气管镜检查样本转运箱,其特征是:所述样本放置板(11)具有折弯部,样本放置板(11)通过折弯部形成用于瓶放置的瓶放置区(12)以及用于载玻片放置的载玻片放置区(13),载玻片放置槽(16)形成于载玻片放置区(13)内,且载玻片放置区(13)位于瓶放置区(12)的下方。

4.根据权利要求3所述的支气管镜检查样本转运箱,其特征是:在所述瓶放置区(12)内设有灌洗液收集瓶放置孔(14)以及病理样本瓶放置孔(15)。

5.根据权利要求4所述的支气管镜检查样本转运箱,其特征是:所述瓶放置区(12)内有两个灌洗液收集瓶放置孔(14)以及三个病理样本瓶放置孔(15),灌洗液收集瓶放置孔(14)的孔径为2.5cm,病理样本瓶放置孔(15)的孔径为2cm。

6.根据权利要求2所述的支气管镜检查样本转运箱,其特征是:所述放置箱盖(9)为透明盖,且在所述放置箱盖(9)上设置用于粘附标签的标签粘附区。

7.根据权利要求1所述的支气管镜检查样本转运箱,其特征是:还包括用于收纳样本放置箱(7)的转运外箱体,在所述转运外箱体内通过隔离墙(4)形成样本转运放置区(6)以及位于所述样本转运放置区(6)外圈的冰袋放置区(5);样本放置箱置于样本转运放置区(6)内。

8.根据权利要求7所述的支气管镜检查样本转运箱,其特征是:所述转运外箱体包括转运箱(1)以及与所述转运箱(1)相匹配的转运箱盖(2),在所述转运箱盖(2)的内侧设置用于温度计放置的温度计放置槽(3),转运箱盖(2)上设置用于观察温度计放置槽(3)内温度计示数的透明观察口。

说明书

技术领域

本实用新型涉及一种转运箱,尤其是一种支气管镜检查样本转运箱,属于医疗器械的技术领域。

背景技术

支气管镜,也称纤维支气管镜(纤支镜)包括可弯曲的软镜及不可弯曲的硬镜,目前被广泛应用于临床呼吸系统疾病的诊断和治疗,适用于做肺叶、段及亚段支气管病变的观察。纤支镜采集的样本种类繁多,可以行活检获得病变部位组织,以进行病理检查和基因学检查,也可以行肺泡灌洗,以获得肺泡灌洗液进行细胞分类计数、细菌学涂片、细菌学培养、淋巴细胞亚群分类检测,同时,获得毛刷刷检样本进行涂片脱落细胞学和细菌学检测等。

支气管镜检查采集临床样本有以下特点:1)、涉及的样本种类多,有液体、固体、涂片等;2)、涉及样本保存要求严格,预处理步骤多,易出错;3)、涉及需送检的科室多,部分检测需送到其他检测中心或医院进行,转运距离长;4)、涉及样本包含细菌等微生物,具有院内感染风险,样本处理液(如甲醛等)具有化学毒性。

目前,由于缺乏专门的转运支气管镜采集临床样本的转运箱,多数医院使用普通转运箱或试管架进行样本转运,试管架与纤支镜专用样本采集管不匹配,容易发生液体样本倾倒流失,样本中的致病微生物(如多重耐药菌、结核杆菌、艾滋病毒、梅毒螺旋体等)播散、有毒化学固定液泄露、转运时间过长温度太高导致样本变质影响检测结果、细菌涂片玻璃片碎裂、转运箱难以消毒等问题,发生这些问题,不但对转运样本人员和周围其他人的健康构成严重威胁,而且损失样本可能导致患者无法明确诊断,或需要再次忍受重新检查的痛苦。

发明内容

本实用新型的目的是克服现有技术中存在的不足,提供一种支气管镜检查样本转运箱,其结构紧凑,确保支气管镜采集样本运输中的可靠性,降低采集运输成本。

按照本实用新型提供的技术方案,所述支气管镜检查样本转运箱,包括样本放置箱以及位于所述样本放置箱内可拆卸的样本放置板,所述样本放置板内设有贯通所述样本放置板的载玻片放置槽,所述载玻片放置槽内设有若干用于载玻片插置的载玻片插槽。

所述样本放置箱包括放置箱体以及与所述放置箱体匹配的放置箱盖,在所述放置箱体的内壁上设置用于支撑样本放置板的放置板支撑条;在放置箱体的箱底设有吸附垫,吸附垫位于样本放置板的正下方。

所述样本放置板具有折弯部,样本放置板通过折弯部形成用于瓶放置的瓶放置区以及用于载玻片放置的载玻片放置区,载玻片放置槽形成于载玻片放置区内,且载玻片放置区位于瓶放置区的下方。

在所述瓶放置区内设有灌洗液收集瓶放置孔以及病理样本瓶放置孔。

所述瓶放置区内有两个灌洗液收集瓶放置孔以及三个病理样本瓶放置孔,灌洗液收集瓶放置孔的孔径为2.5cm,病理样本瓶放置孔的孔径为2cm。

所述放置箱盖为透明盖,且在所述放置箱盖上设置用于粘附标签的标签粘附区。

还包括用于收纳样本放置箱的转运外箱体,在所述转运外箱体内通过隔离墙形成样本转运放置区以及位于所述样本转运放置区外圈的冰袋放置区;样本放置箱置于样本转运放置区内。

所述转运外箱体包括转运箱以及与所述转运箱相匹配的转运箱盖,在所述转运箱盖的内侧设置用于温度计放置的温度计放置槽,转运箱盖上设置用于观察温度计放置槽内温度计示数的透明观察口。

本实用新型的优点:通过在转运箱内设置隔离墙能形成冰袋放置区以及样本转运放置区内,一个或多个样本放置箱置于样本转运放置区内,一个或多个冰袋可以置于冰袋放置区内,从而能保持转运箱内的温度,放置采集样本的变质,通过温度计放置槽放置温度,便于了解温度的变化。每个样本放置箱能将同一患者的多个样本进行存储,防止不同患者样本间的相互污染,在样本放置箱内还可以同时放置灌洗液收集瓶、病理样本瓶以及载玻片,通过样本放置箱内的吸附垫可吸附由于震动或没有拧紧样本品泄露出的灌洗液或样本固定剂,防止微生物和化学物质污染,确保支气管镜采集样本运输中的可靠性,降低采集运输成本。

附图说明

图1为本实用新型的运转状态图。

图2为本实用新型的结构示意图。

图3为本实用新型样本放置板的结构示意图。

附图标记说明:1-转运箱、2-转运箱盖、3-温度计放置槽、4-隔离墙、5-冰袋放置区、6-样本转运放置区、7-样本放置箱、8-放置箱体、9-放置箱盖、10-放置板支撑条、11-样本放置板、12-瓶放置区、13-载玻片放置区、14-灌洗液收集瓶放置孔、15-病理样本瓶放置孔、16-载玻片放置槽以及17-载玻片插槽。

具体实施方式

下面结合具体附图和实施例对本实用新型作进一步说明。

如图2和图3所示:为了确保支气管镜采集样本运输中的可靠性,降低采集运输成本,本实用新型包括样本放置箱7以及位于所述样本放置箱内可拆卸的样本放置板11,所述样本放置板11内设有贯通所述样本放置板11的载玻片放置槽16,所述载玻片放置槽16内设有若干用于载玻片插置的载玻片插槽17。

具体地,支气管镜采集的样本载玻片可以通过载玻片插槽17插入载玻片放置槽16内,多个载玻片放置在载玻片放置槽16内时,载玻片间呈相互平行的状态,且载玻片间相互隔离,不会因接触造成的污染。样本放置板11与样本放置箱7间采用可拆卸的分离结构,便于能对所述样本放置板11进行清洗。

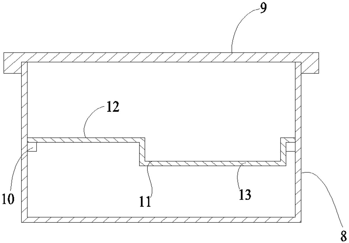
进一步地,所述样本放置箱7包括放置箱体8以及与所述放置箱体8匹配的放置箱盖9,在所述放置箱体8的内壁上设置用于支撑样本放置板11的放置板支撑条10;在放置箱体8的箱底设有吸附垫,吸附垫位于样本放置板11的正下方。

本实用新型实施例中,放置箱体8可以采用方形或其他所需的形状,样本放置板11呈矩形状,放置板支撑条10分布在放置箱体8的内壁上,放置板支撑条10间的距离与样本放置板11相匹配,实现对样本放置板11的支撑,也能方便将样本放置板11从放置箱体8内取出。所述吸附垫可以采用高吸水树脂制成,通过吸附垫可以吸附由于震动或其他情况下泄漏的灌洗液、样本固定剂等,防止微生物和化学物质的污染。所述放置箱盖9为透明盖,且在所述放置箱盖9上设置用于粘附标签的标签粘附区。在所述标签粘附区可以粘附信息标签,所述信息标签上可以注明患者姓名、住院号等信息,以便能够实现对不同患者样本的区分。

所述样本放置板11具有折弯部,样本放置板11通过折弯部形成用于瓶放置的瓶放置区12以及用于载玻片放置的载玻片放置区13,载玻片放置槽16形成于载玻片放置区13内,且载玻片放置区13位于瓶放置区12的下方。

本实用新型实施例中,所述折弯部呈竖直分布,即使得瓶放置区12与载玻片放置区13间相互平行,但瓶放置区12与载玻片放置区13间不再同一个水平面上,载玻片放置区13所在的平面位于瓶放置区12的平面下方。

具体实施时,在所述瓶放置区12内设有灌洗液收集瓶放置孔14以及病理样本瓶放置孔15。所述瓶放置区12内有两个灌洗液收集瓶放置孔14以及三个病理样本瓶放置孔15,灌洗液收集瓶放置孔14的孔径为2.5cm,病理样本瓶放置孔15的孔径为2cm。其中,灌洗液收集瓶放置孔14以及病理样本瓶放置孔15均为圆孔,载玻片放置槽16的宽度为7.5cm,长度为10cm。在载玻片放置槽16内设置若干呈对应分布的凸块,相邻的凸块间能形成载玻片插槽17,插入载玻片插槽17内的载玻片也能通过凸块进行隔离。

如图1所示,还包括用于收纳样本放置箱7的转运外箱体,在所述转运外箱体内通过隔离墙4形成样本转运放置区6以及位于所述样本转运放置区6外圈的冰袋放置区5;样本放置箱置于样本转运放置区6内。

所述转运外箱体包括转运箱1以及与所述转运箱1相匹配的转运箱盖2,在所述转运箱盖2的内侧设置用于温度计放置的温度计放置槽3,转运箱盖2上设置用于观察温度计放置槽3内温度计示数的透明观察口。

本实用新型实施例中,转运箱1可以呈方形或其他所需的形状,隔离墙4位于转运箱1内,隔离墙4可以呈环形或与转运箱1相同的形状,隔离墙4的上端具有开口,在隔离墙4的外壁与转运箱1的内壁见形成冰袋放置区5,通过冰袋放置区5可以放置多个冰袋,以使得转运箱1内的温度达到所需的温度要求。温度计放置槽3位于样本转运放置区6的正上方,温度计可以置入温度计放置槽3内,通过透明观察口能观察温度计放置槽3内温度计的示数,实时了解转运箱1内温度的变化。

本实用新型通过在转运箱1内设置隔离墙4能形成冰袋放置区5以及样本转运放置区6内,一个或多个样本放置箱7置于样本转运放置区6内,一个或多个冰袋可以置于冰袋放置区5内,从而能保持转运箱1内的温度,放置采集样本的变质,通过温度计放置槽3放置温度,便于了解温度的变化。每个样本放置箱7能将同一患者的多个样本进行存储,防止不同患者样本间的相互污染,在样本放置箱7内还可以同时放置灌洗液收集瓶、病理样本瓶以及载玻片,通过样本放置箱7内的吸附垫可吸附由于震动或没有拧紧样本品泄露出的灌洗液或样本固定剂,防止微生物和化学物质污染,确保支气管镜采集样本运输中的可靠性,降低采集运输成本。

价值度评估

技术价值

经济价值

法律价值

0 0 0

54.0

0 50 75 100
0~50 50~75 75~100 价值较低 中等价值 价值较高

专利价值度是通过科学的评估模

型对专利价值进行量化的结果,

基于专利大数据针对专利总体特

征指标利用计算机自动化技术对

待评估专利进行高效、智能化的

分析,从技术、经济和法律价值

三个层面构建专利价值评估体

系,可以有效提升专利价值评估

的质量和效率。

总评:54.0


该专利价值中等 (仅供参考)

        该专利的技术、经济、法律价值经系统自动评估后的总评得分处于平均水平,可以重点研究利用其技术价值,根据法律价值的评估结果选择合适的使用借鉴方式。
        本专利文献中包含【2 个技术分类】,从一定程度上而言上述指标的数值越大可以反映出所述专利的技术保护及应用范围越广。 【专利权的维持时间9 年】专利权的维持时间越长,其价值对于权利人而言越高。

技术价值    29.0

该指标主要从专利申请的著录信息、法律事件等内容中挖掘其技术价值,专利类型、独立权利要求数量、无效请求次数等内容均可反映出专利的技术性价值。 技术创新是专利申请的核心,若您需要进行技术借鉴或寻找可合作的项目,推荐您重点关注该指标。

部分指标包括:

授权周期(发明)

4 个月

独立权利要求数量

0 个

从属权利要求数量

0 个

说明书页数

4 页

实施例个数

0 个

发明人数量

7 个

被引用次数

0 次

引用文献数量

0 个

优先权个数

0 个

技术分类数量

2 个

无效请求次数

0 个

分案子案个数

0 个

同族专利数

0 个

专利获奖情况

保密专利的解密

经济价值    6.0

该指标主要指示了专利技术在商品化、产业化及市场化过程中可能带来的预期利益。 专利技术只有转化成生产力才能体现其经济价值,专利技术的许可、转让、质押次数等指标均是其经济价值的表征。 因此,若您希望找到行业内的运用广泛的热点专利技术及侵权诉讼中的涉案专利,推荐您重点关注该指标。

部分指标包括:

申请人数量

1

申请人类型

机关团体

许可备案

0 次

权利质押

0 次

权利转移

0 个

海关备案

法律价值    19.0

该指标主要从专利权的稳定性角度评议其价值。专利权是一种垄断权,但其在法律保护的期间和范围内才有效。 专利权的存续时间、当前的法律状态可反映出其法律价值。故而,若您准备找寻权属稳定且专利权人非常重视的专利技术,推荐您关注该指标。

部分指标包括:

存活期/维持时间

9

法律状态

无权-未缴年费