【中国实用新型】利器保护套

无权-期满终止 中国

授权公告日/公开日:
2015.12.09
专利有效期:
2015.06.15-2025.06.15
技术分类:
A61:医学或兽医学;卫生学
转化方式:
转让
价值度指数:
59.0分
价格:
面议
8628 0

发布人

南京大学医学院附属鼓楼医院

联系人

13700000002
  • 专利信息&法律状态
  • 专利自评
  • 专利技术文档
  • 价值度指数
  • 发明人阵容

著录项

申请号
CN201520410002.8
申请日
20150615
公开/公告号
CN204839739U
公开/公告日
20151209
申请/专利权人
[南京大学医学院附属鼓楼医院]
发明/设计人
[苏静, 俞玲]
主分类号
A61B19/00
IPC分类号
C12N 9/0008(2013.01) C12N 9/16
CPC分类号
C12N 9/0008(2013.01) C12N 9/16(2013.01)
分案申请地址
国省代码
中国,CN,江苏(32)
颁证日
G06T1/00
代理人
[戴朝荣]

摘要

本实用新型涉及一种利器保护套,包括一张长方形的卡纸,在所述的卡纸的中部剪出两个平行的圆孔,所述的两个圆孔平行于长方形的短边,在圆孔下方剪出一个矩形缺口,将剪刀放在该利器保护套内时,剪刀的刀刃部从卡纸的矩形缺口的下侧穿出到卡纸的上侧,两个刀刃尖端再从两个平行的圆孔穿出到卡纸的下侧,卡纸的上半部的一部分向卡纸下侧折叠,遮住两个刀刃尖端。本实用新型的利器保护套既有效地保护了锐器,又不易松散脱落戳破包装袋,保证了其灭菌物品的完整性及有效性;可用于除普通剪刀外的多种利器的保护,适用范围更广泛;另外能批量生产,原来用于准备保护套的时间现在可以用于其他更重要的工作。

法律状态

法律状态公告日 20250701
法律状态 专利权的终止
法律状态信息 专利权有效期届满
IPC(主分类):A61B 19/00
专利号:ZL2015204100028
申请日:20150615
授权公告日:20151209
终止日期:
法律状态公告日 20151209
法律状态 授权
法律状态信息 授权
暂无数据

权利要求

权利要求数量(6

独立权利要求数量(1

1.一种利器保护套,其特征在于:包括一张长方形的卡纸,在所述的卡纸的中部剪出两个平行的圆孔,所述的两个圆孔平行于长方形的短边,在圆孔下方剪出一个矩形缺口,将剪刀放在该利器保护套内时,剪刀的刀刃部从卡纸的矩形缺口的下侧穿出到卡纸的上侧,两个刀刃尖端再从两个平行的圆孔穿出到卡纸的下侧,卡纸最上端的一部分向卡纸下侧折叠,使该向下侧折叠的部分卡纸能够遮住剪刀的两个刀刃尖端。

2.如权利要求1所述的利器保护套,其特征在于:两个圆孔间相距1cm。

3.如权利要求1所述的利器保护套,其特征在于:还包括配合使用的医用纸塑袋,所述的卡纸包覆剪刀后放入医用纸塑袋内。

4.如权利要求1所述的利器保护套,其特征在于:在所述的向下侧折叠的部分卡纸与剪刀接触的面上设置耐磨部。

5.如权利要求4所述的利器保护套,其特征在于:所述的耐磨部为在向下侧折叠的部分卡纸与剪刀接触的面上黏贴耐磨材料。

6.如权利要求4所述的利器保护套,其特征在于:所述的耐磨材料为耐磨橡胶。

1.一种利器保护套,其特征在于:包括一张长方形的卡纸,在所述的卡纸的中部剪出两个平行的圆孔,所述的两个圆孔平行于长方形的短边,在圆孔下方剪出一个矩形缺口,将剪刀放在该利器保护套内时,剪刀的刀刃部从卡纸的矩形缺口的下侧穿出到卡纸的上侧,两个刀刃尖端再从两个平行的圆孔穿出到卡纸的下侧,卡纸最上端的一部分向卡纸下侧折叠,使该向下侧折叠的部分卡纸能够遮住剪刀的两个刀刃尖端。

2.如权利要求1所述的利器保护套,其特征在于:两个圆孔间相距1cm。

3.如权利要求1所述的利器保护套,其特征在于:还包括配合使用的医用纸塑袋,所述的卡纸包覆剪刀后放入医用纸塑袋内。

4.如权利要求1所述的利器保护套,其特征在于:在所述的向下侧折叠的部分卡纸与剪刀接触的面上设置耐磨部。

5.如权利要求4所述的利器保护套,其特征在于:所述的耐磨部为在向下侧折叠的部分卡纸与剪刀接触的面上黏贴耐磨材料。

6.如权利要求4所述的利器保护套,其特征在于:所述的耐磨材料为耐磨橡胶。

说明书

技术领域

本实用新型涉及一种利器保护套,属于医用器械领域。

背景技术

医院供应室每天有大量的剪刀、镊子等利器需要使用医用纸塑袋进行包装后灭菌处理,由于尖端锋利,因此常出现医用纸塑袋戳破的现象,失去灭菌效果,无法使用。在现有技术中,常用一次性使用输液器手工剪出长约1.5cm的一截,套在剪刀尖端,这样可以保护尖端对医用纸塑袋的损坏。但这种锐器保护套,灭菌受热后变硬,经常从剪刀尖端脱落,失去保护作用;因物件小,工作人员在操作过程中,易发生刺伤。

发明内容

本实用新型要解决的技术问题是现有的利器保护套常用一次性使用输液器手工剪出的一截,这种锐器保护套,灭菌受热后变硬,经常从剪刀尖端脱落,失去保护作用;因物件小,工作人员在操作过程中,易发生刺伤的问题。

为解决上述技术问题,本实用新型提供的技术方案是:

一种利器保护套,包括一张长方形的卡纸,在所述的卡纸的中部剪出两个平行的圆孔,所述的两个圆孔平行于长方形的短边,在圆孔下方剪出一个矩形缺口,将剪刀放在该利器保护套内时,剪刀的刀刃部从卡纸的矩形缺口的下侧穿出到卡纸的上侧,两个刀刃尖端再从两个平行的圆孔穿出到卡纸的下侧,卡纸最上端的一部分向卡纸下侧折叠,使该向下侧折叠的部分卡纸能够遮住剪刀的两个刀刃尖端。

两个圆孔间相距1cm。

还包括配合使用的医用纸塑袋,所述的卡纸包覆剪刀后放入医用纸塑袋内。

进一步的,在所述的向下侧折叠的部分卡纸与剪刀接触的面上设置耐磨部。所述的耐磨部为在向下侧折叠的部分卡纸与剪刀接触的面上黏贴耐磨材料。

优选的,所述的耐磨材料为耐磨橡胶。

有益效果:

本实用新型的利器保护套在之前使用的保护套基础上改进,将材料换成卡纸,制作成的一个长方形,中间有两个小圆孔,上端为反折部分,下端是一个矩形缺口,两个小圆孔间的距离,既考虑轴节器械不完全锁闭的灭菌要求,又要使被固定后剪刀整体宽度不超出10cm,这样工作人员就能很容易地将剪刀放入固定的医用纸塑袋内。

使用时将剪刀穿过缺口两个尖端套入圆孔中,再将上端反折盖住两个尖端。改进后的保护套既有效地保护了锐器,又不易松散脱落戳破包装袋,保证了其灭菌物品的完整性及有效性;可用于除普通剪刀外的多种利器的保护,适用范围更广泛;另外能批量生产,原来用于准备保护套的时间现在可以用于其他更重要的工作。

附图说明

图1:现有技术中的利器保护套示意图。

图2:本实用新型的利器保护套(正面的)结构示意图。

图3:利器保护套(背面的)结构示意图。

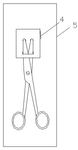
图4:本实用新型的利器保护套用于剪刀的示意图(卡纸最上端的一部分未向卡纸下侧折叠)。

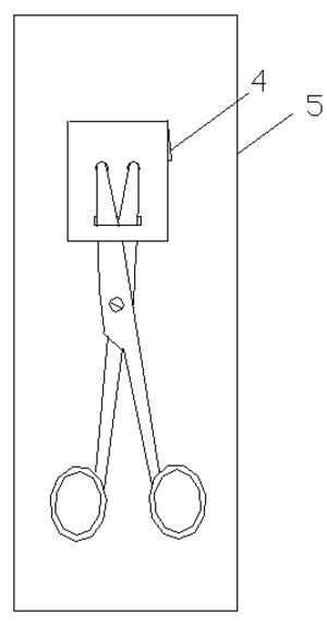
图5:本实用新型的利器保护套用于剪刀的示意图(卡纸最上端的一部分向卡纸下侧折叠,且放入医用纸塑袋内)。

具体实施方式

下面结合具体实施例对本实用新型作进一步说明。

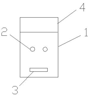
一种利器保护套,包括一张长方形的卡纸1,在所述的卡纸1的中部剪出两个平行的圆孔2,所述的两个圆孔2平行于长方形的短边,在圆孔下方剪出一个矩形缺口3,将剪刀放在该利器保护套内时,剪刀的刀刃部从卡纸的矩形缺口3的下侧穿出到卡纸的上侧,两个刀刃尖端再从两个平行的圆孔2穿出到卡纸的下侧,卡纸的上半部的一部分4向卡纸下侧折叠,遮住两个刀刃尖端。两个圆孔2间相距1cm。还包括医用纸塑袋5,所述的卡纸包覆剪刀后放入医用纸塑袋5内。进一步的,在所述的向下侧折叠的部分卡纸与剪刀接触的面上设置耐磨部6。所述的耐磨部6为在向下侧折叠的部分卡纸与剪刀接触的面上黏贴耐磨材料。优选的,所述的耐磨材料为耐磨橡胶。

以上所述,仅是本实用新型的较佳实施例,并非对本实用新型作任何形式上的限制,任何熟悉本专业的技术人员,在不脱离本实用新型技术方案范围内,依据本实用新型的技术实质,对以上实施例所作的任何简单的修改、等同替换与改进等,均仍属于本实用新型技术方案的保护范围之内。

价值度评估

技术价值

经济价值

法律价值

0 0 0

59.0

0 50 75 100
0~50 50~75 75~100 价值较低 中等价值 价值较高

专利价值度是通过科学的评估模

型对专利价值进行量化的结果,

基于专利大数据针对专利总体特

征指标利用计算机自动化技术对

待评估专利进行高效、智能化的

分析,从技术、经济和法律价值

三个层面构建专利价值评估体

系,可以有效提升专利价值评估

的质量和效率。

总评:59.0


该专利价值中等 (仅供参考)

        该专利的技术、经济、法律价值经系统自动评估后的总评得分处于平均水平,可以重点研究利用其技术价值,根据法律价值的评估结果选择合适的使用借鉴方式。
        本专利文献中包含【1 个技术分类】,从一定程度上而言上述指标的数值越大可以反映出所述专利的技术保护及应用范围越广。 【专利权的维持时间10 年】专利权的维持时间越长,其价值对于权利人而言越高。

技术价值    28.0

该指标主要从专利申请的著录信息、法律事件等内容中挖掘其技术价值,专利类型、独立权利要求数量、无效请求次数等内容均可反映出专利的技术性价值。 技术创新是专利申请的核心,若您需要进行技术借鉴或寻找可合作的项目,推荐您重点关注该指标。

部分指标包括:

授权周期(发明)

5 个月

独立权利要求数量

0 个

从属权利要求数量

0 个

说明书页数

2 页

实施例个数

0 个

发明人数量

2 个

被引用次数

0 次

引用文献数量

0 个

优先权个数

0 个

技术分类数量

1 个

无效请求次数

0 个

分案子案个数

0 个

同族专利数

0 个

专利获奖情况

保密专利的解密

经济价值    6.0

该指标主要指示了专利技术在商品化、产业化及市场化过程中可能带来的预期利益。 专利技术只有转化成生产力才能体现其经济价值,专利技术的许可、转让、质押次数等指标均是其经济价值的表征。 因此,若您希望找到行业内的运用广泛的热点专利技术及侵权诉讼中的涉案专利,推荐您重点关注该指标。

部分指标包括:

申请人数量

1

申请人类型

机关团体

许可备案

0 次

权利质押

0 次

权利转移

0 个

海关备案

法律价值    25.0

该指标主要从专利权的稳定性角度评议其价值。专利权是一种垄断权,但其在法律保护的期间和范围内才有效。 专利权的存续时间、当前的法律状态可反映出其法律价值。故而,若您准备找寻权属稳定且专利权人非常重视的专利技术,推荐您关注该指标。

部分指标包括:

存活期/维持时间

10

法律状态

无权-期满终止