【中国发明,中国发明授权】中小型簇绒地毯整体多功能整理加工装置

无权-未缴年费 中国

申请号:
CN201010280326.6
专利权人:
南通纺织职业技术学院
授权公告日/公开日:
2012.10.31
专利有效期:
2010.09.14-2030.09.14
技术分类:
D06:织物等的处理;洗涤;其他类不包括的柔性材料
转化方式:
转让
价值度指数:
55.0分
价格:
面议
2129 0

发布人

陈志华

联系人陈志华

13706297199
  • 专利信息&法律状态
  • 专利自评
  • 专利技术文档
  • 价值度指数
  • 发明人阵容

著录项

申请号
CN201010280326.6
申请日
20100914
公开/公告号
CN101967734A
公开/公告日
20110209
申请/专利权人
[南通纺织职业技术学院]
发明/设计人
[贺良震, 陈志华]
主分类号
D06B1/02
IPC分类号
C12N 9/0008(2013.01) C12N 9/16
CPC分类号
C12N 9/0008(2013.01) C12N 9/16(2013.01)
分案申请地址
国省代码
江苏(32)
颁证日
G06T1/00
代理人

摘要

本发明公开了一种中小型簇绒地毯整体多功能整理加工装置,包括工作台,所述的多功能整理加工装置还包括化料桶、搅拌器、喷射泵,所述化料桶放置于所述工作台的旁边,与工作台紧靠,所述化料桶内设有所述搅拌器,化料桶底座处装有所述喷射泵,所述化料桶上设有通孔与铁管相连,所述铁管上设有漏液孔,铁管位于所述工作台上方与工作台相平行,所述工作台上还装有轧辊间隙调节装置。本发明采用手动操作方式,结构较简单,操作方便、安全;装置的整体制作成本低,占地面积较小;整理效率高、效果好,可实现纺织品整理的节能减排,可避免地毯表面簇绒过分倒伏。

法律状态

法律状态公告日 20200901
法律状态 专利权的终止
法律状态信息 未缴年费专利权终止
IPC(主分类):D06B 1/02
专利号:ZL2010102803266
申请日:20100914
授权公告日:20121031
终止日期:20190914
法律状态公告日 20130529
法律状态 专利申请权、专利权的转移
法律状态信息 专利权的转移IPC(主分类):D06B 1/02变更事项:专利权人变更前权利人:南通纺织职业技术学院变更后权利人:凯晖皮草科技(南通)有限公司变更事项:地址变更前权利人:226007 江苏省南通市崇川区青年东路105号变更后权利人:226511 江苏省如皋市雪岸镇雪岸工业小区内(雪岸居13组)登记生效日:20130428
法律状态公告日 20121031
法律状态 授权
法律状态信息 授权
法律状态公告日 20110323
法律状态 实质审查的生效
法律状态信息 实质审查的生效
IPC(主分类):D06B 1/02
申请日:20100914
法律状态公告日 20110209
法律状态 公开
法律状态信息 公开
事务数据公告日 20130529
事务数据类型 专利申请权、专利权的转移
转让详情 专利权的转移IPC(主分类):D06B 1/02变更事项:专利权人变更前权利人:南通纺织职业技术学院变更后权利人:凯晖皮草科技(南通)有限公司变更事项:地址变更前权利人:226007 江苏省南通市崇川区青年东路105号变更后权利人:226511 江苏省如皋市雪岸镇雪岸工业小区内(雪岸居13组)登记生效日:20130428

权利要求

权利要求数量(6

独立权利要求数量(1

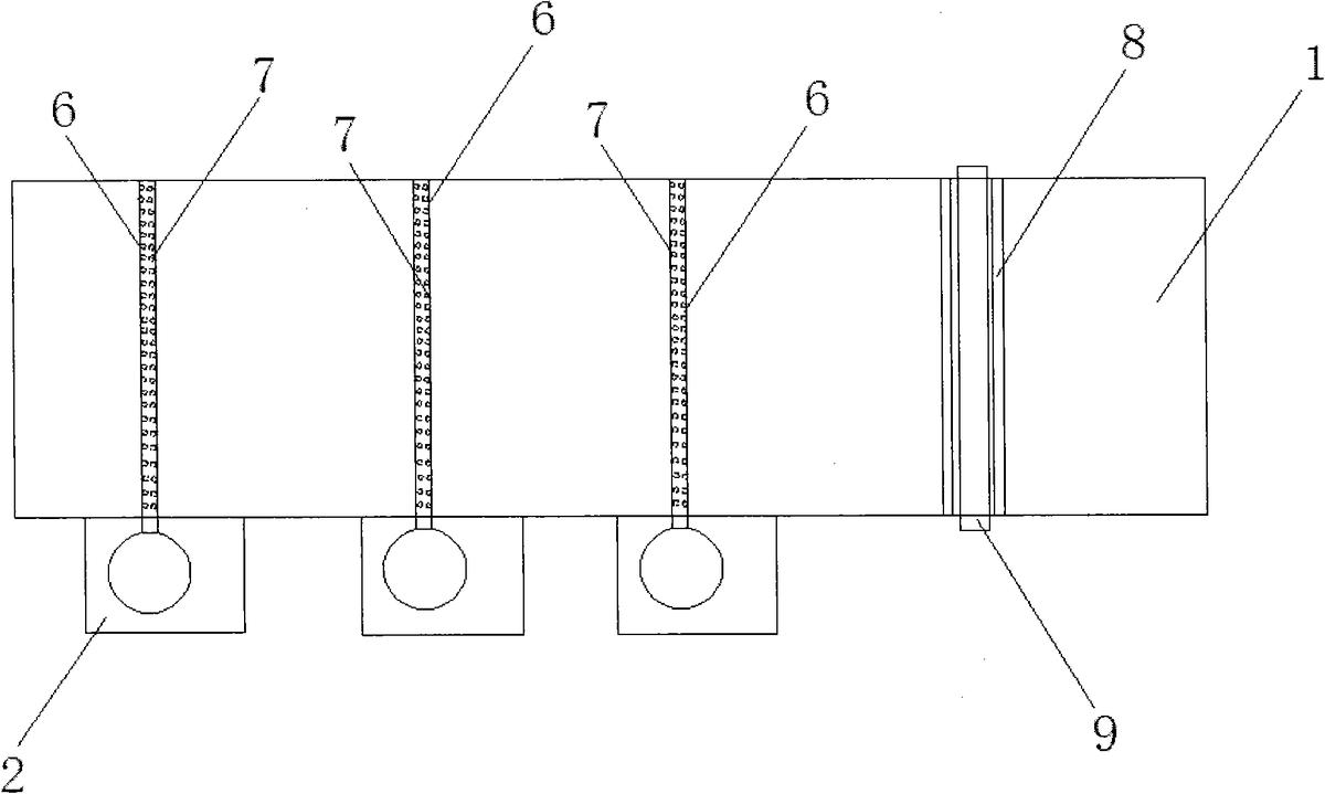
1.一种中小型簇绒地毯整体多功能整理加工装置,包括工作台(1),其特征在于:所述的多功能整理加工装置还包括化料桶(2)、搅拌器(3)、喷射泵(4),所述化料桶(2)放置于所述工作台(1)的旁边,与工作台(1)紧靠,所述化料桶(2)内设有所述搅拌器(3),化料桶(2)底座处装有所述喷射泵(4),所述化料桶(2)上设有通孔(5)与铁管(6)相连,所述铁管(6)上设有漏液孔(7),铁管(6)位于所述工作台(1)上方与工作台(1)相平行,所述工作台(1)上还装有轧辊间隙调节装置(8)。

2.根据权利要求1所述的中小型簇绒地毯整体多功能整理加工装置,其特征在于:所述漏液孔(7)在所述铁管(6)上呈双排均匀分布。

3.根据权利要求1所述的中小型簇绒地毯整体多功能整理加工装置,其特征在于:所述轧辊间隙调节装置(8)上装有轻柔轧辊(9)。

4.根据权利要求3所述的中小型簇绒地毯整体多功能整理加工装置,其特征在于:所述轻柔轧辊(9)位于工作台(1)上方与所述铁管(6)平行。

5.根据权利要求1所述的中小型簇绒地毯整体多功能整理加工装置,其特征在于:所述化料桶(2)设有两个或两个以上。

6.根据权利要求1所述的中小型簇绒地毯整体多功能整理加工装置,其特征在于:所述工作台(1)是分段设置,可拼拆使用。

1.一种中小型簇绒地毯整体多功能整理加工装置,包括工作台(1),其特征在于:所述的多功能整理加工装置还包括化料桶(2)、搅拌器(3)、喷射泵(4),所述化料桶(2)放置于所述工作台(1)的旁边,与工作台(1)紧靠,所述化料桶(2)内设有所述搅拌器(3),化料桶(2)底座处装有所述喷射泵(4),所述化料桶(2)上设有通孔(5)与铁管(6)相连,所述铁管(6)上设有漏液孔(7),铁管(6)位于所述工作台(1)上方与工作台(1)相平行,所述工作台(1)上还装有轧辊间隙调节装置(8)。

2.根据权利要求1所述的中小型簇绒地毯整体多功能整理加工装置,其特征在于:所述漏液孔(7)在所述铁管(6)上呈双排均匀分布。

3.根据权利要求1所述的中小型簇绒地毯整体多功能整理加工装置,其特征在于:所述轧辊间隙调节装置(8)上装有轻柔轧辊(9)。

4.根据权利要求3所述的中小型簇绒地毯整体多功能整理加工装置,其特征在于:所述轻柔轧辊(9)位于工作台(1)上方与所述铁管(6)平行。

5.根据权利要求1所述的中小型簇绒地毯整体多功能整理加工装置,其特征在于:所述化料桶(2)设有两个或两个以上。

6.根据权利要求1所述的中小型簇绒地毯整体多功能整理加工装置,其特征在于:所述工作台(1)是分段设置,可拼拆使用。

说明书

技术领域

本发明涉及纺织行业地毯领域,具体涉及一种中小型簇绒地毯整体多功能整理加工装置。

背景技术

由于各种纤维的中小型簇绒地毯具有手感蓬松、颜色鲜艳、价格适中等特点,在家居方面的用处越来越广。随着生活水平的提高,人们对中小型簇绒地毯的要求也从经久耐用逐渐转向安全和环保方面。因为家居用中小型簇绒地毯与人体表面接触的机会较多,所以要求此类产品具有抗菌和吸湿功能的呼声越来越高。同时,为防止纺织品燃烧引起的火灾发生,中小型簇绒地毯也应具有阻燃功能。

传统的纺织品整理加工,多采用大型轧车浸轧整理剂、定型机前段烘干和定型机中段和后段高温焙烘(定形)的加工流程。若采用浸轧工艺对簇绒地毯进行阻燃、抗菌、吸湿等多功能整理,势必会造成表面绒毛不可逆转的大量倒伏,严重影响表面花型的立体效果。浸轧后的高温焙烘也将造成浅色簇绒地毯边缘部分变色严重,导致客户拒收。

由于各种整理剂的离子类型不同,所以在进行纺织品多功能整理时,阴离子型和阳离子型的整理剂不可同时在一个容器内混用。目前的纺织品功能整理加工大多在定型机上通过浸轧、烘干和焙烘完成。而定型机前端的整理剂化料槽筒只有一个,无法满足多功能整理一次完成的工艺要求,影响加工效率和产品品质。

发明内容

发明目的:本发明为了解决现有技术的不足,提供一种整理效率高、效果好、可避免地毯表面簇绒过分倒伏的中小型簇绒地毯整体多功能整理加工装置。

技术方案:一种中小型簇绒地毯整体多功能整理加工装置,包括工作台,所述的多功能整理加工装置还包括化料桶、搅拌器、喷射泵,所述化料桶放置于所述工作台的旁边,与工作台紧靠,所述化料桶内设有所述搅拌器,化料桶底座处装有所述喷射泵,所述化料桶上设有通孔与铁管相连,所述铁管上设有漏液孔,铁管位于所述工作台上方与工作台相平行,所述工作台上还装有轧辊间隙调节装置。

作为优化,所述漏液孔在所述铁管上呈双排均匀分布,可以使整理剂均匀喷洒到地毯上。

作为优化,所述轧辊间隙调节装置上装有轻柔轧辊,不用通过大型轧车的强力挤压,因此可避免地毯表面簇绒过分倒伏,保证地毯表面立体花型效果;根据簇绒地毯的厚度调节工作台表面与挤压导辊之间的高度,可进一步提高经均匀喷洒而吸附于簇绒表面的整理液向地毯内部渗透的效果,从而提高整理效果的持久性。经轻柔轧辊的轻柔均匀挤压提高了整理效果和加工效率,进而可以取消后续的高温焙烘工序,仅通过适度的烘干即可保证产品最终的多功能整理效果,省去高温焙烘工序后,可避免浅色簇绒地毯边缘部分的变色现象,进一步节约能源,实现中小型簇绒地毯整体的多功能整理加工的节能减排。

作为优化,所述轻柔轧辊位于工作台上方与所述铁管平行,使多功能整理加工装置的协调工作效果较好。

作为优化,所述化料桶设有两个或两个以上,通过多个互不相连的料筒同时均匀喷洒各种功能的整理剂于中小型簇绒地毯表面,再经轻柔轧辊的均匀挤压,可使各种整理剂进一步向地毯表面簇绒的深层渗透,提高整理效率,可以从根本上保证中小型簇绒地毯的多功能整理一次加工完成,避免整理剂因离子性不同在化料桶内沉淀而造成的整理效果降低。

作为优化,所述工作台是分段设置,可拼拆使用,根据地毯的大小、长度,可以拼拆工作台以满足工作线的需要。

工作原理:本发明通过将不同的整理剂放置于不同的化料桶中,经搅拌器搅拌均匀后,经化料桶底座处的喷射泵将整理剂喷射出来,进入与化料桶相连的铁管,通过铁管上的漏液孔,将整理剂喷洒于待整理地毯上,喷洒完毕后,通过轧辊间隙调节装置根据地毯上簇绒的厚度来调节地毯与轻柔轧辊的距离,手动操作移动地毯,经轻柔轧辊轻柔均匀挤压使得整理液进一步向地毯内部渗透,再进行适度的烘干即可完成产品最终的多功能整理效果。

有益效果:本发明与现有技术相比,其显著优点是:本发明采用手动操作方式,结构较简单,操作方便、安全;装置的整体制作成本低,占地面积较小;整理效率高、效果好,可实现纺织品整理的节能减排,可避免地毯表面簇绒过分倒伏;各类中小型簇绒地毯通过该装置的加工,可整体完成多功能整理加工。

附图说明

图1为本发明的主视图;

图2为本发明的俯视图。

具体实施方式

如图1、图2所示,一种中小型簇绒地毯整体多功能整理加工装置,包括工作台1,三个化料桶2,所述化料桶2放置于所述工作台1的旁边与工作台1紧靠,三个化料桶2内均设有搅拌器3,三个化料桶2底座处装有喷射泵4,所述化料桶2上设有通孔5与铁管6相连,铁管6上设有漏液孔7,所述漏液孔7在铁管6上呈双排均匀分布;铁管6位于所述工作台1上方与工作台1相平行,所述工作台1上还装有轧辊间隙调节装置8,轧辊间隙调节装置8上装有轻柔轧辊9,轻柔轧辊9位于工作台1上方与所述铁管6平行。所述工作台1是分段设置,可拼拆使用。

价值度评估

技术价值

经济价值

法律价值

0 0 0

55.0

0 50 75 100
0~50 50~75 75~100 价值较低 中等价值 价值较高

专利价值度是通过科学的评估模

型对专利价值进行量化的结果,

基于专利大数据针对专利总体特

征指标利用计算机自动化技术对

待评估专利进行高效、智能化的

分析,从技术、经济和法律价值

三个层面构建专利价值评估体

系,可以有效提升专利价值评估

的质量和效率。

总评:55.0


该专利价值中等 (仅供参考)

        该专利的技术、经济、法律价值经系统自动评估后的总评得分处于平均水平,可以重点研究利用其技术价值,根据法律价值的评估结果选择合适的使用借鉴方式。
        本专利文献中包含【3 个技术分类】,从一定程度上而言上述指标的数值越大可以反映出所述专利的技术保护及应用范围越广。 【专利权的维持时间10 年】专利权的维持时间越长,其价值对于权利人而言越高。 尤其重要是,该专利 【权利转移1 次】、 都从侧面反应出该专利的技术、经济和法律价值。

技术价值    30.0

该指标主要从专利申请的著录信息、法律事件等内容中挖掘其技术价值,专利类型、独立权利要求数量、无效请求次数等内容均可反映出专利的技术性价值。 技术创新是专利申请的核心,若您需要进行技术借鉴或寻找可合作的项目,推荐您重点关注该指标。

部分指标包括:

授权周期(发明)

25 个月

独立权利要求数量

0 个

从属权利要求数量

0 个

说明书页数

2 页

实施例个数

0 个

发明人数量

2 个

被引用次数

0 次

引用文献数量

0 个

优先权个数

0 个

技术分类数量

3 个

无效请求次数

0 个

分案子案个数

0 个

同族专利数

0 个

专利获奖情况

保密专利的解密

经济价值    9.0

该指标主要指示了专利技术在商品化、产业化及市场化过程中可能带来的预期利益。 专利技术只有转化成生产力才能体现其经济价值,专利技术的许可、转让、质押次数等指标均是其经济价值的表征。 因此,若您希望找到行业内的运用广泛的热点专利技术及侵权诉讼中的涉案专利,推荐您重点关注该指标。

部分指标包括:

申请人数量

1

申请人类型

院校

许可备案

0 次

权利质押

0 次

权利转移

1 个

海关备案

法律价值    16.0

该指标主要从专利权的稳定性角度评议其价值。专利权是一种垄断权,但其在法律保护的期间和范围内才有效。 专利权的存续时间、当前的法律状态可反映出其法律价值。故而,若您准备找寻权属稳定且专利权人非常重视的专利技术,推荐您关注该指标。

部分指标包括:

存活期/维持时间

10

法律状态

无权-未缴年费