【中国实用新型】电机绝缘端盖

无权-期满终止 中国

申请号:
CN201120024037.X
专利权人:
湘潭世通电气有限公司
授权公告日/公开日:
2011.08.31
专利有效期:
2011.01.25-2021.01.25
技术分类:
H02:发电、变电或配电
转化方式:
转让
价值度指数:
66.0分
价格:
面议
761 0

发布人

湖南世优电气股份有限公司

联系人刘小菲

17363751555
979486169@qq.com
979486169
湖南省湘潭市岳塘区书院路38号国家高新技术创业园内
  • 专利信息&法律状态
  • 专利自评
  • 专利技术文档
  • 价值度指数
  • 发明人阵容

著录项

申请号
CN201120024037.X
申请日
20110125
公开/公告号
CN201956786U
公开/公告日
20110831
申请/专利权人
[湘潭世通电气有限公司]
发明/设计人
[王太历]
主分类号
H02K5/16
IPC分类号
C12N 9/0008(2013.01) C12N 9/16
CPC分类号
C12N 9/0008(2013.01) C12N 9/16(2013.01)
分案申请地址
国省代码
湖南(43)
颁证日
G06T1/00
代理人
[宋长珠]

摘要

一种电机绝缘端盖,它采用包括电机转轴,固联于转轴上的轴承,轴承径向套装内轴套、端盖和经螺栓轴向穿置外轴承盖、内轴套、内轴承盖锁紧而成,在内轴套、端盖之间设置绝缘套,在外轴承盖和内轴承盖之间的内轴套、绝缘套、端盖配合处的端部设置绝缘环;它克服了现有电机用端盖的轴承容易发生电腐蚀,绝缘件数量较多,机加工序繁杂、周期长,生产成本高,故障维护困难,运行可靠性差,使用寿命短,无法适应风力发电机等缺陷,而且它解决了在内、外轴承盖与电机转轴间的电路相通时,轴承会产生轴电流的难题;它适合各类电机转轴轴承的密封、绝缘;尤其适合要求运行可靠、使用寿命长的风力发电机和执行特殊任务、用途的交、直流电机产品之用。

法律状态

法律状态公告日 20210212
法律状态 专利权的终止
法律状态信息 专利权有效期届满
IPC(主分类):H02K 5/16
专利号:ZL201120024037X
申请日:20110125
授权公告日:20110831
终止日期:
法律状态公告日 20140514
法律状态 专利申请权、专利权的转移
法律状态信息 专利权的转移
IPC(主分类):H02K 5/16
变更事项:专利权人
变更前权利人:湘潭世通电气有限公司
变更后权利人:湖南世优电气股份有限公司
变更事项:地址
变更前权利人:411133 湖南省湘潭市岳塘区双马工业园楚天路8号
变更后权利人:411104 湖南省湘潭市高新区火炬创新创业园
登记生效日:20140422
法律状态公告日 20110831
法律状态 授权
法律状态信息 授权
事务数据公告日 20140514
事务数据类型 专利申请权、专利权的转移
转让详情 专利权的转移
IPC(主分类):H02K 5/16
变更事项:专利权人
变更前权利人:湘潭世通电气有限公司
变更后权利人:湖南世优电气股份有限公司
变更事项:地址
变更前权利人:411133 湖南省湘潭市岳塘区双马工业园楚天路8号
变更后权利人:411104 湖南省湘潭市高新区火炬创新创业园
登记生效日:20140422

权利要求

权利要求数量(3

独立权利要求数量(1

1.一种电机绝缘端盖,其特征在于它包括电机转轴(1),固联于电机转轴(1)上的轴承(2),轴承(2)径向套装内轴套(3)、端盖(4)和经螺栓(5)轴向穿置外轴承盖(6)、内轴套(3)、内轴承盖(7)锁紧而成,在内轴套(3)、端盖(4)之间设置绝缘套(8),在外轴承盖(6)和内轴承盖(7)之间的内轴套(3)、绝缘套(8)、端盖(4)配合处的端部设置绝缘环(9)。

2.根据权利要求1所述的一种电机绝缘端盖,其特征在于绝缘套(8)与端盖(4)之间为过盈配合。

3.根据权利要求1所述的一种电机绝缘端盖,其特征在于绝缘套(8)为复合绝缘层。

1.一种电机绝缘端盖,其特征在于它包括电机转轴(1),固联于电机转轴(1)上的轴承(2),轴承(2)径向套装内轴套(3)、端盖(4)和经螺栓(5)轴向穿置外轴承盖(6)、内轴套(3)、内轴承盖(7)锁紧而成,在内轴套(3)、端盖(4)之间设置绝缘套(8),在外轴承盖(6)和内轴承盖(7)之间的内轴套(3)、绝缘套(8)、端盖(4)配合处的端部设置绝缘环(9)。

2.根据权利要求1所述的一种电机绝缘端盖,其特征在于绝缘套(8)与端盖(4)之间为过盈配合。

3.根据权利要求1所述的一种电机绝缘端盖,其特征在于绝缘套(8)为复合绝缘层。

说明书

技术领域

本实用新型涉及一种电机绝缘端盖,尤其是一种经内轴套径向外结合处密封、绝缘的电机绝缘端盖。

背景技术

现有电机用端盖,主要有三种结构,现分述如下:⑴轴套内装有非绝缘轴承的端盖即金属端盖。该种端盖不具备绝缘功能,无法阻断电机运行过程中产生的轴电流,当电机产生轴电流时,轴承就会发生电腐蚀,从而使电机轴承的使用寿命较短,电机运行的可靠性较低。⑵轴套内装有绝缘轴承的端盖即金属端盖。该种端盖本体不具备绝缘功能,是依靠在端盖的轴套内配装绝缘轴承后,由于轴承本身的绝缘层具有防轴电流功能,可以阻断电机在运行过程中产生的轴电流,杜绝轴电流对电机轴承的电腐蚀。但绝缘轴承需进口,价格昂贵,并受到国际因素的制约,从而使电机的制造成本明显提高,市场价格较高,往往只在有特殊要求的电机产品上采用。⑶现有电机用端盖,其结构较复杂,采用的绝缘件的种类和数量较多,达4种共11件,加之其中的绝缘环还需增加螺栓孔,故增加了较多的机加工序,因而对产品绝缘性能的影响因素增多,导致其故障点要成倍或10倍量的增多;当电机在长期运行过程中任何一处绝缘件出问题,就会使整个绝缘结构失效,而且其故障难以查找和排除,所以,此种结构的绝缘端盖不宜在风力发电机或执行特殊任务的电机上使用,而且制造工艺周期较长,工效较低,生产成本较高。

发明内容

针对上述情况,本实用新型的目的是提供一种结构简单、紧凑,生产工艺简易,生产成本降低,生产效率高,产品质量好,绝缘性能优良,机械强度高,耐老化性好,运行可靠,使用寿命长和便于维护的电机绝缘端盖。

为了实现上述目的,一种电机绝缘端盖,它包括电机转轴,固联于电机转轴上的轴承,轴承径向套装内轴套、端盖和经螺栓轴向穿置外轴承盖、内轴套、内轴承盖锁紧而成,在内轴套、端盖之间设置绝缘套,在外轴承盖和内轴承盖之间的内轴套、绝缘套、端盖配合处的端部设置绝缘环。

为了实现结构、效果优化,其进一步的措施是。

绝缘套与端盖之间为过盈配合。

绝缘套为复合绝缘层。

本实用新型采用包括电机转轴,固联于电机转轴上的轴承,轴承径向套装内轴套、端盖和经螺栓轴向穿置外轴承盖、内轴套、内轴承盖锁紧而成,在内轴套、端盖之间设置绝缘套,在外轴承盖和内轴承盖之间的内轴套、绝缘套、端盖配合处的端部设置绝缘环的技术方案,它克服了现有电机用端盖存在轴承容易发生电腐蚀,绝缘件的种类和数量较多,机加工序繁杂、周期长,工效低,生产成本高,故障点多,故障查找、排除和维护困难,运行可靠性差,使用寿命短,无法适应风力发电机或执行特殊任务、用途的电机上应用等缺陷,而且它解决了在内、外轴承盖与电机转轴间的电路相通时,轴承会产生轴电流的难题。

本实用新型相比现有技术所产生的有益效果:

(Ⅰ)本实用新型电机绝缘端盖结构简单、紧凑,绝缘件的种类和数量由原来的4种共11件减少为2种共3件;

(Ⅱ)本实用新型电机绝缘端盖的零部件仅为11种共21件,比现有电机用端盖的零部件13种共29件节省2种共8件,而且省去了加工难度较大的绝缘套管,使生产周期与生产成本显著缩短和降低;

(Ⅲ)本实用新型电机绝缘端盖的绝缘件采用复合绝缘材料与包卷、胶粘工艺结合,使其具有较高的固有介电强度,机械韧性、柔性和回弹性;

(Ⅳ)本实用新型电机绝缘端盖的紧固件是设置在内轴套中并配合内、外轴承盖锁紧,绝缘套设置在内轴套与端盖之间,其在外轴承盖和内轴承盖之间的内轴套、绝缘套、端盖配合处的端部还采用绝缘环进行绝缘胶粘接,使绝缘结构的整体性更好,密封、绝缘效果更加可靠,安全,而且不会发生在内、外轴承盖与电机转轴间的电路相通时,轴承产生轴电流;

(Ⅴ)本实用新型电机绝缘端盖的绝缘套与端盖的配合为超过盈配合,较之压配合的现有电机用端盖的结合力≥10吨多出20吨,达到结合力>30吨,使其结合更加牢固可靠;

(Ⅵ)本实用新型电机绝缘端盖的绝缘可靠,绝缘性能优异,耐电热老化裕度大,性能高,不仅适用于普通交、直流电机产品,还适用于运行可靠性要求极高,使用寿命要求更长的风力发电机即使用寿命要求为20年以及执行特殊任务、用途的电机产品。

本实用新型电机绝缘端盖适合各类电机转轴轴承的密封、绝缘;尤其适合运行可靠性要求高、使用寿命要求长的风力发电机和执行特殊任务、用途的交、直流电机产品之用。

下面结合附图和实施例对本实用新型作进一步详细说明。

附图说明

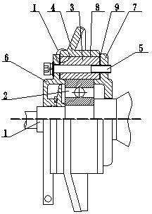
图1为本实用新型电机绝缘端盖的主视图。

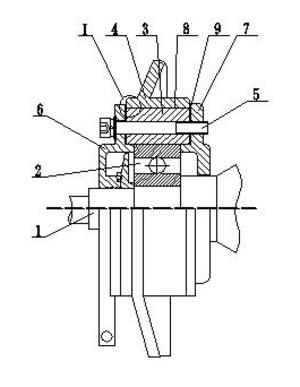
图2为图1的Ⅰ处放大示意图。

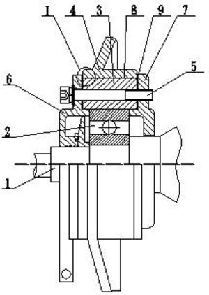
图3为现有电机用端盖的主视图。

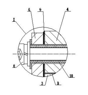
图4为图3的Ⅰ处放大示意图。

图中:1、电机转轴,2、轴承,3、内轴套,4、端盖,5、螺栓,6、外轴承盖,7、内轴承盖,8、绝缘套,9、绝缘环,10、绝缘管。

具体实施方式

由附图所示,一种电机绝缘端盖,它包括电机转轴1,固联于电机转轴1上的轴承2,轴承2径向套装内轴套3、端盖4和经螺栓5轴向穿置外轴承盖6、内轴套3、内轴承盖7锁紧而成,在内轴套3、端盖4之间设置绝缘套8,绝缘套8为复合绝缘层,它选用复合绝缘材料包卷于内轴套3外圆柱面而成,绝缘套8与端盖4之间采用过盈配合,在外轴承盖6和内轴承盖7之间的内轴套3、绝缘套8、端盖4配合处的端部设置绝缘环9,并采用绝缘胶粘接,使外轴承盖6和内轴承盖7与内轴套3、绝缘套8、端盖4配合处的端部结合得更加牢固且成为整体结构。

参照附图,本实用新型电机绝缘端盖是在现有电机用端盖上的改进,它与现有电机用端盖的区别是:现有电机用端盖包括电机转轴1,固联于转轴1上的轴承2,轴承2径向套装内轴套3、端盖4和经螺栓5轴向穿置外轴承盖6、端盖4、内轴承盖7锁紧而成;绝缘层设在内轴套3与端盖4之间,并在内轴套3、绝缘套8、端盖4配合处的端部再覆盖一层绝缘层或配装一绝缘环,然后在端盖4的轴向安装孔中插装绝缘管10,继而把设有橡胶垫圈的外轴承盖6和内轴承盖7锁紧于已套装有内轴承套3的端盖4上,并在绝缘管10的前端部套装一绝缘垫圈,再用套装垫圈的螺栓5轴向穿置外轴承盖6、端盖4中的绝缘管10、内轴承盖7锁紧而成具有绝缘功能的电机绝缘端盖密封结构,它的锁紧固定方式是在外轴承盖6、端盖4、内轴承盖7的轴向上。

改进后的本实用新型电机绝缘端盖,它的锁紧固定方式是在外轴承盖6、内轴套3、内轴承盖7的轴向上。而且采用了复合材料作绝缘套8、绝缘环9,绝缘套8与端盖4采用过盈配合装配间隙加强牢固度,绝缘环9采用胶粘工艺的整体结构。

改进后的本实用新型,结构极其简单,所用绝缘件从原来的4种共11件减少到只有2种共3件,其绝缘件减少的数量超过73%,所用零部件从原来的29件减少到21件,其零部件减少的数量超过28%;其密封性能、绝缘的耐热和可靠性较改进前的方案大大提高,而故障率几乎为零;其所用工艺、绝缘结合处的机加工序与加工精度要求均明显减少,制造周期大大缩短,生产成本显著降低,它广泛适用于交、直流电机产品中,尤其适用于运行可靠性要求极高、使用寿命要求较长的风力发电机和执行特殊性任务、用途等电机产品中。

价值度评估

技术价值

经济价值

法律价值

0 0 0

66.0

0 50 75 100
0~50 50~75 75~100 价值较低 中等价值 价值较高

专利价值度是通过科学的评估模

型对专利价值进行量化的结果,

基于专利大数据针对专利总体特

征指标利用计算机自动化技术对

待评估专利进行高效、智能化的

分析,从技术、经济和法律价值

三个层面构建专利价值评估体

系,可以有效提升专利价值评估

的质量和效率。

总评:66.0


该专利价值中等 (仅供参考)

        该专利的技术、经济、法律价值经系统自动评估后的总评得分处于平均水平,可以重点研究利用其技术价值,根据法律价值的评估结果选择合适的使用借鉴方式。
        本专利文献中包含【2 个技术分类】,从一定程度上而言上述指标的数值越大可以反映出所述专利的技术保护及应用范围越广。 【被引用次数3 次】专利被引次数越多越能能够体现出该专利在相关技术领域研发中所发挥的基础性作用,代表着专利公开的内容有更多的产业利用价值。 【专利权的维持时间10 年】专利权的维持时间越长,其价值对于权利人而言越高。 尤其重要是,该专利 【权利转移1 次】、 都从侧面反应出该专利的技术、经济和法律价值。

技术价值    31.0

该指标主要从专利申请的著录信息、法律事件等内容中挖掘其技术价值,专利类型、独立权利要求数量、无效请求次数等内容均可反映出专利的技术性价值。 技术创新是专利申请的核心,若您需要进行技术借鉴或寻找可合作的项目,推荐您重点关注该指标。

部分指标包括:

授权周期(发明)

7 个月

独立权利要求数量

0 个

从属权利要求数量

0 个

说明书页数

3 页

实施例个数

0 个

发明人数量

1 个

被引用次数

3 次

引用文献数量

3 个

优先权个数

0 个

技术分类数量

2 个

无效请求次数

0 个

分案子案个数

0 个

同族专利数

0 个

专利获奖情况

保密专利的解密

经济价值    10.0

该指标主要指示了专利技术在商品化、产业化及市场化过程中可能带来的预期利益。 专利技术只有转化成生产力才能体现其经济价值,专利技术的许可、转让、质押次数等指标均是其经济价值的表征。 因此,若您希望找到行业内的运用广泛的热点专利技术及侵权诉讼中的涉案专利,推荐您重点关注该指标。

部分指标包括:

申请人数量

1

申请人类型

企业

许可备案

0 次

权利质押

0 次

权利转移

1 个

海关备案

法律价值    25.0

该指标主要从专利权的稳定性角度评议其价值。专利权是一种垄断权,但其在法律保护的期间和范围内才有效。 专利权的存续时间、当前的法律状态可反映出其法律价值。故而,若您准备找寻权属稳定且专利权人非常重视的专利技术,推荐您关注该指标。

部分指标包括:

存活期/维持时间

10

法律状态

无权-期满终止