【中国实用新型】一种钢管表面水泥清除装置

无权-未缴年费 中国

授权公告日/公开日:
2019.03.29
专利有效期:
2018.05.31-2028.05.31
技术分类:
E04:建筑物
转化方式:
转让
价值度指数:
58.0分
价格:
面议
1536 0

发布人

宿迁知芃智能科技有限公司

联系人桑明喆

18896524795
2603577858@qq.com
2603577858
18896524795
苏州市吴中区致能大道106号
  • 专利信息&法律状态
  • 专利自评
  • 专利技术文档
  • 价值度指数
  • 发明人阵容

著录项

申请号
CN201820834113.5
申请日
20180531
公开/公告号
CN208668917U
公开/公告日
20190329
申请/专利权人
[宿迁知芃智能科技有限公司]
发明/设计人
[桑明喆]
主分类号
E04G5/00
IPC分类号
C12N 9/0008(2013.01) C12N 9/16
CPC分类号
C12N 9/0008(2013.01) C12N 9/16(2013.01)
分案申请地址
国省代码
江苏(32)
颁证日
G06T1/00
代理人

摘要

本实用新型解决其技术问题所采用的技术方案是:一种钢管表面水泥清除装置,包括底座为本体;所述底座上设置有固定方柱;所述底座上设置有一个电机;所述旋转板中部设置有圆形孔洞;所述旋转板上的两个连接柱与上述的滑动盖板上的两个凸柱之间分别设置有拉簧,两个拉簧分别置于圆形孔洞两侧;所述旋转板反面上下两端设置有刷座;本实用新型通过旋转板旋转拉动弹簧贴合钢管进行水泥清理,且可通过调整电机速度来调节弹簧在贴合钢管进行水泥清理时的清除力度,适用于不同粗细的钢管,且对钢管进行两次清理,操作简单,节省人力,使用方便。

法律状态

法律状态公告日 20230609
法律状态 专利权的终止
法律状态信息 未缴年费专利权终止
IPC(主分类):E04G 5/00
专利号:ZL2018208341135
申请日:20180531
授权公告日:20190329
终止日期:
法律状态公告日 20190329
法律状态 授权
法律状态信息 授权
暂无数据

权利要求

权利要求数量(5

独立权利要求数量(1

1.一种钢管表面水泥清除装置,其特征是:包括底座为本体;所述底座上设置有固定方柱,两条固定方柱顶部连接有六角螺母固定的连接盖板,固定方柱中部设有滑动凹槽,且滑动凹槽上设置有上滚轮和下滚轮,上滚轮和下滚轮均呈现V形;所述上滚轮上设置有滑动轴,上滚轮的滑动轴左端设有圆形挡板,且圆形挡板在固定方柱外侧;所述下滚轮上设置有锁死轴,下滚轮的锁死轴左端设有矩形挡板,且矩形挡板设置在固定方柱外;下滚轮的锁死轴右端设有螺纹,且螺纹上设置有旋钮;所述底座中部设置有一个支撑板,且支撑板上下端部分别设有一个固定转轮;所述底座上设置有一个电机,电机上设置有一个电动转轮,且电动转轮与上述的两个固定转轮在同一平面,电动转轮圆心和两个固定转轮的圆心呈三角形状,且有旋转板设置于三角形中,旋转板边缘与电动转轮和两个固定转轮贴合,通过电机带动电动转轮转动,使旋转板转动;所述旋转板中部设置有圆形孔洞;所述旋转板上下两端对称设置有两个限位柱,限位柱上设置有固定螺母,且限位柱和固定螺母之间设置有垫圈,旋转板左右两端对称设置有两个连接柱,两个限位柱分别设置于滑动盖板的两个滑行槽内,且滑动盖板左右两端设置有两个凸柱;所述旋转板上的两个连接柱与上述的滑动盖板上的两个凸柱之间分别设置有拉簧,拉簧通过焊接与连接柱和凸柱固定连接,两个拉簧分别置于圆形孔洞两侧;所述旋转板反面上下两端设置有刷座,刷座上设有螺栓,刷座上插有清洁刷,且清洁刷上部设置有弹簧。

2.根据权利要求1所述的一种钢管表面水泥清除装置,其特征在于:所述下滚轮的锁死轴可以上下调动位置,确保不同大小的钢管对准旋转板上的圆形孔洞。

3.根据权利要求1所述的一种钢管表面水泥清除装置,其特征在于:所述电机可以通过调节速度,控制拉簧的拉伸程度,达到控制拉簧清除水泥的力度。

4.根据权利要求1所述的一种钢管表面水泥清除装置,其特征在于:所述清洁刷可以对钢管进行二次清除,且刷座上设有的螺栓可以调节清洁刷的长短适应各大小的钢管。

5.根据权利要求1所述的一种钢管表面水泥清除装置,其特征在于:所述清洁刷上部的弹簧,在螺栓松开时,使清洁刷回缩,防止钢管碰触损坏。

1.一种钢管表面水泥清除装置,其特征是:包括底座为本体;所述底座上设置有固定方柱,两条固定方柱顶部连接有六角螺母固定的连接盖板,固定方柱中部设有滑动凹槽,且滑动凹槽上设置有上滚轮和下滚轮,上滚轮和下滚轮均呈现V形;所述上滚轮上设置有滑动轴,上滚轮的滑动轴左端设有圆形挡板,且圆形挡板在固定方柱外侧;所述下滚轮上设置有锁死轴,下滚轮的锁死轴左端设有矩形挡板,且矩形挡板设置在固定方柱外;下滚轮的锁死轴右端设有螺纹,且螺纹上设置有旋钮;所述底座中部设置有一个支撑板,且支撑板上下端部分别设有一个固定转轮;所述底座上设置有一个电机,电机上设置有一个电动转轮,且电动转轮与上述的两个固定转轮在同一平面,电动转轮圆心和两个固定转轮的圆心呈三角形状,且有旋转板设置于三角形中,旋转板边缘与电动转轮和两个固定转轮贴合,通过电机带动电动转轮转动,使旋转板转动;所述旋转板中部设置有圆形孔洞;所述旋转板上下两端对称设置有两个限位柱,限位柱上设置有固定螺母,且限位柱和固定螺母之间设置有垫圈,旋转板左右两端对称设置有两个连接柱,两个限位柱分别设置于滑动盖板的两个滑行槽内,且滑动盖板左右两端设置有两个凸柱;所述旋转板上的两个连接柱与上述的滑动盖板上的两个凸柱之间分别设置有拉簧,拉簧通过焊接与连接柱和凸柱固定连接,两个拉簧分别置于圆形孔洞两侧;所述旋转板反面上下两端设置有刷座,刷座上设有螺栓,刷座上插有清洁刷,且清洁刷上部设置有弹簧。

2.根据权利要求1所述的一种钢管表面水泥清除装置,其特征在于:所述下滚轮的锁死轴可以上下调动位置,确保不同大小的钢管对准旋转板上的圆形孔洞。

3.根据权利要求1所述的一种钢管表面水泥清除装置,其特征在于:所述电机可以通过调节速度,控制拉簧的拉伸程度,达到控制拉簧清除水泥的力度。

4.根据权利要求1所述的一种钢管表面水泥清除装置,其特征在于:所述清洁刷可以对钢管进行二次清除,且刷座上设有的螺栓可以调节清洁刷的长短适应各大小的钢管。

5.根据权利要求1所述的一种钢管表面水泥清除装置,其特征在于:所述清洁刷上部的弹簧,在螺栓松开时,使清洁刷回缩,防止钢管碰触损坏。

说明书

技术领域

本实用新型涉及污垢清除装置技术领域,特指一种钢管表面水泥清除装置。

背景技术

现在我们在建筑房屋,构建地基时,总是会用到钢管,钢管起到一个临时支撑的作用,并不属于消耗品,还可以再次利用。在建筑工地上,有许多的建筑材料,不经意或多或少总会弄到钢管上,而这些建筑材料很难清除,尤其是水泥。水泥刚碰上还没有凝固比较容易清除,但等水泥凝固,水泥粘在钢管上且十分坚硬,想要清除特别困难。

发明内容

为解决上述问题,本实用新型提供一种钢管表面水泥清除装置。

本实用新型解决其技术问题所采用的技术方案是:一种钢管表面水泥清除装置,其特征是:包括底座为本体;所述底座上设置有固定方柱,两条固定方柱顶部连接有六角螺母固定的连接盖板,固定方柱中部设有滑动凹槽,且滑动凹槽上设置有上滚轮和下滚轮,上滚轮和下滚轮均呈现V形;所述上滚轮上设置有滑动轴,上滚轮的滑动轴左端设有圆形挡板,且圆形挡板在固定方柱外侧;所述下滚轮上设置有锁死轴,下滚轮的锁死轴左端设有矩形挡板,且矩形挡板设置在固定方柱外;下滚轮的锁死轴右端设有螺纹,且螺纹上设置有旋钮;所述底座中部设置有一个支撑板,且支撑板上下端部分别设有一个固定转轮;所述底座上设置有一个电机,电机上设置有一个电动转轮,且电动转轮与上述的两个固定转轮在同一平面,电动转轮圆心和两个固定转轮的圆心呈三角形状,且有旋转板设置于三角形中,旋转板边缘与电动转轮和两个固定转轮贴合,通过电机带动电动转轮转动,使旋转板转动;所述旋转板中部设置有圆形孔洞;所述旋转板上下两端对称设置有两个限位柱,限位柱上设置有固定螺母,且限位柱和固定螺母之间设置有垫圈,旋转板左右两端对称设置有两个连接柱,两个限位柱分别设置于滑动盖板的两个滑行槽内,且滑动盖板左右两端设置有两个凸柱;所述旋转板上的两个连接柱与上述的滑动盖板上的两个凸柱之间分别设置有拉簧,拉簧通过焊接与连接柱和凸柱固定连接,两个拉簧分别置于圆形孔洞两侧;所述旋转板反面上下两端设置有刷座,刷座上设有螺栓,刷座上插有清洁刷,且清洁刷上部设置有弹簧。

优选的,所述下滚轮的锁死轴可以上下调动位置,确保不同大小的钢管对准旋转板上的圆形孔洞。

优选的,所述电机可以通过调节速度,控制拉簧的拉伸程度,达到控制拉簧清除水泥的力度。

优选的,所述清洁刷可以对钢管进行二次清除,且刷座上设有的螺栓可以调节清洁刷的长短适应各大小的钢管。

优选的,所述清洁刷上部的弹簧,在螺栓松开时,使清洁刷回缩,防止钢管碰触损坏。

本实用新型的有益效果是:通过旋转板旋转拉动弹簧贴合钢管进行水泥清理,且可通过调整电机速度来调节弹簧在贴合钢管进行水泥清理时的清除力度,适用于不同粗细的钢管,且对钢管进行两次清理,操作简单,节省人力,使用方便。

附图说明

图1为所述的一种钢管表面清除装置的总体结构图。

图2为图1中A处的局部放大图。

图3为所述的一种钢管表面清除装置的左视图。

图4为所述的一种钢管表面清除装置的斜视图。

图5为图4中B处的局部放大图。

图6 为所述的一种钢管表面清除装置的正视图。

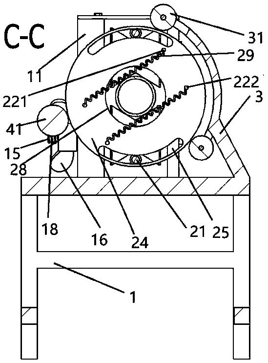
图7为图6 中C-C处的剖视图。

其中:1、底座;11、固定方柱;12、上滚轮;13、滑动轴;14下滚轮;15、锁死轴;16、旋钮;17、滑动凹槽;18、螺纹;2、旋转板;21、限位柱;221、连接柱;222、凸柱;23、清洁刷;24、滑动盖板;25、滑行槽;26、弹簧;27、螺栓;28、圆形孔洞;29、拉簧;3、支撑板;31、固定转轮;32、六角螺母;33、连接盖板;34、固定螺母;35、垫圈;4、电机;41、电动转轮;42、刷座;43、圆形挡板;44、矩形挡板。

具体实施方式

为使本实用新型的技术方案更加清楚明白,下面结合附图具体实施例对本实用新型作进一步说明。

如图1-7所示,本实用新型所述的一种钢管表面水泥清除装置,其特征是:包括底座1为本体;所述底座1上设置有固定方柱11,两条固定方柱11顶部连接有六角螺母32固定的连接盖板33,固定方柱11中部设有滑动凹槽17,且滑动凹槽17上设置有上滚轮12和下滚轮14,上滚轮12和下滚轮14均呈现V形;所述上滚轮12上设置有滑动轴13,上滚轮12的滑动轴13左端设有圆形挡板43,且圆形挡板43在固定方柱11外侧;所述下滚轮14上设置有锁死轴15,下滚轮14的锁死轴15左端设有矩形挡板44,且矩形挡板44设置在固定方柱11外;下滚轮14的锁死轴15右端设有螺纹18,且螺纹18上设置有旋钮16;所述底座1中部设置有一个支撑板3,且支撑板3上下端部分别设有一个固定转轮31;所述底座1上设置有一个电机4,电机4上设置有一个电动转轮41,且电动转轮41与上述的两个固定转轮31在同一平面,电动转轮41圆心和两个固定转轮31的圆心呈三角形状,且有旋转板2设置于三角形中,旋转板2边缘与电动转轮41和两个固定转轮31贴合,通过电机4带动电动转轮41转动,使旋转板2转动;所述旋转板2中部设置有圆形孔洞28;所述旋转板2上下两端对称设置有两个限位柱21,限位柱21上设置有固定螺母34,且限位柱21和固定螺母34之间设置有垫圈35,旋转板2左右两端对称设置有两个连接柱221,两个限位柱21分别设置于滑动盖板24的两个滑行槽25内,且滑动盖板24左右两端设置有两个凸柱222;所述旋转板2上的两个连接柱221与上述的滑动盖板24上的两个凸柱222之间分别设置有拉簧29,拉簧通过焊接与连接柱221和凸柱222固定连接,两个拉簧29分别置于圆形孔洞28两侧;所述旋转板2反面上下两端设置有刷座42,刷座42上设有螺栓27,刷座42上插有清洁刷23,且清洁刷23上部设置有弹簧26。

使用时,用手将钢管插入上滚轮12和下滚轮14之间,调节下滚轮的锁死轴15,将钢管对准旋转板2中部的圆形孔洞28,扭动旋钮16将锁死轴15锁死固定;调节旋转板2背面的清洁刷23的长度,贴合钢管,用螺栓27锁死清洁刷23;启动电机4,电动转轮41带动旋转板2旋转,限位柱21在滑动盖板24的滑行槽25内滑动,将旋转板2和滑动盖板24之间的拉簧29拉紧,对水泥进行清理;当钢管表面水泥较硬时,改变电机4转速,旋转过程中,限位柱21在滑行槽25内的滑动距离增大,拉簧29压紧钢管表面的力度增大,拉动钢管穿过圆形孔洞28,将钢管表面的硬质水泥清除干净。

以上所述,仅为本实用新型较佳的具体实施方式,但本实用新型的保护范围并不局限于此,任何熟悉本技术领域的技术人员在本实用新型揭露的技术范围内,根据本实用新型的技术方案及其实用新型构思加以等同替换或改变,都应涵盖在本实用新型的保护范围之内。

价值度评估

技术价值

经济价值

法律价值

0 0 0

58.0

0 50 75 100
0~50 50~75 75~100 价值较低 中等价值 价值较高

专利价值度是通过科学的评估模

型对专利价值进行量化的结果,

基于专利大数据针对专利总体特

征指标利用计算机自动化技术对

待评估专利进行高效、智能化的

分析,从技术、经济和法律价值

三个层面构建专利价值评估体

系,可以有效提升专利价值评估

的质量和效率。

总评:58.0


该专利价值中等 (仅供参考)

        该专利的技术、经济、法律价值经系统自动评估后的总评得分处于平均水平,可以重点研究利用其技术价值,根据法律价值的评估结果选择合适的使用借鉴方式。
        本专利文献中包含【1 个实施例】、【2 个技术分类】,从一定程度上而言上述指标的数值越大可以反映出所述专利的技术保护及应用范围越广。 【被引用次数1 次】专利被引次数越多越能能够体现出该专利在相关技术领域研发中所发挥的基础性作用,代表着专利公开的内容有更多的产业利用价值。 【专利权的维持时间5 年】专利权的维持时间越长,其价值对于权利人而言越高。

技术价值    31.0

该指标主要从专利申请的著录信息、法律事件等内容中挖掘其技术价值,专利类型、独立权利要求数量、无效请求次数等内容均可反映出专利的技术性价值。 技术创新是专利申请的核心,若您需要进行技术借鉴或寻找可合作的项目,推荐您重点关注该指标。

部分指标包括:

授权周期(发明)

9 个月

独立权利要求数量

1 个

从属权利要求数量

4 个

说明书页数

3 页

实施例个数

1 个

发明人数量

1 个

被引用次数

1 次

引用文献数量

1 个

优先权个数

0 个

技术分类数量

2 个

无效请求次数

0 个

分案子案个数

0 个

同族专利数

0 个

专利获奖情况

保密专利的解密

经济价值    8.0

该指标主要指示了专利技术在商品化、产业化及市场化过程中可能带来的预期利益。 专利技术只有转化成生产力才能体现其经济价值,专利技术的许可、转让、质押次数等指标均是其经济价值的表征。 因此,若您希望找到行业内的运用广泛的热点专利技术及侵权诉讼中的涉案专利,推荐您重点关注该指标。

部分指标包括:

申请人数量

1

申请人类型

企业

许可备案

0 次

权利质押

0 次

权利转移

0 个

海关备案

法律价值    19.0

该指标主要从专利权的稳定性角度评议其价值。专利权是一种垄断权,但其在法律保护的期间和范围内才有效。 专利权的存续时间、当前的法律状态可反映出其法律价值。故而,若您准备找寻权属稳定且专利权人非常重视的专利技术,推荐您关注该指标。

部分指标包括:

存活期/维持时间

5

法律状态

无权-未缴年费