【中国实用新型】一种钢管去泥装置

无权-未缴年费 中国

授权公告日/公开日:
2019.03.29
专利有效期:
2018.05.31-2028.05.31
技术分类:
B08:清洁
转化方式:
转让
价值度指数:
55.0分
价格:
面议
1361 0

发布人

宿迁知芃智能科技有限公司

联系人桑明喆

18896524795
2603577858@qq.com
2603577858
18896524795
苏州市吴中区致能大道106号
  • 专利信息&法律状态
  • 专利自评
  • 专利技术文档
  • 价值度指数
  • 发明人阵容

著录项

申请号
CN201820834972.4
申请日
20180531
公开/公告号
CN208662008U
公开/公告日
20190329
申请/专利权人
[宿迁知芃智能科技有限公司]
发明/设计人
[桑明喆]
主分类号
B08B9/023
IPC分类号
C12N 9/0008(2013.01) C12N 9/16
CPC分类号
C12N 9/0008(2013.01) C12N 9/16(2013.01)
分案申请地址
国省代码
江苏(32)
颁证日
G06T1/00
代理人

摘要

本实用新型涉及一种钢管去泥装置,以底座为本体;所述底座上部前后各设有支撑臂,右侧设有固定臂,所述两对支撑臂中间为矩形镂空,且上部通过一号螺栓固定有盖板,固定臂上设有两个传动轮;所述支撑臂的通槽内设有固定轴与锁紧轴;所述底座左侧通过三号螺栓固定有电动机;所述两支撑臂之间设有转盘;所述转盘中间设有圆形孔道,所述扭簧固定于凸柱上部,且通过凸柱与板刷实现卡合,转盘背面上下各设有固定板,固定板上设有圆形通孔,且有细钢刷通过该通孔,通过弹簧与固定板实现固定连接;本实用新型通过板刷与细钢刷约束于转盘两侧,可对钢管同时进行粗刷与细刷,去泥高效,使用方便,且不易对钢管造成损坏。

法律状态

法律状态公告日 20230609
法律状态 专利权的终止
法律状态信息 未缴年费专利权终止
IPC(主分类):B08B 9/023
专利号:ZL2018208349724
申请日:20180531
授权公告日:20190329
终止日期:
法律状态公告日 20190329
法律状态 授权
法律状态信息 授权
暂无数据

权利要求

权利要求数量(3

独立权利要求数量(1

1.一种钢管去泥装置,其特征是:以底座为本体;所述底座上部前后各设有支撑臂,右侧设有固定臂,所述支撑臂中间为矩形镂空,侧面均设有通槽,且上部通过一号螺栓固定有盖板,固定臂上设有两个传动轮;所述支撑臂的通槽内设有固定轴与锁紧轴,且固定轴右端设有圆形挡板,锁紧轴右端设有矩形挡板,左端设有螺纹,且螺纹上设有旋钮锁紧,锁紧轴与固定轴上均设置有滚轮;所述滚轮中间呈V字形,侧面设有穿孔;所述底座左侧通过三号螺栓固定有电动机,且电动机前部设有转轮;所述支撑臂之间设有转盘,且转盘分别与转轮与传动轮相配合,所述转盘中间设有圆形孔道,且转盘正面设有三个凸柱,所述每个凸柱顶端均通过二号螺栓固定有垫片,且凸柱上设有扭簧与板刷,所述扭簧固定于凸柱上部,且通过凸柱与板刷实现卡合,转盘背面上下各设有固定板,固定板上设有圆形通孔,且有细钢刷通过该通孔,通过弹簧与固定板实现固定连接。

2.根据权利要求1所述的一种钢管去泥装置,其特征在于:所述板刷上的刷面呈锯齿状,有助于增强清除效果。

3.根据权利要求1所述的一种钢管去泥装置,其特征在于:所述转轮与两个传动轮呈正三角形分布,卡合转盘。

1.一种钢管去泥装置,其特征是:以底座为本体;所述底座上部前后各设有支撑臂,右侧设有固定臂,所述支撑臂中间为矩形镂空,侧面均设有通槽,且上部通过一号螺栓固定有盖板,固定臂上设有两个传动轮;所述支撑臂的通槽内设有固定轴与锁紧轴,且固定轴右端设有圆形挡板,锁紧轴右端设有矩形挡板,左端设有螺纹,且螺纹上设有旋钮锁紧,锁紧轴与固定轴上均设置有滚轮;所述滚轮中间呈V字形,侧面设有穿孔;所述底座左侧通过三号螺栓固定有电动机,且电动机前部设有转轮;所述支撑臂之间设有转盘,且转盘分别与转轮与传动轮相配合,所述转盘中间设有圆形孔道,且转盘正面设有三个凸柱,所述每个凸柱顶端均通过二号螺栓固定有垫片,且凸柱上设有扭簧与板刷,所述扭簧固定于凸柱上部,且通过凸柱与板刷实现卡合,转盘背面上下各设有固定板,固定板上设有圆形通孔,且有细钢刷通过该通孔,通过弹簧与固定板实现固定连接。

2.根据权利要求1所述的一种钢管去泥装置,其特征在于:所述板刷上的刷面呈锯齿状,有助于增强清除效果。

3.根据权利要求1所述的一种钢管去泥装置,其特征在于:所述转轮与两个传动轮呈正三角形分布,卡合转盘。

说明书

技术领域

本实用新型涉及机械技术领域,特指一种钢管去泥装置。

背景技术

在施工时,水泥等物很容易附着粘固在钢管上,当需要再次使用钢管搭架子时,首先要将钢管上的水泥去除,才可以再次使用,以免钢管之间固定不够紧密发生危险。目前去除钢管上的水泥主要使用手工锤击的方式去除钢管上的水泥,不仅浪费人力,且速度很慢,还容易对钢管造成损坏。

发明内容

为解决上述问题,本实用新型提供一种钢管去泥装置。

本实用新型解决其技术问题所采用的技术方案是:一种钢管去泥装置,其特征是:以底座为本体;所述底座上部前后各设有支撑臂,右侧设有固定臂,所述支撑臂中间为矩形镂空,侧面均设有通槽,且上部通过一号螺栓固定有盖板,固定臂上设有两个传动轮;所述支撑臂的通槽内设有固定轴与锁紧轴,且固定轴右端设有圆形挡板,锁紧轴右端设有矩形挡板,左端设有螺纹,且螺纹上设有旋钮锁紧,锁紧轴与固定轴上均设置有滚轮;所述滚轮中间呈V字形,侧面设有穿孔,所述底座左侧通过三号螺栓固定有电动机,且电动机前部设有转轮;所述支撑臂之间设有转盘,且转盘分别与转轮与传动轮相配合,所述转盘中间设有圆形孔道,且转盘正面设有三个凸柱,所述每个凸柱顶端均通过二号螺栓固定有垫片,且凸柱上设有扭簧与板刷,所述扭簧固定于凸柱上部,且通过凸柱与板刷实现卡合,转盘背面上下各设有固定板,固定板上设有圆形通孔,且有细钢刷通过该通孔,通过弹簧与固定板实现固定连接。

优选的,所述板刷上的刷面呈锯齿状,有助于增强清除效果。

优选的,所述转轮与两个传动轮呈正三角形分布,卡合转盘。

本实用新型的有益效果是:板刷与细钢刷约束于转盘两侧,可对钢管同时进行粗刷与细刷,去泥高效,使用方便,且不易对钢管造成损坏。

附图说明

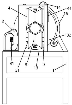
图1为一种钢管去泥装置的前部总体结构示意图。

图2为图1的A部放大图。

图3为一种钢管去泥装置的细钢刷位置结构示意图。

图4为图3中B部的放大图。

图5为一种钢管去泥装置的主视图。

其中,1、底座;11、支撑臂;12、通槽;13、矩形镂空;14、传动轮;15、固定臂;2、旋钮;3、锁紧轴;31、螺纹;32、矩形挡板;4、固定轴;41、圆形挡板;5、滚轮;51、穿孔;6、盖板;7、一号螺栓;8、电动机;81、转轮;9、转盘;91、固定板;92、通孔;93、孔道;94、凸柱;10、板刷;101、锯齿;20、扭簧;30、细钢刷;40、垫片;50、二号螺栓;60、弹簧;70、三号螺栓。

具体实施方式

为使本实用新型的技术方案更加清楚明白,下面结合附图具体实施例对本实用新型作进一步说明。

如图1-5所示,本实用新型所述的一种钢管去泥装置,其特征是:以底座1为本体;所述底座1上部前后各设有支撑臂11,右侧设有固定臂15,所述支撑臂11中间为矩形镂空13,侧面均设有通槽12,且上部通过一号螺栓7固定有盖板6,固定臂15上设有两个传动轮14;所述支撑臂11的通槽12内设有固定轴4与锁紧轴3,且固定轴4右端设有圆形挡板41,锁紧轴3右端设有矩形挡板42,左端设有螺纹31,且螺纹31上设有旋钮2锁紧,锁紧轴3与固定轴4上均设置有滚轮5;所述滚轮5中间呈V字形,侧面设有穿孔51;所述底座1左侧通过三号螺栓70固定有电动机8,且电动机8前部设有转轮81;所述支撑臂11之间设有转盘9,且转盘9分别与转轮81与传动轮14相配合,所述转盘9中间设有圆形孔道93,且转盘9正面设有三个凸柱94,所述每个凸柱94顶端均通过二号螺栓50固定有垫片40,且凸柱94上设有扭簧20与板刷10,所述扭簧20固定于凸柱94上部,且通过凸柱94与板刷20实现卡合,转盘9背面上下各设有固定板91,固定板91上设有圆形通孔92,且有细钢刷30通过该通孔92,通过弹簧60与固定板91实现固定连接。

使用时,将待去泥钢管塞入上下两个定位块5之间,钢管将上边的定位块5自然顶起,此时,两定位块5将钢管托住,调整锁紧轴3高度,使圆管与孔道93处于同一高度,且板刷10贴合于钢管外侧;打开开关,推动钢管向前运动,转盘9在转轮81的带动下转动,板刷10绕圆管转动,去除泥垢,穿过转盘9后,钢管接触背面细钢刷30进行二次去泥,继续推动钢管,直到去泥完成后,抽出钢管,关闭电源。

以上所述,仅为本实用新型较佳的具体实施方式,但本实用新型的保护范围并不局限于此,任何熟悉本技术领域的技术人员在本实用新型揭露的技术范围内,根据本实用新型的技术方案及其实用新型构思加以等同替换或改变,都应涵盖在本实用新型的保护范围之内。

价值度评估

技术价值

经济价值

法律价值

0 0 0

55.0

0 50 75 100
0~50 50~75 75~100 价值较低 中等价值 价值较高

专利价值度是通过科学的评估模

型对专利价值进行量化的结果,

基于专利大数据针对专利总体特

征指标利用计算机自动化技术对

待评估专利进行高效、智能化的

分析,从技术、经济和法律价值

三个层面构建专利价值评估体

系,可以有效提升专利价值评估

的质量和效率。

总评:55.0


该专利价值中等 (仅供参考)

        该专利的技术、经济、法律价值经系统自动评估后的总评得分处于平均水平,可以重点研究利用其技术价值,根据法律价值的评估结果选择合适的使用借鉴方式。
        本专利文献中包含【1 个实施例】、【1 个技术分类】,从一定程度上而言上述指标的数值越大可以反映出所述专利的技术保护及应用范围越广。 【专利权的维持时间5 年】专利权的维持时间越长,其价值对于权利人而言越高。

技术价值    28.0

该指标主要从专利申请的著录信息、法律事件等内容中挖掘其技术价值,专利类型、独立权利要求数量、无效请求次数等内容均可反映出专利的技术性价值。 技术创新是专利申请的核心,若您需要进行技术借鉴或寻找可合作的项目,推荐您重点关注该指标。

部分指标包括:

授权周期(发明)

9 个月

独立权利要求数量

1 个

从属权利要求数量

2 个

说明书页数

2 页

实施例个数

1 个

发明人数量

1 个

被引用次数

0 次

引用文献数量

0 个

优先权个数

0 个

技术分类数量

1 个

无效请求次数

0 个

分案子案个数

0 个

同族专利数

0 个

专利获奖情况

保密专利的解密

经济价值    8.0

该指标主要指示了专利技术在商品化、产业化及市场化过程中可能带来的预期利益。 专利技术只有转化成生产力才能体现其经济价值,专利技术的许可、转让、质押次数等指标均是其经济价值的表征。 因此,若您希望找到行业内的运用广泛的热点专利技术及侵权诉讼中的涉案专利,推荐您重点关注该指标。

部分指标包括:

申请人数量

1

申请人类型

企业

许可备案

0 次

权利质押

0 次

权利转移

0 个

海关备案

法律价值    19.0

该指标主要从专利权的稳定性角度评议其价值。专利权是一种垄断权,但其在法律保护的期间和范围内才有效。 专利权的存续时间、当前的法律状态可反映出其法律价值。故而,若您准备找寻权属稳定且专利权人非常重视的专利技术,推荐您关注该指标。

部分指标包括:

存活期/维持时间

5

法律状态

无权-未缴年费