【中国实用新型】一种SFP-DD高速信号电连接器

无权-未缴年费 中国

授权公告日/公开日:
2018.12.04
专利有效期:
2018.06.01-2028.06.01
技术分类:
H01:基本电气元件
转化方式:
转让
价值度指数:
61.0分
价格:
¥11605.00
1522 0

发布人

东莞铭同精密电子有限公司

联系人赖颖珊

+8613559778745
453560128@qq.com
广东省东莞市石排镇
  • 专利信息&法律状态
  • 专利自评
  • 专利技术文档
  • 价值度指数
  • 发明人阵容

著录项

申请号
CN201820851586.6
申请日
20180601
公开/公告号
CN208189873U
公开/公告日
20181204
申请/专利权人
[东莞铭普光磁股份有限公司]
发明/设计人
[李志深, 王艳红, 陈康, 张凯, 骆水兵]
主分类号
H01R13/514
IPC分类号
C12N 9/0008(2013.01) C12N 9/16
CPC分类号
C12N 9/0008(2013.01) C12N 9/16(2013.01)
分案申请地址
国省代码
广东(44)
颁证日
G06T1/00
代理人
[陈志海, 李海建]

摘要

本实用新型公开了一种SFP‑DD高速信号电连接器,其第一、第二模块导电端子采用直接组装式;第三、第四模块利用注塑成型于若干导电子结构,装配后直接插入至绝缘本体胶芯,保证产品SMT焊脚面平面度;自动化制程生产可投入。本方案通过占有小尺寸的端子与塑胶固持件结构设计,保证了在高密度小空间内实现高速传输信号的完整性,不影响产品的信号传输高速率的情况下改善制程的可制造性,在节省生产成本的同时,达到信号完整性、产品制造性以及产品小型化的平衡。

法律状态

法律状态公告日 20240621
法律状态 专利权的终止
法律状态信息 未缴年费专利权终止
IPC(主分类):H01R 13/514
专利号:ZL2018208515866
申请日:20180601
授权公告日:20181204
终止日期:
法律状态公告日 20200918
法律状态 专利申请权、专利权的转移
法律状态信息 专利权的转移
IPC(主分类):H01R 13/514
专利号:ZL2018208515866
登记生效日:20200831
变更事项:专利权人
变更前权利人:东莞铭普光磁股份有限公司
变更后权利人:东莞铭同精密电子有限公司
变更事项:地址
变更前权利人:523343 广东省东莞市石排镇庙边王沙迳村中九路
变更后权利人:523000 广东省东莞市石排镇庙边王石岗路22号
法律状态公告日 20181204
法律状态 授权
法律状态信息 授权
事务数据公告日 20200918
事务数据类型 专利申请权、专利权的转移
转让详情 专利权的转移
IPC(主分类):H01R 13/514
专利号:ZL2018208515866
登记生效日:20200831
变更事项:专利权人
变更前权利人:东莞铭普光磁股份有限公司
变更后权利人:东莞铭同精密电子有限公司
变更事项:地址
变更前权利人:523343 广东省东莞市石排镇庙边王沙迳村中九路
变更后权利人:523000 广东省东莞市石排镇庙边王石岗路22号
暂无数据

权利要求

权利要求数量(8

独立权利要求数量(1

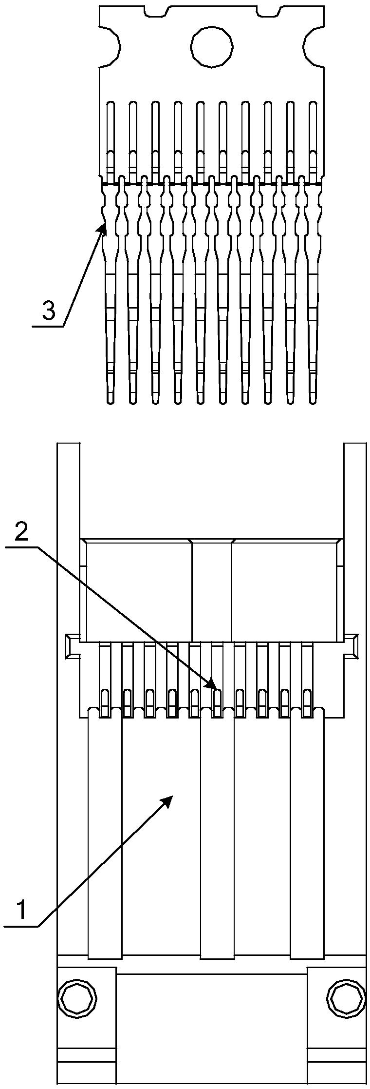
1.一种SFP-DD高速信号电连接器,包括绝缘本体胶芯(1)及组装于其内的第一模块(2)、第二模块(3)、第三模块(5)和第四模块(6);

其特征在于,所述第一模块(2)和所述第二模块(3)均为下排端子;

所述绝缘本体胶芯(1)的腔体内设置有与所述第一模块(2)中各导电端子一一对应的第一装配槽;

所述SFP-DD高速信号电连接器还包括绝缘定位件(4);所述绝缘本体胶芯(1)的底部设置有与所述绝缘定位件(4)配合的装配结构,所述绝缘定位件(4)具有与所述第二模块(3)中各导电端子一一对应的第二装配槽。

2.根据权利要求1所述的SFP-DD高速信号电连接器,其特征在于,所述装配结构为开设在所述绝缘本体胶芯(1)底部的凹槽(11),所述绝缘定位件(4)具有与所述凹槽安装配合的凸起。

3.根据权利要求2所述的SFP-DD高速信号电连接器,其特征在于,所述凹槽(11)沿所述绝缘本体胶芯(1)的竖向开设。

4.根据权利要求2所述的SFP-DD高速信号电连接器,其特征在于,所述绝缘定位件(4)远离所述第一模块(2)的一侧开设所述第二装配槽,所述绝缘定位件(4)靠近所述第一模块(2)的一侧为沿竖向的平面。

5.根据权利要求1所述的SFP-DD高速信号电连接器,其特征在于,所述第三模块(5)和所述第四模块(6)均包括导电端子及在其上注塑成型的绝缘块,所述第三模块(5)的绝缘块具有与所述第四模块(6)的绝缘块配合的安装结构。

6.根据权利要求5所述的SFP-DD高速信号电连接器,其特征在于,所述第三模块(5)的绝缘块和所述第四模块(6)的绝缘块通过柱位和柱孔的结构配合安装。

7.根据权利要求5所述的SFP-DD高速信号电连接器,其特征在于,所述第三模块(5)的绝缘块包括靠近其导电端子焊脚端的第三焊脚绝缘块,所述第四模块(6)的绝缘块包括靠近其导电端子焊脚端的第四焊脚绝缘块;

所述第三焊脚绝缘块具有第三柱位(51),所述第四焊脚绝缘块具有第四柱位(61),且在所述第三模块(5)和所述第四模块(6)装配后,所述第三柱位(51)和所述第四柱位(61)前后平齐,所述绝缘本体胶芯(1)具有与所述第三柱位(51)和所述第四柱位(61)配合的同一槽位(12)。

8.根据权利要求7所述的SFP-DD高速信号电连接器,其特征在于,所述第三柱位(51)和所述第四柱位(61)的截面均为矩形,在所述第三模块(5)和所述第四模块(6)装配后,所述第三柱位(51)和所述第四柱位(61)前后平行;所述槽位(12)沿所述绝缘本体胶芯(1)的前后方向开设,所述槽位(12)的截面为与所述第三柱位(51)和所述第四柱位(61)配合的矩形。

1.一种SFP-DD高速信号电连接器,包括绝缘本体胶芯(1)及组装于其内的第一模块(2)、第二模块(3)、第三模块(5)和第四模块(6);

其特征在于,所述第一模块(2)和所述第二模块(3)均为下排端子;

所述绝缘本体胶芯(1)的腔体内设置有与所述第一模块(2)中各导电端子一一对应的第一装配槽;

所述SFP-DD高速信号电连接器还包括绝缘定位件(4);所述绝缘本体胶芯(1)的底部设置有与所述绝缘定位件(4)配合的装配结构,所述绝缘定位件(4)具有与所述第二模块(3)中各导电端子一一对应的第二装配槽。

2.根据权利要求1所述的SFP-DD高速信号电连接器,其特征在于,所述装配结构为开设在所述绝缘本体胶芯(1)底部的凹槽(11),所述绝缘定位件(4)具有与所述凹槽安装配合的凸起。

3.根据权利要求2所述的SFP-DD高速信号电连接器,其特征在于,所述凹槽(11)沿所述绝缘本体胶芯(1)的竖向开设。

4.根据权利要求2所述的SFP-DD高速信号电连接器,其特征在于,所述绝缘定位件(4)远离所述第一模块(2)的一侧开设所述第二装配槽,所述绝缘定位件(4)靠近所述第一模块(2)的一侧为沿竖向的平面。

5.根据权利要求1所述的SFP-DD高速信号电连接器,其特征在于,所述第三模块(5)和所述第四模块(6)均包括导电端子及在其上注塑成型的绝缘块,所述第三模块(5)的绝缘块具有与所述第四模块(6)的绝缘块配合的安装结构。

6.根据权利要求5所述的SFP-DD高速信号电连接器,其特征在于,所述第三模块(5)的绝缘块和所述第四模块(6)的绝缘块通过柱位和柱孔的结构配合安装。

7.根据权利要求5所述的SFP-DD高速信号电连接器,其特征在于,所述第三模块(5)的绝缘块包括靠近其导电端子焊脚端的第三焊脚绝缘块,所述第四模块(6)的绝缘块包括靠近其导电端子焊脚端的第四焊脚绝缘块;

所述第三焊脚绝缘块具有第三柱位(51),所述第四焊脚绝缘块具有第四柱位(61),且在所述第三模块(5)和所述第四模块(6)装配后,所述第三柱位(51)和所述第四柱位(61)前后平齐,所述绝缘本体胶芯(1)具有与所述第三柱位(51)和所述第四柱位(61)配合的同一槽位(12)。

8.根据权利要求7所述的SFP-DD高速信号电连接器,其特征在于,所述第三柱位(51)和所述第四柱位(61)的截面均为矩形,在所述第三模块(5)和所述第四模块(6)装配后,所述第三柱位(51)和所述第四柱位(61)前后平行;所述槽位(12)沿所述绝缘本体胶芯(1)的前后方向开设,所述槽位(12)的截面为与所述第三柱位(51)和所述第四柱位(61)配合的矩形。

说明书

技术领域

本实用新型涉及光模块类SFP-DD电连接器技术领域,特别涉及一种SFP-DD高速信号电连接器。

背景技术

随着国家带宽的不断升级,云技术的发展及4G技术的普及和5G技术的发展,SFP-DD(四通道小型可插拔设备)是专为光通讯、数据中心和网络应用市场而设计的高密度、高速率产品解决方案。

行业对传输速率要求越来越高,通信设备密度越来越小,对传输速度要求不断提升。随传输速率的提高,高速信号带来了更多的入射、反射、衰减、耦合、串扰等等问题。

如何在高密度小空间内实现高速传输信号的完整性是目前各大厂商所要解决的技术难题。

发明内容

有鉴于此,本实用新型提供了一种SFP-DD高速信号电连接器,不影响产品的信号传输高速率的情况下改善制程的可制造性,在节省生产成本的同时,提供一种占有小尺寸的端子与塑胶固持件,从而达到信号完整性、产品制造性以及产品小型化的平衡。

为实现上述目的,本实用新型提供如下技术方案:

一种SFP-DD高速信号电连接器,包括绝缘本体胶芯及组装于其内的第一模块、第二模块、第三模块和第四模块;

所述第一模块和所述第二模块均为下排端子;

所述绝缘本体胶芯的腔体内设置有与所述第一模块中各导电端子一一对应的第一装配槽;

所述SFP-DD高速信号电连接器还包括绝缘定位件;所述绝缘本体胶芯的底部设置有与所述绝缘定位件配合的装配结构,所述绝缘定位件具有与所述第二模块中各导电端子一一对应的第二装配槽。

优选的,所述装配结构为开设在所述绝缘本体胶芯底部的凹槽,所述绝缘定位件具有与所述凹槽安装配合的凸起。

优选的,所述凹槽沿所述绝缘本体胶芯的竖向开设。

优选的,所述绝缘定位件远离所述第一模块的一侧开设所述第二装配槽,所述绝缘定位件靠近所述第一模块的一侧为沿竖向的平面。

优选的,所述第三模块和所述第四模块均包括导电端子及在其上注塑成型的绝缘块,所述第三模块的绝缘块具有与所述第四模块的绝缘块配合的安装结构。

优选的,所述第三模块的绝缘块和所述第四模块的绝缘块通过柱位和柱孔的结构配合安装。

优选的,所述第三模块的绝缘块包括靠近其导电端子焊脚端的第三焊脚绝缘块,所述第四模块的绝缘块包括靠近其导电端子焊脚端的第四焊脚绝缘块;

所述第三焊脚绝缘块具有第三柱位,所述第四焊脚绝缘块具有第四柱位,且在所述第三模块和所述第四模块装配后,所述第三柱位和所述第四柱位前后平齐,所述绝缘本体胶芯具有与所述第三柱位和所述第四柱位配合的同一槽位。

优选的,所述第三柱位和所述第四柱位的截面均为矩形,在所述第三模块和所述第四模块装配后,所述第三柱位和所述第四柱位前后平行;所述槽位沿所述绝缘本体胶芯的前后方向开设,所述槽位的截面为与所述第三柱位和所述第四柱位配合的矩形。

从上述的技术方案可以看出,本实用新型提供的SFP-DD高速信号电连接器,通过占有小尺寸的端子与塑胶固持件结构设计,保证了在高密度小空间内实现高速传输信号的完整性,不影响产品的信号传输高速率的情况下改善制程的可制造性,在节省生产成本的同时,达到信号完整性、产品制造性以及产品小型化的平衡。

附图说明

为了更清楚地说明本实用新型实施例或现有技术中的技术方案,下面将对实施例或现有技术描述中所需要使用的附图作简单地介绍,显而易见地,下面描述中的附图仅仅是本实用新型的一些实施例,对于本领域普通技术人员来讲,在不付出创造性劳动的前提下,还可以根据这些附图获得其他的附图。

图1为本实用新型实施例提供的SFP-DD高速信号电连接器的爆炸示意图;

图2为本实用新型实施例提供的第一模块与绝缘本体胶芯装配相对位置的底面结构示意图;

图3为本实用新型实施例提供的第一模块与绝缘本体胶芯装配相对位置的侧面结构示意图;

图4为本实用新型实施例提供的第一模块装入绝缘本体胶芯的立体示意图;

图5为本实用新型实施例提供的绝缘定位件装入绝缘本体胶芯的立体示意图;

图6为本实用新型实施例提供的第二模块与绝缘本体胶芯装配相对位置的底面结构示意图;

图7为本实用新型实施例提供的第二模块与绝缘本体胶芯装配相对位置的侧面结构示意图;

图8为本实用新型实施例提供的第二模块装入绝缘本体胶芯的立体示意图;

图9为本实用新型实施例提供的第三模块与绝缘本体胶芯装配相对位置的底面结构示意图;

图10为本实用新型实施例提供的第三模块与绝缘本体胶芯装配相对位置的侧面结构示意图;

图11为本实用新型实施例提供的第三模块装入绝缘本体胶芯的立体示意图;

图12为本实用新型实施例提供的第三模块导电端子冲压的结构示意图;

图13为本实用新型实施例提供的第三模块导电端子包胶的结构示意图;

图14为本实用新型实施例提供的第三模块导电端子折弯的结构示意图;

图15为本实用新型实施例提供的第四模块与绝缘本体胶芯装配相对位置的底面结构示意图;

图16为本实用新型实施例提供的第四模块与绝缘本体胶芯装配相对位置的侧面结构示意图;

图17为本实用新型实施例提供的第四模块装入绝缘本体胶芯的立体示意图;

图18为本实用新型实施例提供的第四模块导电端子冲压的结构示意图;

图19为本实用新型实施例提供的第四模块导电端子包胶的结构示意图;

图20为本实用新型实施例提供的第四模块导电端子折弯的结构示意图;

图21为本实用新型实施例提供的第三模块和第四模块柱位相配合的示意图;

图22为本实用新型实施例提供的第三模块和第四模块柱位的装配示意图;

图23为本实用新型实施例提供的SFP-DD高速信号电连接器的自动化组装制程说明示意图。

其中,1为绝缘本体胶芯,11为凹槽,12为槽位;2为第一模块;3为第二模块;4为绝缘定位件;5为第三模块,51为第三柱位;6为第四模块,61为第四柱位。

具体实施方式

下面将结合本实用新型实施例中的附图,对本实用新型实施例中的技术方案进行清楚、完整地描述,显然,所描述的实施例仅仅是本实用新型一部分实施例,而不是全部的实施例。基于本实用新型中的实施例,本领域普通技术人员在没有做出创造性劳动前提下所获得的所有其他实施例,都属于本实用新型保护的范围。

本实用新型实施例提供的SFP-DD高速信号电连接器,包括绝缘本体胶芯1及组装于其内的第一模块2、第二模块3、第三模块5和第四模块6;

其中,第一模块2和第二模块3均为下排端子;相应的,第三模块5和第四模块6均为上排端子;

绝缘本体胶芯1的腔体内设置有与第一模块2中各导电端子一一对应的第一装配槽,在本方案中第一模块2为下排长端子;

SFP-DD高速信号电连接器还包括绝缘定位件4;绝缘本体胶芯1的底部设置有与绝缘定位件4配合的装配结构,绝缘定位件4具有与第二模块3中各导电端子一一对应的第二装配槽,这里具体为与导电端子靠近其焊脚端的部分配合,在本方案中第二模块3为下排短端子。其结构可以参照图1-图8所示。可以理解的是,本方案中所讲的“下排”、“上排”和“底部”的方向位置概念都是基于相对绝缘本体胶芯1结构而言,后文的方位概念同理。

从上述的技术方案可以看出,本实用新型实施例提供的SFP-DD高速信号电连接器,其第一模块2和第二模块3的导电端子均为采用直接组装式,保证了在高密度小空间内实现高速传输信号的完整性,不影响产品的信号传输高速率的情况下改善制程的可制造性,在节省生产成本的同时,达到信号完整性、产品制造性以及产品小型化的平衡。

作为优选,装配结构为开设在绝缘本体胶芯1底部的凹槽11,绝缘定位件4具有与凹槽安装配合的凸起,结构简单,便于组装,其结构可以参照图4、图5和图8所示。在本实施例中,在绝缘本体胶芯1的左右侧壁沿其竖向均开设有凹槽11,绝缘定位件4的左右两侧均具有相应凸起。进一步的,凹槽11的进口处为缩口结构,凸起的插入端为逐渐变大的结构,以便于装配。当然,还可以采用其他形式的装配结构,在此不再赘述。

在本实施例中,绝缘定位件4远离第一模块2的一侧开设第二装配槽,绝缘定位件4靠近第一模块2的一侧为沿竖向的平面,以避免与其他部件发生干涉,绝缘定位件4具体可以为如图1、图5和图8所示所示的方形结构。可以理解的是,本方案中所讲的“靠近”和“远离”的方向位置概念都是基于绝缘定位件4在绝缘本体胶芯1上的装配状态而言,下同。

作为优选,第三模块5和第四模块6均包括导电端子及在其上注塑成型的绝缘块,第三模块5的绝缘块具有与第四模块6的绝缘块配合的安装结构。如此设置,第三模块5和第四模块6可以先组合到一起后再装入绝缘本体胶芯1,来控制这两个模块之间的相对位置,以达到使它们(进而实现四个)的焊脚均在同一位置上面,保证产品SMT焊脚面平面度。

具体的,第三模块5的绝缘块和第四模块6的绝缘块通过柱位和柱孔的结构配合安装,结构简单,便于组装,定位有效,通过柱位相配合来固定,来达到控制平面度的目的。其结构可以参照图21所示。进一步的,柱位和柱孔为多组,位于模块的不同绝缘块上,以提高定位效果,本实施例中具体为两处。

为了进一步优化上述的技术方案,第三模块5的绝缘块包括靠近其导电端子焊脚端的第三焊脚绝缘块,第四模块6的绝缘块包括靠近其导电端子焊脚端的第四焊脚绝缘块,其结构可以参照图22所示;

第三焊脚绝缘块具有第三柱位51,第四焊脚绝缘块具有第四柱位61,且在第三模块5和第四模块6装配后,第三柱位51和第四柱位61前后平齐,绝缘本体胶芯1具有与第三柱位51和第四柱位61配合的同一槽位12,其结构可以参照图2所示。本方案通过在第三模块5和第四模块6装配后,两者上的第三柱位51和第四柱位61沿绝缘本体胶芯1前后方向平齐,则保证了在装入同一槽位12时两个模块的姿态一致,即有效控制了这两个模块之间的相对位置,以达到使它们(进而实现四个)的焊脚均在同一位置上面,保证产品SMT焊脚面平面度

具体的,第三柱位51和第四柱位61均为截面为矩形的凸起筋条,在第三模块5和第四模块6装配后这两个柱位前后平行;槽位12沿绝缘本体胶芯1前后方向开设,其截面为与第三柱位51和第四柱位61配合的矩形。当然,第三柱位51、第四柱位61和槽位12的结构并不仅仅局限于此,在此不再赘述。

本实用新型实施例还提供了一种SFP-DD高速信号电连接器的组装方法,用于组装如上述的SFP-DD高速信号电连接器,包括步骤:

S1、将采用冲压撕破得到的第一模块2装入绝缘本体胶芯1的第一装配槽内,并折去除料带,之后进入步骤S2;该插端式第一模块导电端子的结构可以参照图2和图3所示;

S2、将绝缘定位件4装入绝缘本体胶芯1的装配结构内,之后进入步骤S3;

S3、将采用冲压撕破得到的第二模块3装入绝缘定位件4的第二装配槽内,并折去除料带,之后进入步骤S4;该插端式第二模块导电端子的结构可以参照图6和图7所示;

S4、将第三模块5和第四模块6装入绝缘本体胶芯1。

从上述的技术方案可以看出,本实用新型实施例提供的SFP-DD高速信号电连接器的组装方法,其第一模块2和第二模块3的导电端子均为采用冲压撕破方式直接组装进绝缘本体胶芯1,产品简易生产,品质性能好管控,而且对组装流程快捷,节省人工工时,可以自动化组装制程;

保证了在高密度小空间内实现高速传输信号的完整性,不影响产品的信号传输高速率的情况下改善制程的可制造性,在节省生产成本的同时,达到信号完整性、产品制造性以及产品小型化的平衡。

作为优选,在步骤S2中,将绝缘定位件4的凸起装入绝缘本体胶芯1底部的凹槽,结构简单,便于组装,其结构可以参照图4、图5和图8所示和前文描述。

为了进一步优化上述的技术方案,将第三模块5和第四模块6通过绝缘块组合到一起后再装入绝缘本体胶芯1,来控制这两个模块之间的相对位置,以达到使它们(进而实现四个)的焊脚均在同一位置上面,保证产品SMT焊脚面平面度。

具体的,在步骤S4中,第三模块5和第四模块6通过绝缘块的柱位和柱孔配合安装到一起,结构简单,便于组装,定位有效。其结构可以参照图21所示和前文说明。

作为优选,在步骤S4中,第三模块5和第四模块6组合到一起后,第三模块5绝缘块上的第三柱位51,和第四模块6绝缘块上的第四柱位61,两者前后平齐,并依次装入绝缘本体胶芯1的同一槽位。本方案通过在第三模块5和第四模块6装配后,两者上的第三柱位51和第四柱位61沿绝缘本体胶芯1前后方向平齐,则保证了在装入同一槽位12时两个模块的姿态一致,即有效控制了这两个模块之间的相对位置,以达到使它们(进而实现四个)的焊脚均在同一位置上面,保证产品SMT焊脚面平面度。

下面结合具体实施例对本方案作进一步介绍:

1.第一模块端子为冲压撕破方式直接组装进绝缘本体胶芯(图2-图4);

2.定位凹槽注塑成型后直接组装进绝缘本体胶芯(图5);

3.第二模块端子为冲压撕破方式直接组装进绝缘本体胶芯(图6-图8);

4.第三、第四模块导电端子包胶成型后再进行两次折弯后(图12-14,图18-20),两模块组合后再组装进绝缘本体胶芯(图23);

5.导电端子冲压成型形状。

综上所述,本实用新型实施例公开了一种SFP-DD高速信号电连接器,其优点及有益效果为:

1.第一、第二模块导电端子采用直接组装式;

2.第三、第四模块利用注塑成型于若干导电子结构,装配后直接插入至绝缘本体胶芯,保证产品SMT焊脚面平面度;

3.自动化制程生产可投入。

本实用新型目的就是针对SFP-DD单通道传输速率25Gpbs电连接器,大幅提升其高速信号传输能力,并使其组装成本降低。

SFP-DD(四通道小型可插拔设备)高密度小空间,Pin脚较多,相邻的信号对之间的距离太近,所以为了不影响产品的信号传输高速率的情况下改善制程的可制造性,在节省生产成本的同时,提供一种占有小尺寸的端子与塑胶固持件,从而达到信号完整性、产品制造性以及产品小型化的平衡。

本说明书中各个实施例采用递进的方式描述,每个实施例重点说明的都是与其他实施例的不同之处,各个实施例之间相同相似部分互相参见即可。

对所公开的实施例的上述说明,使本领域专业技术人员能够实现或使用本实用新型。对这些实施例的多种修改对本领域的专业技术人员来说将是显而易见的,本文中所定义的一般原理可以在不脱离本实用新型的精神或范围的情况下,在其它实施例中实现。因此,本实用新型将不会被限制于本文所示的这些实施例,而是要符合与本文所公开的原理和新颖特点相一致的最宽的范围。

价值度评估

技术价值

经济价值

法律价值

0 0 0

61.0

0 50 75 100
0~50 50~75 75~100 价值较低 中等价值 价值较高

专利价值度是通过科学的评估模

型对专利价值进行量化的结果,

基于专利大数据针对专利总体特

征指标利用计算机自动化技术对

待评估专利进行高效、智能化的

分析,从技术、经济和法律价值

三个层面构建专利价值评估体

系,可以有效提升专利价值评估

的质量和效率。

总评:61.0


该专利价值中等 (仅供参考)

        该专利的技术、经济、法律价值经系统自动评估后的总评得分处于平均水平,可以重点研究利用其技术价值,根据法律价值的评估结果选择合适的使用借鉴方式。
        本专利文献中包含【1 个实施例】、【2 个技术分类】,从一定程度上而言上述指标的数值越大可以反映出所述专利的技术保护及应用范围越广。 【被引用次数2 次】专利被引次数越多越能能够体现出该专利在相关技术领域研发中所发挥的基础性作用,代表着专利公开的内容有更多的产业利用价值。 【专利权的维持时间6 年】专利权的维持时间越长,其价值对于权利人而言越高。 尤其重要是,该专利 【权利转移1 次】、 都从侧面反应出该专利的技术、经济和法律价值。

技术价值    32.0

该指标主要从专利申请的著录信息、法律事件等内容中挖掘其技术价值,专利类型、独立权利要求数量、无效请求次数等内容均可反映出专利的技术性价值。 技术创新是专利申请的核心,若您需要进行技术借鉴或寻找可合作的项目,推荐您重点关注该指标。

部分指标包括:

授权周期(发明)

6 个月

独立权利要求数量

1 个

从属权利要求数量

7 个

说明书页数

5 页

实施例个数

1 个

发明人数量

5 个

被引用次数

2 次

引用文献数量

2 个

优先权个数

0 个

技术分类数量

2 个

无效请求次数

0 个

分案子案个数

0 个

同族专利数

0 个

专利获奖情况

保密专利的解密

经济价值    10.0

该指标主要指示了专利技术在商品化、产业化及市场化过程中可能带来的预期利益。 专利技术只有转化成生产力才能体现其经济价值,专利技术的许可、转让、质押次数等指标均是其经济价值的表征。 因此,若您希望找到行业内的运用广泛的热点专利技术及侵权诉讼中的涉案专利,推荐您重点关注该指标。

部分指标包括:

申请人数量

1

申请人类型

企业

许可备案

0 次

权利质押

0 次

权利转移

1 个

海关备案

法律价值    19.0

该指标主要从专利权的稳定性角度评议其价值。专利权是一种垄断权,但其在法律保护的期间和范围内才有效。 专利权的存续时间、当前的法律状态可反映出其法律价值。故而,若您准备找寻权属稳定且专利权人非常重视的专利技术,推荐您关注该指标。

部分指标包括:

存活期/维持时间

6

法律状态

无权-未缴年费