【中国实用新型】一种钓鱼用取钩器

无权-未缴年费 中国

授权公告日/公开日:
2018.10.19
专利有效期:
2018.03.03-2028.03.03
技术分类:
A01:农业;林业;畜牧业;狩猎;诱捕;捕鱼
转化方式:
转让
价值度指数:
58.0分
价格:
面议
2289 0

发布人

宿迁知芃智能科技有限公司

联系人桑明喆

18896524795
2603577858@qq.com
2603577858
18896524795
苏州市吴中区致能大道106号
  • 专利信息&法律状态
  • 专利自评
  • 专利技术文档
  • 价值度指数
  • 发明人阵容

著录项

申请号
CN201820295535.X
申请日
20180303
公开/公告号
CN207978760U
公开/公告日
20181019
申请/专利权人
[宿迁知芃智能科技有限公司]
发明/设计人
[桑明喆]
主分类号
A01K97/18
IPC分类号
C12N 9/0008(2013.01) C12N 9/16
CPC分类号
C12N 9/0008(2013.01) C12N 9/16(2013.01)
分案申请地址
国省代码
江苏(32)
颁证日
G06T1/00
代理人

摘要

本实用新型所述的一种钓鱼用取钩器,包括取钩杆主体和转轴;所述取钩杆主体末端设有可旋转的手柄,且手柄上设有防滑圈;所述取钩杆主体前端设有斜V型片,且取钩杆主体内设有放钩台;所述转轴贯穿取钩杆主体和放钩台,且转轴与手柄固定连接;所述放钩台前沿设有扭簧台,且扭簧台上设有扭簧;所述转轴上套有连接杆,且连接杆与转轴固定连接;所述取钩杆主体内设有固定滑道,且固定滑道内设有固定片;所述连接杆与固定片通过销钉固定连接,且固定片上设有硬质橡胶;所述取钩杆主体右边缘设有固定槽;本实用新型所述斜V型片张角开口可以寻着鱼线压到鱼钩,然后锁死将鱼钩取出,操作安全,方便鱼钩从鱼嘴或鱼肚中取出,保证鱼的成活率,使用方便。

法律状态

法律状态公告日 20230228
法律状态 专利权的终止
法律状态信息 未缴年费专利权终止
IPC(主分类):A01K 97/18
专利号:ZL201820295535X
申请日:20180303
授权公告日:20181019
终止日期:
法律状态公告日 20181019
法律状态 授权
法律状态信息 授权
暂无数据

权利要求

权利要求数量(6

独立权利要求数量(1

1.一种钓鱼用取钩器,其特征在于:包括取钩杆主体和转轴;所述取钩杆主体末端设有 可旋转的手柄,且手柄上设有防滑圈;所述取钩杆主体前端设有斜V型片,且取钩杆主体内 设有放钩台;所述转轴贯穿取钩杆主体和放钩台,且转轴与手柄固定连接;所述放钩台前沿 设有扭簧台,且扭簧台上设有扭簧;所述转轴上套有连接杆,且连接杆与转轴固定连接;所 述取钩杆主体内设有固定滑道,且固定滑道内设有固定片;所述连接杆与固定片通过销钉 固定连接,且固定片上设有硬质橡胶;所述取钩杆主体右边缘设有固定槽。

2.根据权利要求1所述的一种钓鱼用取钩器,其特征在于:所述取钩杆前端设有斜V型 片,且斜V型片的形状为V形。

3.根据权利要求1所述的一种钓鱼用取钩器,其特征在于:所述扭簧台上设有扭簧,扭 簧扭力为顺时针方向。

4.根据权利要求1所述的一种钓鱼用取钩器,其特征在于:所述固定滑道内的固定片上 设有月牙形的硬质橡胶。

5.根据权利要求1所述的一种钓鱼用取钩器,其特征在于:所述放钩台外形为波浪形, 中间低两边高更方便鱼钩的放置。

6.根据权利要求1所述的一种钓鱼用取钩器,其特征在于:所述固定滑道内的固定片贴 附于固定滑道内壁。

1.一种钓鱼用取钩器,其特征在于:包括取钩杆主体和转轴;所述取钩杆主体末端设有可旋转的手柄,且手柄上设有防滑圈;所述取钩杆主体前端设有斜V型片,且取钩杆主体内设有放钩台;所述转轴贯穿取钩杆主体和放钩台,且转轴与手柄固定连接;所述放钩台前沿设有扭簧台,且扭簧台上设有扭簧;所述转轴上套有连接杆,且连接杆与转轴固定连接;所述取钩杆主体内设有固定滑道,且固定滑道内设有固定片;所述连接杆与固定片通过销钉固定连接,且固定片上设有硬质橡胶;所述取钩杆主体右边缘设有固定槽。

2.根据权利要求1所述的一种钓鱼用取钩器,其特征在于:所述取钩杆前端设有斜V型片,且斜V型片的形状为V形。

3.根据权利要求1所述的一种钓鱼用取钩器,其特征在于:所述扭簧台上设有扭簧,扭簧扭力为顺时针方向。

4.根据权利要求1所述的一种钓鱼用取钩器,其特征在于:所述固定滑道内的固定片上设有月牙形的硬质橡胶。

5.根据权利要求1所述的一种钓鱼用取钩器,其特征在于:所述放钩台外形为波浪形,中间低两边高更方便鱼钩的放置。

6.根据权利要求1所述的一种钓鱼用取钩器,其特征在于:所述固定滑道内的固定片贴附于固定滑道内壁。

说明书

技术领域

本实用新型涉及渔具用品技术领域,特别是一种钓鱼用取钩器。

背景技术

一般来说,当前垂钓爱好者日益增多,然而,在钓中鱼之后的摘钩过程往往出现众多问题,比如鱼鳍大多硬且锋利,很容易刮伤手,或者取鱼钩的力较大,有可能弄死鱼,因此,取钩器应运而生,但是市面上所售的取钩器费时费力还容易扎到手指,而且很难准确且迅速的用取钩器将鱼钩从鱼嘴或者鱼肚中取出,且不能简便的固定鱼钩,操作繁琐。

发明内容

为解决上述问题,本实用新型提供一种钓鱼用取钩器。

本实用新型解决其技术问题所采用的技术方案是:一种钓鱼用取钩器,包括取钩杆主体和转轴;所述取钩杆主体末端设有可旋转的手柄,且手柄上设有防滑圈;所述取钩杆主体前端设有斜V型片,且取钩杆主体内设有放钩台;所述转轴贯穿取钩杆主体和放钩台,且转轴与手柄固定连接;所述放钩台前沿设有扭簧台,且扭簧台上设有扭簧;所述转轴上套有连接杆,且连接杆与转轴固定连接;所述取钩杆主体内设有固定滑道,且固定滑道内设有固定片;所述连接杆与固定片通过销钉固定连接,且固定片上设有硬质橡胶;所述取钩杆主体右边缘设有固定槽。

优选的,所述取钩杆前端设有斜V型片,且斜V型片的形状为V形。

优选的,所述扭簧台上设有扭簧,扭簧扭力为顺时针方向。

优选的,所述固定滑道内的固定片上设有月牙形的硬质橡胶。

优选的,所述放钩台外形为波浪形,中间低两边高更方便鱼钩的放置。

优选的,所述固定滑道内的固定片贴附于固定滑道内壁。

本实用新型的有益效果是:斜V型片张角开口可以寻着鱼线顺利压到鱼钩,然后锁死,将鱼钩取出,操作安全,方便鱼钩从鱼嘴或鱼肚中取出,保证鱼的成活率,使用方便。

附图说明

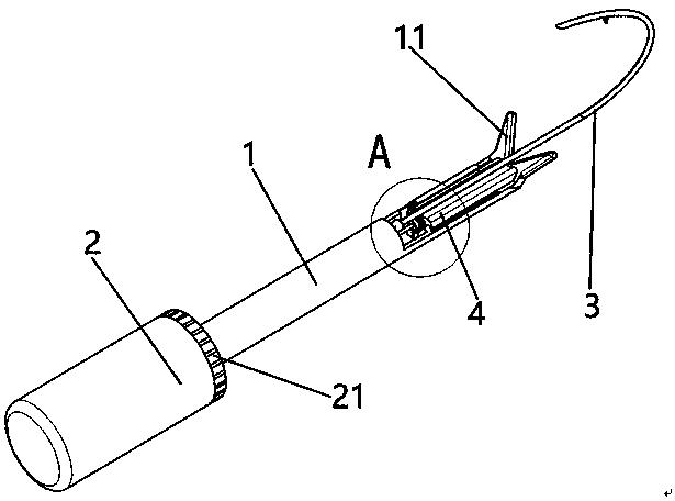
图1为本实用新型所述的一种钓鱼用取钩器的整体视图。

图2为图1的A部放大图。

图3为本实用新型所述的一种钓鱼用取钩器的主视图。

图4为图3的B-B的剖视图。

图中:1、取钩杆;11、斜V型片;12、扭簧台;13、固定槽;14、固定滑道;2、手柄;21、防滑圈;3、鱼钩;4、放钩台;5、转轴;6、扭簧;7、连接杆;8、固定片;81、硬质橡胶。

具体实施方式

为使本实用新型的技术方案更加清楚明白,下面结合附图具体实施例对本实用新型作进一步说明。

如图1所示,本实用新型所述的一种钓鱼用取钩器,包括取钩杆1主体和转轴5;所述取钩杆1主体末端设有可旋转的手柄2,且手柄2上设有防滑圈21;所述取钩杆1主体前端设有斜V型片11,且取钩杆1主体内设有放钩台4;所述转轴5贯穿取钩杆1主体和放钩台4,且转轴5与手柄2固定连接;所述放钩台4前沿设有扭簧台12,且扭簧台12上设有扭簧6;所述转轴5上套有连接杆7,且连接杆7与转轴5固定连接;所述取钩杆1主体内设有固定滑道14,且固定滑道14内设有固定片8;所述连接杆7与固定片8通过销钉固定连接,且固定片8上设有硬质橡胶81;所述取钩杆1主体右边缘设有固定槽13。

使用时,手握手柄2,斜V型片11张角顺着鱼线将鱼钩3置于与放钩台4上,直至鱼钩3根部与取钩杆1接触,顺时针旋转手柄2,转轴5跟连接杆7一并旋转,固定片8从固定滑道14中伸出置于固定槽13内,固定片8上的硬质橡胶81压紧鱼钩3,使鱼钩3固定不动,从鱼嘴或鱼肚中取出鱼钩3;取出后,逆时针旋转手柄2,转轴5跟连接杆6一并旋转,固定片8退入固定滑道14内,拿下鱼钩3即可。

以上所述,仅为本实用新型较佳的具体实施方式,但本实用新型的保护范围并不局限于此,任何熟悉本技术领域的技术人员在本实用新型揭露的技术范围内,根据本实用新型的技术方案及其发明构思加以等同替换或改变,都应涵盖在本实用新型的保护范围之内。

价值度评估

技术价值

经济价值

法律价值

0 0 0

58.0

0 50 75 100
0~50 50~75 75~100 价值较低 中等价值 价值较高

专利价值度是通过科学的评估模

型对专利价值进行量化的结果,

基于专利大数据针对专利总体特

征指标利用计算机自动化技术对

待评估专利进行高效、智能化的

分析,从技术、经济和法律价值

三个层面构建专利价值评估体

系,可以有效提升专利价值评估

的质量和效率。

总评:58.0


该专利价值中等 (仅供参考)

        该专利的技术、经济、法律价值经系统自动评估后的总评得分处于平均水平,可以重点研究利用其技术价值,根据法律价值的评估结果选择合适的使用借鉴方式。
        本专利文献中包含【1 个实施例】、【1 个技术分类】,从一定程度上而言上述指标的数值越大可以反映出所述专利的技术保护及应用范围越广。 【被引用次数1 次】专利被引次数越多越能能够体现出该专利在相关技术领域研发中所发挥的基础性作用,代表着专利公开的内容有更多的产业利用价值。 【专利权的维持时间5 年】专利权的维持时间越长,其价值对于权利人而言越高。

技术价值    31.0

该指标主要从专利申请的著录信息、法律事件等内容中挖掘其技术价值,专利类型、独立权利要求数量、无效请求次数等内容均可反映出专利的技术性价值。 技术创新是专利申请的核心,若您需要进行技术借鉴或寻找可合作的项目,推荐您重点关注该指标。

部分指标包括:

授权周期(发明)

7 个月

独立权利要求数量

1 个

从属权利要求数量

5 个

说明书页数

2 页

实施例个数

1 个

发明人数量

1 个

被引用次数

1 次

引用文献数量

1 个

优先权个数

0 个

技术分类数量

1 个

无效请求次数

0 个

分案子案个数

0 个

同族专利数

0 个

专利获奖情况

保密专利的解密

经济价值    8.0

该指标主要指示了专利技术在商品化、产业化及市场化过程中可能带来的预期利益。 专利技术只有转化成生产力才能体现其经济价值,专利技术的许可、转让、质押次数等指标均是其经济价值的表征。 因此,若您希望找到行业内的运用广泛的热点专利技术及侵权诉讼中的涉案专利,推荐您重点关注该指标。

部分指标包括:

申请人数量

1

申请人类型

企业

许可备案

0 次

权利质押

0 次

权利转移

0 个

海关备案

法律价值    19.0

该指标主要从专利权的稳定性角度评议其价值。专利权是一种垄断权,但其在法律保护的期间和范围内才有效。 专利权的存续时间、当前的法律状态可反映出其法律价值。故而,若您准备找寻权属稳定且专利权人非常重视的专利技术,推荐您关注该指标。

部分指标包括:

存活期/维持时间

5

法律状态

无权-未缴年费