【中国实用新型】一种道路坑洼处破冰装置

无权-未缴年费 中国

授权公告日/公开日:
2018.11.27
专利有效期:
2018.03.04-2028.03.04
技术分类:
E01:道路、铁路或桥梁的建筑
转化方式:
转让
价值度指数:
55.0分
价格:
面议
2379 0

发布人

宿迁知芃智能科技有限公司

联系人桑明喆

18896524795
2603577858@qq.com
2603577858
18896524795
苏州市吴中区致能大道106号
  • 专利信息&法律状态
  • 专利自评
  • 专利技术文档
  • 价值度指数
  • 发明人阵容

著录项

申请号
CN201820296040.9
申请日
20180304
公开/公告号
CN208151951U
公开/公告日
20181127
申请/专利权人
[宿迁知芃智能科技有限公司]
发明/设计人
[桑明喆]
主分类号
E01H5/12
IPC分类号
C12N 9/0008(2013.01) C12N 9/16
CPC分类号
C12N 9/0008(2013.01) C12N 9/16(2013.01)
分案申请地址
国省代码
江苏(32)
颁证日
G06T1/00
代理人

摘要

本实用新型所述的一种道路坑洼处破冰装置,包括破冰壳主体;所述破冰壳主体下方装有一对滚轮,且破冰壳主体一侧设有推杆;所述破冰壳主体右端设有电机板,且电机板与推杆同侧;所述电机板上装有电池盒和电机,且电机右端设有转轴;所述转轴上装有小带轮;所述破冰壳主体两内壁之间设有连接轴和凸轮轴,且凸轮轴位于连接轴内侧,且凸轮轴右端沿设有大带轮;所述破冰壳主体上装有十五个撞击套,且每个撞击套内设有撞击柱;本实用新型所述的弧形对称的凸轮旋转后使撞击柱与地面形成凸出的弧形,可以击碎道路坑洼处由积水所产生的冰面,对地面以及路基损伤较小,撞击柱撞击频率高而密,破冰效率高,使用方便。

法律状态

法律状态公告日 20230228
法律状态 专利权的终止
法律状态信息 未缴年费专利权终止
IPC(主分类):E01H 5/12
专利号:ZL2018202960409
申请日:20180304
授权公告日:20181127
终止日期:
法律状态公告日 20181127
法律状态 授权
法律状态信息 授权
暂无数据

权利要求

权利要求数量(4

独立权利要求数量(1

1.一种道路坑洼处破冰装置,其特征在于:包括破冰壳主体;所述破冰壳主体下方装有一对滚轮,且破冰壳主体一侧设有推杆;所述破冰壳主体右端设有电机板,且电机板与推杆同侧;所述电机板上装有电池盒和电机,且电机右端设有转轴;所述转轴上装有小带轮,且小带轮与大带轮通过皮带连接实现带传动;所述破冰壳主体两内壁之间设有连接轴和凸轮轴,且凸轮轴位于连接轴内侧,且凸轮轴右端沿设有大带轮;所述破冰壳主体上装有十五个撞击套,且每个撞击套内设有撞击柱;所述撞击柱上套有弹簧,且弹簧置于撞击柱底盘与撞击套底部内壁之间;所述撞击套左右边缘设有方形挡片,且方形挡片通过六角螺母与撞击套固定;所述连接轴上设有均匀分布的十五根运动杆,且两根运动杆之间设有分隔套;所述运动杆一端与凸轮轴接触;且运动杆另一端与撞击柱顶端接触;所述电机板与破冰壳主体之间夹角处设有加强筋。

2.根据权利要求1所述的一种道路坑洼处破冰装置,其特征在于:所述电机板与破冰壳之间夹角处设有加强筋,且加强筋加强巩固电机板。

3.根据权利要求1所述的一种道路坑洼处破冰装置,其特征在于:所述凸轮轴弧形对称,且装置在破冰时十五根撞击柱成抛物线形。

4.根据权利要求1所述的一种道路坑洼处破冰装置,其特征在于:所述撞击套内的撞击柱底端为弧形。

1.一种道路坑洼处破冰装置,其特征在于:包括破冰壳主体;所述破冰壳主体下方装有一对滚轮,且破冰壳主体一侧设有推杆;所述破冰壳主体右端设有电机板,且电机板与推杆同侧;所述电机板上装有电池盒和电机,且电机右端设有转轴;所述转轴上装有小带轮,且小带轮与大带轮通过皮带连接实现带传动;所述破冰壳主体两内壁之间设有连接轴和凸轮轴,且凸轮轴位于连接轴内侧,且凸轮轴右端沿设有大带轮;所述破冰壳主体上装有十五个撞击套,且每个撞击套内设有撞击柱;所述撞击柱上套有弹簧,且弹簧置于撞击柱底盘与撞击套底部内壁之间;所述撞击套左右边缘设有方形挡片,且方形挡片通过六角螺母与撞击套固定;所述连接轴上设有均匀分布的十五根运动杆,且两根运动杆之间设有分隔套;所述运动杆一端与凸轮轴接触;且运动杆另一端与撞击柱顶端接触;所述电机板与破冰壳主体之间夹角处设有加强筋。

2.根据权利要求1所述的一种道路坑洼处破冰装置,其特征在于:所述电机板与破冰壳之间夹角处设有加强筋,且加强筋加强巩固电机板。

3.根据权利要求1所述的一种道路坑洼处破冰装置,其特征在于:所述凸轮轴弧形对称,且装置在破冰时十五根撞击柱成抛物线形。

4.根据权利要求1所述的一种道路坑洼处破冰装置,其特征在于:所述撞击套内的撞击柱底端为弧形。

说明书

技术领域

本实用新型涉及道路破冰技术领域,特别是一种道路坑洼处破冰装置。

背景技术

一般来说,冬天非常的寒冷温度低,若下雪或者下雨,会导致道路变成冰雪混合路面,给机动车和行人的出行带来诸多不便,尤其路面有坑洼时,坑洼里的水会积成很厚的冰,不易破除,给行车造成很大的不便,由此道路坑洼处破冰装置出现了,但一般道路坑洼处破冰装置体积较大,零件较多,且破冰锤的末端为尖嘴型,容易损坏地面及路基。

发明内容

为解决上述问题,本实用新型提供一种道路坑洼处破冰装置。

本实用新型解决其技术问题所采用的技术方案是:一种道路坑洼处破冰装置,包括破冰壳主体;所述破冰壳主体下方装有一对滚轮,且破冰壳主体一侧设有推杆;所述破冰壳主体右端设有电机板,且电机板与推杆同侧;所述电机板上装有电池盒和电机,且电机右端设有转轴;所述转轴上装有小带轮,且小带轮与大带轮通过皮带连接实现带传动;所述破冰壳主体两内壁之间设有连接轴和凸轮轴,且凸轮轴位于连接轴内侧,且凸轮轴右端沿设有大带轮;所述破冰壳主体上装有十五个撞击套,且每个撞击套内设有撞击柱;所述撞击柱上套有弹簧,且弹簧置于撞击柱底盘与撞击套底部内壁之间;所述撞击套左右边缘设有方形挡片,且方形挡片通过六角螺母与撞击套固定;所述连接轴上设有均匀分布的十五根运动杆,且两根运动杆之间设有分隔套;所述运动杆一端与凸轮轴接触;且运动杆另一端与撞击柱顶端接触;所述电机板与破冰壳主体之间夹角处设有加强筋。

优选的,所述电机板与破冰壳之间夹角处设有加强筋,且加强筋加强巩固电机板。

优选的,所述凸轮弧形对称,且装置在破冰时十五根撞击柱成抛物线形。

优选的,所述撞击套左右边缘设有方形挡片,防止撞击柱脱离撞击套。

优选的,所述撞击套内的撞击柱底端为弧形。

优选的,所述装置采用凸轮机构与带传动。

本实用新型的有益效果是:弧形对称的凸轮旋转后使撞击柱与地面形成凸出的弧形,可以击碎道路坑洼处由积水所产生的冰面,对地面以及路基损伤较小,撞击柱撞击频率高而密,破冰效率高,使用方便。

附图说明

图1为本实用新型所述的一种道路坑洼处破冰装置第一角度视图。

图2为本实用新型所述的一种道路坑洼处破冰装置第二角度视图。

图3为本实用新型所述的一种道路坑洼处破冰装置第三角度视图。

图4为图1的A部放大图。

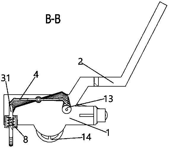
图5为图3的B-B剖视图。

图中:1、破冰壳;11、电机板;12、连接轴;13、凸轮轴;14、滚轮;15、分隔套;2、推杆;3、撞击套;31、撞击柱;32、方形挡片;33、六角螺母;4、运动杆;5、加强筋;6、电池盒;7、电机;71、转轴;72、小带轮;73、大带轮;74、皮带;8、弹簧。

具体实施方式

为使本实用新型的技术方案更加清楚明白,下面结合附图具体实施例对本实用新型作进一步说明。

如图1所示,本实用新型所述的一种道路坑洼处破冰装置,包括破冰壳1主体;所述破冰壳1主体下方装有一对滚轮14,且破冰壳1主体一侧设有推杆2;所述破冰壳1主体右端设有电机板11,且电机板11与推杆2同侧;所述电机板11上装有电池盒6和电机7,且电机7右端设有转轴71;所述转轴71上装有小带轮72,且小带轮72与大带轮73通过皮带74连接实现带传动;所述破冰壳1主体两内壁之间设有连接轴12和凸轮轴13,且凸轮轴13位于连接轴12内侧,且凸轮轴13右端沿设有大带轮73;所述破冰壳1主体上装有十五个撞击套3,且每个撞击套3内设有撞击柱31;所述撞击柱31上套有弹簧8,且弹簧8置于撞击柱31底盘与撞击套3底部内壁之间;所述撞击套3左右边缘设有方形挡片32,且方形挡片32通过六角螺母33与撞击套3固定;所述连接轴12上设有均匀分布的十五根运动杆4,且两根运动杆4之间设有分隔套15;所述运动杆4一端与凸轮轴13接触;且运动杆4另一端与撞击柱31顶端接触;所述电机板11与破冰壳1主体之间夹角处设有加强筋5。

使用时,握住推杆2向前推动,滚轮14滚动直至道路坑洼处,打开电机7,小带轮72与大带轮73通过皮带74实现带传动,且凸轮轴13随着大带轮73一同转动,凸轮轴13上的凸轮呈抛物状,当凸轮轴13的最高点与运动杆4接触过程中,与凸轮轴13接触的运动杆4一端上移,撞击柱31下压弹簧8,十五根撞击柱31末端呈抛物状;当凸轮轴13的最低点与运动杆4接触过程中,与凸轮轴13接触的运动杆4一端恢复初始状态,弹簧8推动撞击柱31上移,十五根撞击柱31末端呈水平状 ,利用撞击柱31下压冲力击碎冰面,依次循环。

以上所述,仅为本实用新型较佳的具体实施方式,但本实用新型的保护范围并不局限于此,任何熟悉本技术领域的技术人员在本实用新型揭露的技术范围内,根据本实用新型的技术方案及其发明构思加以等同替换或改变,都应涵盖在本实用新型的保护范围之内。

价值度评估

技术价值

经济价值

法律价值

0 0 0

55.0

0 50 75 100
0~50 50~75 75~100 价值较低 中等价值 价值较高

专利价值度是通过科学的评估模

型对专利价值进行量化的结果,

基于专利大数据针对专利总体特

征指标利用计算机自动化技术对

待评估专利进行高效、智能化的

分析,从技术、经济和法律价值

三个层面构建专利价值评估体

系,可以有效提升专利价值评估

的质量和效率。

总评:55.0


该专利价值中等 (仅供参考)

        该专利的技术、经济、法律价值经系统自动评估后的总评得分处于平均水平,可以重点研究利用其技术价值,根据法律价值的评估结果选择合适的使用借鉴方式。
        本专利文献中包含【1 个实施例】、【1 个技术分类】,从一定程度上而言上述指标的数值越大可以反映出所述专利的技术保护及应用范围越广。 【专利权的维持时间5 年】专利权的维持时间越长,其价值对于权利人而言越高。

技术价值    28.0

该指标主要从专利申请的著录信息、法律事件等内容中挖掘其技术价值,专利类型、独立权利要求数量、无效请求次数等内容均可反映出专利的技术性价值。 技术创新是专利申请的核心,若您需要进行技术借鉴或寻找可合作的项目,推荐您重点关注该指标。

部分指标包括:

授权周期(发明)

8 个月

独立权利要求数量

1 个

从属权利要求数量

3 个

说明书页数

2 页

实施例个数

1 个

发明人数量

1 个

被引用次数

0 次

引用文献数量

0 个

优先权个数

0 个

技术分类数量

1 个

无效请求次数

0 个

分案子案个数

0 个

同族专利数

0 个

专利获奖情况

保密专利的解密

经济价值    8.0

该指标主要指示了专利技术在商品化、产业化及市场化过程中可能带来的预期利益。 专利技术只有转化成生产力才能体现其经济价值,专利技术的许可、转让、质押次数等指标均是其经济价值的表征。 因此,若您希望找到行业内的运用广泛的热点专利技术及侵权诉讼中的涉案专利,推荐您重点关注该指标。

部分指标包括:

申请人数量

1

申请人类型

企业

许可备案

0 次

权利质押

0 次

权利转移

0 个

海关备案

法律价值    19.0

该指标主要从专利权的稳定性角度评议其价值。专利权是一种垄断权,但其在法律保护的期间和范围内才有效。 专利权的存续时间、当前的法律状态可反映出其法律价值。故而,若您准备找寻权属稳定且专利权人非常重视的专利技术,推荐您关注该指标。

部分指标包括:

存活期/维持时间

5

法律状态

无权-未缴年费