【中国实用新型】一种带宽型伸缩带的可移动式导流隔离带

有权-审定授权 中国

申请号:
CN202220189983.8
专利权人:
南京铁道职业技术学院
授权公告日/公开日:
2022.08.23
专利有效期:
2022.01.24-2032.01.24
技术分类:
E01:道路、铁路或桥梁的建筑
转化方式:
转让
价值度指数:
57.0分
价格:
¥1950.00
1041 0

发布人

龙图腾网科技(合肥)股份有限公司

联系人龙图腾网科技(合肥)股份有限公司

18715114593
3008967067@qq.com
3008967067
18715114593
合肥市蜀山区创业产业园2期18楼龙图腾网科技(合肥)股份有限公司
  • 专利信息&法律状态
  • 专利自评
  • 专利技术文档
  • 价值度指数
  • 发明人阵容

著录项

申请号
CN202220189983.8
申请日
20220124
公开/公告号
CN217267094U
公开/公告日
20220823
申请/专利权人
[南京铁道职业技术学院]
发明/设计人
[武倩楠, 陈梦君, 王政, 冯烨恺, 冯蒙蒙, 杨钰]
主分类号
E01F13/04
IPC分类号
C12N 9/0008(2013.01) C12N 9/16
CPC分类号
C12N 9/0008(2013.01) C12N 9/16(2013.01)
分案申请地址
国省代码
江苏(32)
颁证日
G06T1/00
代理人
[沈振涛]

摘要

本实用新型涉及隔离带技术领域,尤其涉及一种带宽型伸缩带的可移动式导流隔离带。其技术方案包括:一种带宽型伸缩带的可移动式导流隔离带,包括套管、支撑板、固定柱和底座,所述底座的上表面设有固定柱,所述固定柱上焊接有支撑板,所述支撑板上通过支撑弹簧连接有底盘,所述固定柱上位于支撑板的上方通过底盘限位安装有套管,所述套管内通过收卷弹簧安装有隔离带,所述固定柱上位于套管的顶端安装有销块。本实用新型通过结构简单,便于移动,且可以通过印刷广告,扩大隔离带利用价值,达到公益或创收的目的。

法律状态

法律状态公告日 20241126
法律状态 专利申请权、专利权的转移
法律状态信息 专利权的转移
IPC(主分类):E01F 13/04
专利号:ZL2022201899838
登记生效日:20241111
变更事项:专利权人
变更前权利人:陈欢
变更后权利人:安徽轩弈建设工程有限公司
变更事项:国家或地区
变更前权利人:中国
变更后权利人:中国
变更事项:地址
变更前权利人:230000 安徽省合肥市肥东县古城镇新立村中东组
变更后权利人:230000 安徽省合肥市瑶海区临泉路与和县路交口合肥瑶海万达广场2#写字楼2-办2318室
变更事项:专利权人
变更前权利人:满雪
变更后权利人:
变更事项:国家或地区
变更前权利人:中国
变更后权利人:
法律状态公告日 20241025
法律状态 专利申请权、专利权的转移
法律状态信息 专利权的转移
IPC(主分类):E01F 13/04
专利号:ZL2022201899838
登记生效日:20241008
变更事项:专利权人
变更前权利人:龙图腾网科技(合肥)股份有限公司
变更后权利人:陈欢
变更事项:国家或地区
变更前权利人:中国
变更后权利人:中国
变更事项:地址
变更前权利人:230000 安徽省合肥市蜀山经济开发区井岗路电商园一期2号楼1楼
变更后权利人:230000 安徽省合肥市肥东县古城镇新立村中东组
变更事项:专利权人
变更前权利人:
变更后权利人:满雪
变更事项:国家或地区
变更前权利人:
变更后权利人:中国
法律状态公告日 20240308
法律状态 专利申请权、专利权的转移
法律状态信息 专利权的转移
IPC(主分类):E01F 13/04
专利号:ZL2022201899838
登记生效日:20240220
变更事项:专利权人
变更前权利人:南京铁道职业技术学院
变更后权利人:龙图腾网科技(合肥)股份有限公司
变更事项:国家或地区
变更前权利人:中国
变更后权利人:中国
变更事项:地址
变更前权利人:210000 江苏省南京市浦口区珍珠南路65号南京铁道职业技术学院
变更后权利人:230000 安徽省合肥市蜀山经济开发区井岗路电商园一期2号楼1楼
法律状态公告日 20220823
法律状态 授权
法律状态信息 授权
事务数据公告日 20241126
事务数据类型 专利申请权、专利权的转移
转让详情 专利权的转移
IPC(主分类):E01F 13/04
专利号:ZL2022201899838
登记生效日:20241111
变更事项:专利权人
变更前权利人:陈欢
变更后权利人:安徽轩弈建设工程有限公司
变更事项:国家或地区
变更前权利人:中国
变更后权利人:中国
变更事项:地址
变更前权利人:230000 安徽省合肥市肥东县古城镇新立村中东组
变更后权利人:230000 安徽省合肥市瑶海区临泉路与和县路交口合肥瑶海万达广场2#写字楼2-办2318室
变更事项:专利权人
变更前权利人:满雪
变更后权利人:
变更事项:国家或地区
变更前权利人:中国
变更后权利人:
事务数据公告日 20241025
事务数据类型 专利申请权、专利权的转移
转让详情 专利权的转移
IPC(主分类):E01F 13/04
专利号:ZL2022201899838
登记生效日:20241008
变更事项:专利权人
变更前权利人:龙图腾网科技(合肥)股份有限公司
变更后权利人:陈欢
变更事项:国家或地区
变更前权利人:中国
变更后权利人:中国
变更事项:地址
变更前权利人:230000 安徽省合肥市蜀山经济开发区井岗路电商园一期2号楼1楼
变更后权利人:230000 安徽省合肥市肥东县古城镇新立村中东组
变更事项:专利权人
变更前权利人:
变更后权利人:满雪
变更事项:国家或地区
变更前权利人:
变更后权利人:中国
事务数据公告日 20240308
事务数据类型 专利申请权、专利权的转移
转让详情 专利权的转移
IPC(主分类):E01F 13/04
专利号:ZL2022201899838
登记生效日:20240220
变更事项:专利权人
变更前权利人:南京铁道职业技术学院
变更后权利人:龙图腾网科技(合肥)股份有限公司
变更事项:国家或地区
变更前权利人:中国
变更后权利人:中国
变更事项:地址
变更前权利人:210000 江苏省南京市浦口区珍珠南路65号南京铁道职业技术学院
变更后权利人:230000 安徽省合肥市蜀山经济开发区井岗路电商园一期2号楼1楼
暂无数据

权利要求

权利要求数量(5

独立权利要求数量(1

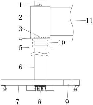
1.一种带宽型伸缩带的可移动式导流隔离带,其特征在于:包括套管(2)、支撑板(5)、固定柱(6)和底座(7),所述底座(7)的上表面设有固定柱(6),所述固定柱(6)上焊接有支撑板(5),所述支撑板(5)上通过支撑弹簧(10)连接有底盘(4),所述固定柱(6)上位于支撑板(5)的上方通过底盘(4)限位安装有套管(2),所述套管(2)内通过收卷弹簧安装有隔离带(11),所述固定柱(6)上位于套管(2)的顶端安装有销块(1)。

2.根据权利要求1所述一种带宽型伸缩带的可移动式导流隔离带,其特征在于:所述套管(2)与底盘(4)的接触面设有卡齿(3),所述套管(2)与底盘(4)通过卡齿(3)进行限位。

3.根据权利要求1所述一种带宽型伸缩带的可移动式导流隔离带,其特征在于:所述套管(2)的顶端开设有定位槽(12),所述销块(1)通过定位槽(12)限位安装在套管(2)的顶端。

4.根据权利要求1所述一种带宽型伸缩带的可移动式导流隔离带,其特征在于:所述底座(7)的底端安装有滑轮(8),且所述底座(7)的一侧开设有U型槽(9)。

5.根据权利要求1所述一种带宽型伸缩带的可移动式导流隔离带,其特征在于:所述底座(7)的底部表面安装有磁铁。

1.一种带宽型伸缩带的可移动式导流隔离带,其特征在于:包括套管(2)、支撑板(5)、固定柱(6)和底座(7),所述底座(7)的上表面设有固定柱(6),所述固定柱(6)上焊接有支撑板(5),所述支撑板(5)上通过支撑弹簧(10)连接有底盘(4),所述固定柱(6)上位于支撑板(5)的上方通过底盘(4)限位安装有套管(2),所述套管(2)内通过收卷弹簧安装有隔离带(11),所述固定柱(6)上位于套管(2)的顶端安装有销块(1)。

2.根据权利要求1所述一种带宽型伸缩带的可移动式导流隔离带,其特征在于:所述套管(2)与底盘(4)的接触面设有卡齿(3),所述套管(2)与底盘(4)通过卡齿(3)进行限位。

3.根据权利要求1所述一种带宽型伸缩带的可移动式导流隔离带,其特征在于:所述套管(2)的顶端开设有定位槽(12),所述销块(1)通过定位槽(12)限位安装在套管(2)的顶端。

4.根据权利要求1所述一种带宽型伸缩带的可移动式导流隔离带,其特征在于:所述底座(7)的底端安装有滑轮(8),且所述底座(7)的一侧开设有U型槽(9)。

5.根据权利要求1所述一种带宽型伸缩带的可移动式导流隔离带,其特征在于:所述底座(7)的底部表面安装有磁铁。

说明书

技术领域

本实用新型涉及隔离带技术领域,具体涉及一种带宽型伸缩带的可移动式导流隔离带。

背景技术

一米线:又称伸缩隔离带、栏杆座、警戒线、移动护栏杆,主要用于大型排队秩序控制以及定向人流输导所必须的队列设施和科学的摆放规划。目前,隔离带在使用时经常需要通过移动来满足导流隔离的需要,但现有的隔离带因底板过重而难以搬运,久而久之也会使底板遭到严重的磨损,从而损耗其使用寿命;其次,地铁用导流带位于乘客进出站必经之区域,且视觉伸展性强,覆盖整站进出站乘客,极具排他性,单用于导流隔离也限制了其使用效益,理应得到更大的开发。

发明内容

本实用新型提供了一种带宽型伸缩带的可移动式导流隔离带,解决了以上所述的技术问题。

本实用新型解决上述技术问题的方案如下:

一种带宽型伸缩带的可移动式导流隔离带,包括套管、支撑板、固定柱和底座,所述底座的上表面设有固定柱,所述固定柱上焊接有支撑板,所述支撑板上通过支撑弹簧连接有底盘,所述固定柱上位于支撑板的上方通过底盘限位安装有套管,所述套管内通过收卷弹簧安装有隔离带,所述固定柱上位于套管的顶端安装有销块。

本实用新型的有益效果是:使用者在使用时,可通过底座上的滑轮将装置移动至所需位置,之后使用者将套管安装在固定柱上,之后使用者按压套管,使套管压缩支撑弹簧,之后使用者将销块贯穿固定柱,之后使用者松开套管,使套管上的定位槽与销块限位卡接进而对套管进行定位,且底座的底部设有磁铁,车站内常用“一米线”位置预先埋置电磁铁,当装置移动定位之后将电磁铁接通电源,装置通过电磁铁进行定位,当需要移动装置时,使用者将电磁铁与电源断开,进而便于装置的移动操作。

在上述技术方案的基础上,本实用新型还可以做如下改进。

进一步,所述套管与底盘的接触面设有卡齿,所述套管与底盘通过卡齿进行限位。

采用上述进一步方案的有益效果是:当在拉取隔离带时,套管套管卡齿进行定位,防止套管随着隔离带运动。

进一步,所述套管的顶端开设有定位槽,所述销块通过定位槽限位安装在套管的顶端。

采用上述进一步方案的有益效果是:通过定位槽将销块限位安装在套管底端。

进一步,所述底座的底端安装有滑轮,且所述底座的一侧开设有U型槽。

采用上述进一步方案的有益效果是:便于使装置通过底座的滑轮进行移动。

进一步,所述底座的底部表面安装有磁铁。

采用上述进一步方案的有益效果是:使装置移动到位之后通过磁铁进行限位。

上述说明仅是本实用新型技术方案的概述,为了能够更清楚了解本实用新型的技术手段,并可依照说明书的内容予以实施,以下以本实用新型的较佳实施例并配合附图详细说明如后。本实用新型的具体实施方式由以下实施例及其附图详细给出。

附图说明

此处所说明的附图用来提供对本实用新型的进一步理解,构成本申请的一部分,本实用新型的示意性实施例及其说明用于解释本实用新型,并不构成对本实用新型的不当限定。

在附图中:

图1为本实用新型的主视结构示意图;

图2为本实用新型的套管俯视外观示意图;

图3为本实用新型的底座俯视外观示意图。

附图中,各标号所代表的部件列表如下:

1、销块;2、套管;3、卡齿;4、底盘;5、支撑板;6、固定柱;7、底座;8、滑轮;9、U型槽;10、支撑弹簧;11、隔离带;12、定位槽。

具体实施方式

以下结合附图对本实用新型的原理和特征进行描述,所举实例只用于解释本实用新型,并非用于限定本实用新型的范围。在下列段落中参照附图以举例方式更具体地描述本实用新型。根据下面说明和权利要求书,本实用新型的优点和特征将更清楚。需说明的是,附图均采用非常简化的形式且均使用非精准的比例,仅用以方便、明晰地辅助说明本实用新型实施例的目的。

需要说明的是,当组件被称为“固定于”另一个组件,它可以直接在另一个组件上或者也可以存在居中的组件。当一个组件被认为是“连接”另一个组件,它可以是直接连接到另一个组件或者可能同时存在居中组件。当一个组件被认为是“设置于”另一个组件,它可以是直接设置在另一个组件上或者可能同时存在居中组件。本文所使用的术语“垂直的”、“水平的”、“左”、“右”以及类似的表述只是为了说明的目的。

除非另有定义,本文所使用的所有的技术和科学术语与属于本实用新型的技术领域的技术人员通常理解的含义相同。本文中在本实用新型的说明书中所使用的术语只是为了描述具体的实施例的目的,不是旨在于限制本实用新型。本文所使用的术语“及/或”包括一个或多个相关的所列项目的任意的和所有的组合。

请参阅图1至图3所示,本实用新型提供的实施例:

实施例一

一种带宽型伸缩带的可移动式导流隔离带,包括套管2、支撑板5、固定柱6和底座7,底座7的底部表面安装有磁铁,车站内常用“一米线”位置预先埋置电磁铁,当装置移动定位之后将电磁铁接通电源,装置通过电磁铁进行定位,当需要移动装置时,使用者将电磁铁与电源断开,进而便于装置的移动操作,底座7的底端安装有滑轮8,且底座7的一侧开设有U型槽9,底座7的上表面设有固定柱6,固定柱6上焊接有支撑板5,支撑板5上通过支撑弹簧10连接有底盘4。

固定柱6上位于支撑板5的上方通过底盘4限位安装有套管2,套管2与底盘4的接触面设有卡齿3,套管2与底盘4通过卡齿3进行限位,使用者在使用时,可通过底座7上的滑轮8将装置移动至所需位置,之后使用者将套管2安装在固定柱6上,之后使用者按压套管2,使套管2压缩支撑弹簧10,之后使用者将销块1贯穿固定柱6,之后使用者松开套管2,使套管2上的定位槽12与销块1限位卡接进而对套管2进行定位,套管2内通过收卷弹簧安装有隔离带11,固定柱6上位于套管2的顶端安装有销块1,套管2的顶端开设有定位槽12,销块1通过定位槽12限位安装在套管2的顶端。

基于实施例1的一种带宽型伸缩带的可移动式导流隔离带工作原理是:使用者在使用时,可通过底座7上的滑轮8将装置移动至所需位置,之后使用者将套管2安装在固定柱6上,之后使用者按压套管2,使套管2压缩支撑弹簧10,之后使用者将销块1贯穿固定柱6,之后使用者松开套管2,使套管2上的定位槽12与销块1限位卡接进而对套管2进行定位,底座7的底部表面安装有磁铁,车站内常用“一米线”位置预先埋置电磁铁,当装置移动定位之后将电磁铁接通电源,装置通过电磁铁进行定位,当需要移动装置时,使用者将电磁铁与电源断开,进而便于装置的移动操作。

以上所述,仅为本实用新型的较佳实施例而已,并非对本实用新型作任何形式上的限制;凡本行业的普通技术人员均可按说明书附图所示和以上所述而顺畅地实施本实用新型;但是,凡熟悉本专业的技术人员在不脱离本实用新型技术方案范围内,利用以上所揭示的技术内容而做出的些许更动、修饰与演变的等同变化,均为本实用新型的等效实施例;同时,凡依据本实用新型的实质技术对以上实施例所作的任何等同变化的更动、修饰与演变等,均仍属于本实用新型的技术方案的保护范围之内。

价值度评估

技术价值

经济价值

法律价值

0 0 0

57.0

0 50 75 100
0~50 50~75 75~100 价值较低 中等价值 价值较高

专利价值度是通过科学的评估模

型对专利价值进行量化的结果,

基于专利大数据针对专利总体特

征指标利用计算机自动化技术对

待评估专利进行高效、智能化的

分析,从技术、经济和法律价值

三个层面构建专利价值评估体

系,可以有效提升专利价值评估

的质量和效率。

总评:57.0


该专利价值中等 (仅供参考)

        该专利的技术、经济、法律价值经系统自动评估后的总评得分处于平均水平,可以重点研究利用其技术价值,根据法律价值的评估结果选择合适的使用借鉴方式。
        本专利文献中包含【1 个实施例】、【1 个技术分类】,从一定程度上而言上述指标的数值越大可以反映出所述专利的技术保护及应用范围越广。 【专利权的维持时间4 年】专利权的维持时间越长,其价值对于权利人而言越高。 尤其重要是,该专利 【权利转移3 次】、 都从侧面反应出该专利的技术、经济和法律价值。

技术价值    29.0

该指标主要从专利申请的著录信息、法律事件等内容中挖掘其技术价值,专利类型、独立权利要求数量、无效请求次数等内容均可反映出专利的技术性价值。 技术创新是专利申请的核心,若您需要进行技术借鉴或寻找可合作的项目,推荐您重点关注该指标。

部分指标包括:

授权周期(发明)

6 个月

独立权利要求数量

1 个

从属权利要求数量

4 个

说明书页数

3 页

实施例个数

1 个

发明人数量

6 个

被引用次数

0 次

引用文献数量

0 个

优先权个数

0 个

技术分类数量

1 个

无效请求次数

0 个

分案子案个数

0 个

同族专利数

0 个

专利获奖情况

保密专利的解密

经济价值    9.0

该指标主要指示了专利技术在商品化、产业化及市场化过程中可能带来的预期利益。 专利技术只有转化成生产力才能体现其经济价值,专利技术的许可、转让、质押次数等指标均是其经济价值的表征。 因此,若您希望找到行业内的运用广泛的热点专利技术及侵权诉讼中的涉案专利,推荐您重点关注该指标。

部分指标包括:

申请人数量

1

申请人类型

院校

许可备案

0 次

权利质押

0 次

权利转移

3 个

海关备案

法律价值    19.0

该指标主要从专利权的稳定性角度评议其价值。专利权是一种垄断权,但其在法律保护的期间和范围内才有效。 专利权的存续时间、当前的法律状态可反映出其法律价值。故而,若您准备找寻权属稳定且专利权人非常重视的专利技术,推荐您关注该指标。

部分指标包括:

存活期/维持时间

4

法律状态

有权-审定授权