【中国实用新型】一种多功能收纳盒

无权-未缴年费 中国

授权公告日/公开日:
2020.10.23
专利有效期:
2020.01.20-2030.01.20
技术分类:
B65:输送;包装;贮存;搬运薄的或细丝状材料
转化方式:
转让
价值度指数:
52.0分
价格:
面议
413 0

发布人

深圳壹家健康科技有限公司

联系人仇先生

18138454688
广东省佛山市顺德区北滘镇工业设计城2期西座301
  • 专利信息&法律状态
  • 专利自评
  • 专利技术文档
  • 价值度指数
  • 发明人阵容

著录项

申请号
CN202020125088.0
申请日
20200120
公开/公告号
CN211732480U
公开/公告日
20201023
申请/专利权人
[深圳壹家健康科技有限公司]
发明/设计人
[仇登伟]
主分类号
B65D81/24
IPC分类号
C12N 9/0008(2013.01) C12N 9/16
CPC分类号
C12N 9/0008(2013.01) C12N 9/16(2013.01)
分案申请地址
国省代码
广东(44)
颁证日
G06T1/00
代理人
[肖宇扬]

摘要

本实用新型提供了一种多功能收纳盒,包括盒体、盒盖和隔板,其特征在于,所述隔板为可拆分结构,所述盒体和所述隔板之间形成收纳空间,通过拆装所述隔板可调整所述收纳空间的大小。盒体和隔板之间形成的收纳空间可调整大小,可满足不同大小衣物的收纳应变率要求。盒盖设有消毒杀菌模块,用于对收纳盒内衣物进行消毒杀菌。盒盖上表面设有限位部,用于放置另一收纳盒时的限位功能,保证多功能收纳盒之间可随意拼接,满足用户需求。

法律状态

法律状态公告日 20240126
法律状态 专利权的终止
法律状态信息 未缴年费专利权终止
IPC(主分类):B65D 81/24
专利号:ZL2020201250880
申请日:20200120
授权公告日:20201023
终止日期:
法律状态公告日 20201023
法律状态 授权
法律状态信息 授权
暂无数据

权利要求

权利要求数量(7

独立权利要求数量(1

1.一种多功能收纳盒,包括盒体、盒盖和隔板,其特征在于,所述隔板为可拆分结构,所述盒体和所述隔板之间形成收纳空间,通过拆装所述隔板可调整所述收纳空间的大小。

2.根据权利要求1所述的多功能收纳盒,其特征在于,所述隔板分为第一隔板和第二隔板,所述盒体内表面设有第一卡槽,所述第一隔板可以和所述第一卡槽配合以固定所述第一隔板。

3.根据权利要求2所述的多功能收纳盒,其特征在于,所述第一隔板设有第一滑槽和配合孔,所述第二隔板设有滑块部,所述滑块部可通过插入所述配合孔从而和所述第一滑槽可滑动配合。

4.根据权利要求1所述的多功能收纳盒,其特征在于,所述盒盖设有空心孔,所述空心孔设有可拆卸的消毒杀菌模块。

5.根据权利要求4所述的多功能收纳盒,其特征在于,所述中心孔的边缘处设有下凹槽。

6.根据权利要求1所述的多功能收纳盒,其特征在于,所述盒盖的上表面设有限位部。

7.根据权利要求1所述的多功能收纳盒,其特征在于,还包括烘干模块。

1.一种多功能收纳盒,包括盒体、盒盖和隔板,其特征在于,所述隔板为可拆分结构,所述盒体和所述隔板之间形成收纳空间,通过拆装所述隔板可调整所述收纳空间的大小。

2.根据权利要求1所述的多功能收纳盒,其特征在于,所述隔板分为第一隔板和第二隔板,所述盒体内表面设有第一卡槽,所述第一隔板可以和所述第一卡槽配合以固定所述第一隔板。

3.根据权利要求2所述的多功能收纳盒,其特征在于,所述第一隔板设有第一滑槽和配合孔,所述第二隔板设有滑块部,所述滑块部可通过插入所述配合孔从而和所述第一滑槽可滑动配合。

4.根据权利要求1所述的多功能收纳盒,其特征在于,所述盒盖设有空心孔,所述空心孔设有可拆卸的消毒杀菌模块。

5.根据权利要求4所述的多功能收纳盒,其特征在于,所述中心孔的边缘处设有下凹槽。

6.根据权利要求1所述的多功能收纳盒,其特征在于,所述盒盖的上表面设有限位部。

7.根据权利要求1所述的多功能收纳盒,其特征在于,还包括烘干模块。

说明书

技术领域

本实用新型涉及日常生活用品技术领域,具体涉及一种多功能收纳盒。

背景技术

衣物收纳盒主要分为布艺收纳盒和塑料收纳盒。由于布艺收纳盒存在使用过程中棉布老化、长时间使用会发出异味及清洗不便的缺点,因此现在消费者更为青睐塑料收纳盒。塑料收纳箱的特点是上下盖连体,扣锁扣合,携带方便,造型美观大方,符合新潮流。它本身的透明性可以有效地展示里面盛装的物品,从而大大增添了观赏性。且塑料收纳箱结实耐用,不怕水,方便消费者擦洗清洁。

市场上的塑料收纳盒结构单一,普遍将一个盒体分隔为若干个大小不一的格子用于放置衣物,虽然其解决了衣服放置的问题,但是无法改变格子大小。使用者需要放置较大衣物时偶尔会遇到格子太小放不进去的情况,需要放置较小衣物时偶尔会遇到格子太大导致利用率低的情况。现有的衣物收纳盒无法满足不同大小衣物的收纳应变率要求。

发明内容

为解决现有收纳盒结构单一,内部格子空间大小无法改变的问题,本实用新型提供了一种多功能收纳盒。

一种多功能收纳盒,包括盒体、盒盖和隔板,其特征在于,所述隔板为可拆分结构,所述盒体和所述隔板之间形成收纳空间,通过拆装所述隔板可调整所述收纳空间的大小。

进一步地,所述隔板分为第一隔板和第二隔板,所述盒体内表面设有第一卡槽,所述第一隔板可以和所述第一卡槽配合以固定所述第一隔板。

进一步地,所述第一隔板设有第一滑槽和配合孔,所述第二隔板设有滑块部,所述滑块部可通过插入所述配合孔从而和所述第一滑槽可滑动配合。

进一步地,所述盒盖设有空心孔,所述空心孔设有可拆卸的消毒杀菌模块。

进一步地,所述中心孔的边缘处设有下凹槽。

进一步地,所述盒盖的上表面设有限位部。

进一步地,还包括烘干模块。

本实用新型的多功能收纳盒,设有盒体、盒盖和隔板,隔板为可拆分结构,盒体和隔板之间形成的收纳空间可调整大小,可满足不同大小衣物的收纳应变率要求。盒盖设有消毒杀菌模块,用于对收纳盒内衣物进行消毒杀菌。盒盖上表面设有限位部,用于放置另一收纳盒时的限位功能,保证多功能收纳盒之间可随意拼接,满足用户需求。

附图说明

图1为本实用新型的多功能收纳盒的整体结构的立体图;

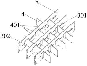
图2为本实用新型的隔板的示意图;

附图标记说明:1、盒体;201、消毒杀菌模块;202、下凹槽;203、限位部;2、盒盖;3、第一隔板;301、配合孔;302、第一滑槽;4、第二隔板;401、滑块部。

具体实施方式

为使本实用新型实施例的目的、技术方案和优点更加清楚,下面将结合本实用新型实施例中的附图,对本实用新型实施例中的技术方案进行清楚、完整地描述,显然,所描述的实施例是本实用新型的一部分实施例,而不是全部的实施例。基于本实用新型中的实施例,本领域普通技术人员在没有做出创造性劳动的前提下所获得的所有其他实施例,都属于本实用新型保护的范围。

参见图1所示,根据本实用新型的实施例,多功能收纳盒包括盒体1和盒盖2,盒盖设有空心孔(图中未标出),空心孔处设有消毒杀菌模块201,该消毒杀菌模块201可随意拆卸。消毒杀菌模块201可以是臭氧消毒杀菌设备,也可以是普通盒盖添加抗菌材料,从而全面形成无菌空间,保证盒内衣物清洁卫生。

盒盖2的中心孔的边缘处设有向下凹进的下凹槽202,通过设置该下凹槽202,可以方便拆装消毒杀菌模块201或者方便给消毒杀菌模块201添加抗菌材料。

盒盖2的上表面边缘处设有限位部203,该限位部203为向上凸起的结构,当另一多功能收纳盒的盒体1的底部放至盒盖2上表面时,可被限位部203限制位移,从而将其相对固定放置在盒盖2上表面,提高其放置的稳定性,多个多功能收纳盒之间可随意拼接,满足用户需求。

此外,盒盖2采用透明材料,盒内的衣物一目了然,方便使用者找取盒内衣物。

参见图2所示,根据本实用新型的实施例,本多功能收纳盒的盒体1内设有第一隔板3和第二隔板4。第一隔板3设有配合孔301和第一滑槽302,配合孔301设置在第一滑槽302的末端。第二隔板4设有限位部401,限位部401的一端可插入配合孔301,然后向第一隔板3的一边滑动从而和第一滑槽302可滑动配合。最终,第二隔板4可通过第一滑槽302在第一隔板3上自由滑动。通过滑动第二隔板的位置,可以任意调整盒体内收纳空间的大小,从而满足不同大小衣物的收纳应变率要求。

盒体1内表面还设有第一卡槽(图中未标出),第一卡槽沿竖直方向设置,将第一隔板3从上往下放入该第一卡槽直至盒体1的底部,可以将第一隔板3固定在盒体1中,防止直接将第一隔板3放置在盒体1内出现左右移动的情况。

本多功能浴室防滑垫还设有烘干模块(图中未标出),烘干模块可以是普通的干燥剂,也可以是小型烘干设备。

综上,本实用新型提供的多功能收纳盒,包括盒体1、盒盖2和隔板,隔板为可拆分结构,盒体1和隔板之间形成的收纳空间可调整大小。具体调整方式为:第一隔板3设有配合孔301和第一滑槽302,配合孔301设置在第一滑槽302的末端。第二隔板4设有限位部401,限位部401的一端可插入配合孔301,然后向第一隔板3的一边滑动从而和第一滑槽302可滑动配合。最终,第二隔板4可通过第一滑槽302在第一隔板3上自由滑动。盒盖2设有消毒杀菌模块201,用于对收纳盒内衣物进行消毒杀菌。盒盖2上表面设有限位部203,用于放置另一收纳盒时的限位功能,保证多功能收纳盒之间可随意拼接,满足用户需求。因此,本实用新型提供的多功能收纳盒结构简单,利用率高,可满足不同大小衣物的收纳应变率要求。

当然,以上是本实用新型的优选实施方式。应当指出,对于本技术领域的普通技术人员来说,在不脱离本实用新型基本原理的前提下,还可以做出若干改进和润饰,这些改进和润饰也视为本实用新型的保护范围。

价值度评估

技术价值

经济价值

法律价值

0 0 0

52.0

0 50 75 100
0~50 50~75 75~100 价值较低 中等价值 价值较高

专利价值度是通过科学的评估模

型对专利价值进行量化的结果,

基于专利大数据针对专利总体特

征指标利用计算机自动化技术对

待评估专利进行高效、智能化的

分析,从技术、经济和法律价值

三个层面构建专利价值评估体

系,可以有效提升专利价值评估

的质量和效率。

总评:52.0


该专利价值中等 (仅供参考)

        该专利的技术、经济、法律价值经系统自动评估后的总评得分处于平均水平,可以重点研究利用其技术价值,根据法律价值的评估结果选择合适的使用借鉴方式。
        本专利文献中包含【1 个实施例】、【2 个技术分类】,从一定程度上而言上述指标的数值越大可以反映出所述专利的技术保护及应用范围越广。 【专利权的维持时间4 年】专利权的维持时间越长,其价值对于权利人而言越高。

技术价值    28.0

该指标主要从专利申请的著录信息、法律事件等内容中挖掘其技术价值,专利类型、独立权利要求数量、无效请求次数等内容均可反映出专利的技术性价值。 技术创新是专利申请的核心,若您需要进行技术借鉴或寻找可合作的项目,推荐您重点关注该指标。

部分指标包括:

授权周期(发明)

9 个月

独立权利要求数量

1 个

从属权利要求数量

6 个

说明书页数

3 页

实施例个数

1 个

发明人数量

1 个

被引用次数

0 次

引用文献数量

0 个

优先权个数

0 个

技术分类数量

2 个

无效请求次数

0 个

分案子案个数

0 个

同族专利数

0 个

专利获奖情况

保密专利的解密

经济价值    8.0

该指标主要指示了专利技术在商品化、产业化及市场化过程中可能带来的预期利益。 专利技术只有转化成生产力才能体现其经济价值,专利技术的许可、转让、质押次数等指标均是其经济价值的表征。 因此,若您希望找到行业内的运用广泛的热点专利技术及侵权诉讼中的涉案专利,推荐您重点关注该指标。

部分指标包括:

申请人数量

1

申请人类型

企业

许可备案

0 次

权利质押

0 次

权利转移

0 个

海关备案

法律价值    16.0

该指标主要从专利权的稳定性角度评议其价值。专利权是一种垄断权,但其在法律保护的期间和范围内才有效。 专利权的存续时间、当前的法律状态可反映出其法律价值。故而,若您准备找寻权属稳定且专利权人非常重视的专利技术,推荐您关注该指标。

部分指标包括:

存活期/维持时间

4

法律状态

无权-未缴年费