【中国实用新型】一种简易多边形水龙头

无权-未缴年费 中国

授权公告日/公开日:
2020.04.14
专利有效期:
2019.07.02-2029.07.02
技术分类:
F16:工程元件或部件;为产生和保持机器或设备的有效运行的一般措施;一般绝热
转化方式:
转让
价值度指数:
43.0分
价格:
面议
641 0

发布人

开平市祺龙五金塑胶有限公司

联系人谭万友

13652722844
83286822@qq.com
83286822
shyolk
广东省开平市水口镇嘉兴工业区嘉兴南路35-37号第一幢
  • 专利信息&法律状态
  • 专利自评
  • 专利技术文档
  • 价值度指数
  • 发明人阵容

著录项

申请号
CN201921018364.7
申请日
20190702
公开/公告号
CN210318719U
公开/公告日
20200414
申请/专利权人
[开平市祺龙五金塑胶有限公司]
发明/设计人
[何祺晃]
主分类号
F16K27/08
IPC分类号
C12N 9/0008(2013.01) C12N 9/16
CPC分类号
C12N 9/0008(2013.01) C12N 9/16(2013.01)
分案申请地址
国省代码
广东(44)
颁证日
G06T1/00
代理人
[郭堃]

摘要

本实用新型公开了一种简易多边形水龙头,包括多边形水龙头主体,用于连接外接水管的进水管以及与所述多边形水龙头主体连接的出水管,所述多边形水龙头主体还包括:阀芯座,多边形水龙头主体的一端设有阀芯座安装口,阀芯座焊接装设在阀芯座安装口处;阀芯,多边形水龙头主体的另一端设有阀芯安装口和出水口安装口,阀芯压紧在所述阀芯安装口处;出水口,其装设在出水口安装口上;金属管体,其装设在多边形水龙头主体的两边,金属管体的两端焊接有封盖,所述封盖与所述金属管体通过焊接形成密封状态。本实用新型通过上述结构解决了传统多边形水龙头结构复杂导致加工工艺繁杂的技术问题。

法律状态

法律状态公告日 20220614
法律状态 专利权的终止
法律状态信息 未缴年费专利权终止
IPC(主分类):F16K 27/08
专利号:ZL2019210183647
申请日:20190702
授权公告日:20200414
终止日期:20210702
法律状态公告日 20200414
法律状态 授权
法律状态信息 授权

权利要求

权利要求数量(6

独立权利要求数量(1

1.一种简易多边形水龙头,包括多边形水龙头主体,用于连接外接水管的进水管(40)以及与所述多边形水龙头主体连接的出水管(120),其特征在于:所述多边形水龙头主体还包括:

阀芯座(30),所述多边形水龙头主体的一端设有阀芯座安装口(81),所述阀芯座(30)焊接装设在所述阀芯座安装口(81)处;

阀芯(70),所述多边形水龙头主体的另一端设有阀芯安装口(80)和出水口安装口,所述阀芯(70)压紧在所述阀芯安装口(80)处;出水口(90),其装设在所述出水口安装口上;

金属管体,包括第一金属管体(20)和第二金属管体(21),其分布在所述多边形水龙头主体的两边,所述金属管体的两端焊接有第一封盖(10)和第二封盖(60),所述第一封盖(10)和第二封盖(60)与所述第一金属管体(20)和第二金属管体(21)通过焊接形成密封状态。

2.根据权利要求1所述的简易多边形水龙头,其特征在于:所述阀芯座安装口(81)开设在所述第一金属管体(20)上,所述阀芯(70)和出水口(90)开设在固定在所述第二金属管体(21)上。

3.根据权利要求1所述的简易多边形水龙头,其特征在于:所述出水口(90)与阀芯安装口(80)在同一水平面上,所述阀芯座安装口(81)与所述阀芯安装口(80)的中心相对应。

4.根据权利要求1所述的简易多边形水龙头,其特征在于:所述阀芯(70)的一端设置有阀压盖(100),所述阀压盖(100)外接有阀芯开关把手;所述阀芯(70)的另一端装设有阀芯座进水口(50),所述阀芯座进水口(50)穿过所述阀芯座(30)与所述进水管(40)密封连接。

5.根据权利要求1所述的简易多边形水龙头,其特征在于:所述金属管体为不锈钢或铁材质,所述金属管体优选为不锈钢材质。

6.根据权利要求1所述的简易多边形水龙头,其特征在于:所述出水管(120)一端设有出水管接口(110),所述出水管(120)通过所述出水管接口(110)与所述出水口(90)连接。

1.一种简易多边形水龙头,包括多边形水龙头主体,用于连接外接水管的进水管(40)以及与所述多边形水龙头主体连接的出水管(120),其特征在于:所述多边形水龙头主体还包括:

阀芯座(30),所述多边形水龙头主体的一端设有阀芯座安装口(81),所述阀芯座(30)焊接装设在所述阀芯座安装口(81)处;

阀芯(70),所述多边形水龙头主体的另一端设有阀芯安装口(80)和出水口安装口,所述阀芯(70)压紧在所述阀芯安装口(80)处;出水口(90),其装设在所述出水口安装口上;

金属管体,包括第一金属管体(20)和第二金属管体(21),其分布在所述多边形水龙头主体的两边,所述金属管体的两端焊接有第一封盖(10)和第二封盖(60),所述第一封盖(10)和第二封盖(60)与所述第一金属管体(20)和第二金属管体(21)通过焊接形成密封状态。

2.根据权利要求1所述的简易多边形水龙头,其特征在于:所述阀芯座安装口(81)开设在所述第一金属管体(20)上,所述阀芯(70)和出水口(90)开设在固定在所述第二金属管体(21)上。

3.根据权利要求1所述的简易多边形水龙头,其特征在于:所述出水口(90)与阀芯安装口(80)在同一水平面上,所述阀芯座安装口(81)与所述阀芯安装口(80)的中心相对应。

4.根据权利要求1所述的简易多边形水龙头,其特征在于:所述阀芯(70)的一端设置有阀压盖(100),所述阀压盖(100)外接有阀芯开关把手;所述阀芯(70)的另一端装设有阀芯座进水口(50),所述阀芯座进水口(50)穿过所述阀芯座(30)与所述进水管(40)密封连接。

5.根据权利要求1所述的简易多边形水龙头,其特征在于:所述金属管体为不锈钢或铁材质,所述金属管体优选为不锈钢材质。

6.根据权利要求1所述的简易多边形水龙头,其特征在于:所述出水管(120)一端设有出水管接口(110),所述出水管(120)通过所述出水管接口(110)与所述出水口(90)连接。

说明书

技术领域

本发明涉及阀门技术领域,特别涉及一种简易多边形水龙头。

背景技术

水龙头,按材料来分,可分为SUS304不锈钢、铸铁、全塑、黄铜合金、锌合金材料水龙头,高分子复合材料水龙头等类别。按结构来分,又可分为单联式、双联式和三联式等几种水龙头。另外,还有单手柄和双手柄之分。单联式可接冷水管或热水管;双联式可同时接冷热两根管道,多用于浴室面盆以及有热水供应的厨房洗菜盆的水龙头;三联式除接冷热水两根管道外,还可以接淋浴喷头,主要用于浴缸的水龙头。单手柄水龙头通过一个手柄即可调节冷热水的温度,双手柄则需分别调节冷水管和热水管来调节水温。

现时使用多边形的水龙头比较少,最主要的是加工难,价格高,消费者消费不起。要改变价格高的问题,就必须解决多边形水龙头的结构和加工工艺问题。

发明内容

本发明要解决的技术问题是提供一种多边形水龙头结构简单、后期加工便捷的简易多边形水龙头。

为了解决上述技术问题,本发明的技术方案为:

一种简易多边形水龙头,包括多边形水龙头主体,用于连接外接水管的进水管以及与所述多边形水龙头主体连接的出水管,所述多边形水龙头主体还包括:

阀芯座,所述多边形水龙头主体的一端设有阀芯座安装口,所述阀芯座焊接装设在所述阀芯座安装口处;

阀芯,所述多边形水龙头主体的另一端设有阀芯安装口和出水口安装口,所述阀芯压紧在所述阀芯安装口处;出水口,其装设在所述出水口安装口上;

金属管体,包括第一金属管体和第二金属管体,其分布在所述多边形水龙头主体的两边,所述金属管体的两端焊接有第一封盖和第二封盖,所述第一封盖和第二封盖与所述第一金属管体和第二金属管体通过焊接形成密封状态。

作为优选的一实施方式,所述阀芯座安装口开设在所述第一金属管体上,所述阀芯安装口和出水口开设在固定在所述第二金属管体上。

作为优选的一实施方式,所述出水口与阀芯安装口在同一水平面上,所述阀芯安装口和阀芯座安装口的中心相对应。

作为优选的一实施方式,所述阀芯的一端设置有阀压盖,所述阀压盖外接有阀芯开关把手;所述阀芯的另一端装设有阀芯座进水口,所述阀芯座进水口穿过所述阀芯座与所述进水管密封连接。

作为优选的一实施方式,所述金属管体为不锈钢或铜合金材质,所述金属管体优选为不锈钢材质。

作为优选的一实施方式,所述出水管一端设有出水管接口,所述出水管通过所述出水管接口与所述出水口连接。

本实用新型采用上述技术方案,通过采用第一金属管体作为阀芯座的基座,第二金属管体作为阀芯和出水口的基座,同时出水口与阀芯安装口在同一水平面上,通过第一封盖和第二封盖与第一金属管体第二金属管体通过焊接形成密封状态,使得多边形水龙头主体在结构上简单化,在加工工艺上焊接、打磨以及抛光步骤都可便捷实施。

附图说明

为了更清楚地说明本实用新型实施例或现有技术中的技术方案,下面将对实施例或现有技术描述中所需要使用的附图作简单地介绍,显而易见地,下面描述中的附图仅仅是本实用新型的一些实施例,对于本领域普通技术人员来讲,在不付出创造性劳动性的前提下,还可以根据这些附图获得其他的附图。

图1为本实用新型的结构示意图;

图2为本实用新型一较好实施例的结构示意图;

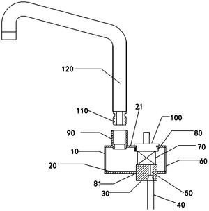
图中,10-第一封盖,20-第一金属管体,21-第二金属管体,30-阀芯座,40-进水管,50-阀芯座进水口,60-第二封盖,70-阀芯,80-阀芯安装口,81-阀芯座安装口,90-出水口,100-阀压盖,110-出水管接口,120-出水管。

具体实施方式

下面结合附图对本发明的具体实施方式作进一步说明。在此需要说明的是,对于这些实施方式的说明用于帮助理解本发明,但并不构成对本发明的限定。此外,下面所描述的本发明各个实施方式中所涉及的技术特征只要彼此之间未构成冲突就可以相互组合。

如图1所示,一种简易多边形水龙头,包括多边形水龙头主体,用于连接外接水管的进水管40以及与多边形水龙头主体连接的出水管120,该多边形水龙头主体还包括:阀芯座30,多边形水龙头主体的一端设有阀芯座安装口80,阀芯座30焊接装设在所述阀芯座安装口80处;阀芯70,多边形水龙头主体的另一端设有阀芯安装口81和出水口安装口,阀芯70压紧在所述阀芯安装口81处;出水口90,其装设在所述出水口安装口上;金属管体,包括第一金属管体20和第二金属管体21,其分布在多边形水龙头主体的两边,金属管体的两端焊接有第一封盖10和第二封盖60,第一封盖10和第二封盖60与第一金属管体20和第二金属管体21通过焊接形成密封状态。金属管体为不锈钢或铜合金材质,金属管体优选为不锈钢材质,选用不锈钢或铜合金材质作为管体,提高水龙头的防腐性。

作为优选的一实施方式,阀芯座安装口80开设在所述第一金属管体20上,阀芯安装口81和出水口90开设在固定在所述第二金属管体21上;出水口90与阀芯安装口81在同一水平面上,阀芯安装口81和阀芯座安装口80的中心相对应。

作为优选的一实施方式,阀芯70的一端设置有阀压盖100,阀压盖100外接有阀芯开关把手;阀芯70的另一端装设有阀芯座进水口50,阀芯座进水口50穿过阀芯座30与进水管40密封连接;出水管120一端设有出水管接口110,出水管120通过出水管接口110与所述出水口90连接。

可以理解的是,如图1所示,将出水管120通过出水管接口110与多边形水龙头主体上的出水口90连接,出水口90与水龙头出水口部通过侧面钻穿实现连通,被多钻穿的侧孔由焊接补上;第一封盖10和第二封盖60与第一金属管体20和第二金属管21体通过焊接使得多边形水龙头主体上形成密封状态,通过阀压盖100外接的阀芯开关把手控制阀芯70为开启状态,此时,冷热水通过进水管40通过多边形水龙头主体中的阀芯座进水口50,再经由第二金属管体21上的出水口90流出,通过出水管120流出。

可以理解的是,如图2所示,将出水管120通过出水管接口110与多边形水龙头主体上的出水口90连接,出水口90与水龙头出水口部通过侧面钻穿实现连通,被多钻穿的侧孔由焊接补上;第一封盖10与第一金属管体20和第二金属管21体通过焊接使得多边形水龙头主体上形成密封状态,通过阀压盖100外接的阀芯开关把手控制阀芯70为开启状态,此时,冷热水通过进水管40通过多边形水龙头主体中的阀芯座进水口50,再经由第二金属管体21上的出水口90流出,通过出水管120流出。

本实用新型的简易多边形水龙头,通过采用第一金属管体作为阀芯座的基座,第二金属管体作为阀芯和出水口的基座,同时出水口与阀芯安装口在同一水平面上,通过第一封盖和第二封盖与第一金属管体第二金属管体通过焊接形成密封状态,使得多边形水龙头主体在结构上简单化,在加工工艺上焊接、打磨以及抛光步骤都可便捷实施。

以上结合附图对本发明的实施方式作了详细说明,但本发明不限于所描述的实施方式。对于本领域的技术人员而言,在不脱离本发明原理和精神的情况下,对这些实施方式进行多种变化、修改、替换和变型,仍落入本发明的保护范围内。

价值度评估

技术价值

经济价值

法律价值

0 0 0

43.0

0 50 75 100
0~50 50~75 75~100 价值较低 中等价值 价值较高

专利价值度是通过科学的评估模

型对专利价值进行量化的结果,

基于专利大数据针对专利总体特

征指标利用计算机自动化技术对

待评估专利进行高效、智能化的

分析,从技术、经济和法律价值

三个层面构建专利价值评估体

系,可以有效提升专利价值评估

的质量和效率。

总评:43.0


该专利价值较低 (仅供参考)

        该专利的技术、经济、法律价值经系统自动评估后的总评得分较低,可以重点关注其公开的技术内容。
        本专利文献中包含 【1 个实施例】、 【2 个技术分类】,从一定程度上而言上述指标的数值越大可以反映出所述专利的技术保护及应用范围越广。 【专利权的维持时间3 年】专利权的维持时间越长,其价值对于权利人而言越高。

技术价值    28.0

该指标主要从专利申请的著录信息、法律事件等内容中挖掘其技术价值,专利类型、独立权利要求数量、无效请求次数等内容均可反映出专利的技术性价值。 技术创新是专利申请的核心,若您需要进行技术借鉴或寻找可合作的项目,推荐您重点关注该指标。

部分指标包括:

授权周期(发明)

9 个月

独立权利要求数量

1 个

从属权利要求数量

5 个

说明书页数

3 页

实施例个数

1 个

发明人数量

1 个

被引用次数

0 次

引用文献数量

0 个

优先权个数

0 个

技术分类数量

2 个

无效请求次数

0 个

分案子案个数

0 个

同族专利数

0 个

专利获奖情况

保密专利的解密

经济价值    8.0

该指标主要指示了专利技术在商品化、产业化及市场化过程中可能带来的预期利益。 专利技术只有转化成生产力才能体现其经济价值,专利技术的许可、转让、质押次数等指标均是其经济价值的表征。 因此,若您希望找到行业内的运用广泛的热点专利技术及侵权诉讼中的涉案专利,推荐您重点关注该指标。

部分指标包括:

申请人数量

1

申请人类型

企业

许可备案

0 次

权利质押

0 次

权利转移

0 个

海关备案

法律价值    7.0

该指标主要从专利权的稳定性角度评议其价值。专利权是一种垄断权,但其在法律保护的期间和范围内才有效。 专利权的存续时间、当前的法律状态可反映出其法律价值。故而,若您准备找寻权属稳定且专利权人非常重视的专利技术,推荐您关注该指标。

部分指标包括:

存活期/维持时间

3

法律状态

无权-未缴年费