【中国实用新型】无痛纤支镜麻醉管路调节装置

无权-期满终止 中国

授权公告日/公开日:
2016.08.10
专利有效期:
2015.12.24-2025.12.24
技术分类:
A61:医学或兽医学;卫生学
转化方式:
转让
价值度指数:
63.0分
价格:
面议
2954 0

发布人

南京大学医学院附属鼓楼医院

联系人

13700000002
  • 专利信息&法律状态
  • 专利自评
  • 专利技术文档
  • 价值度指数
  • 发明人阵容

著录项

申请号
CN201521090107.6
申请日
20151224
公开/公告号
CN205434607U
公开/公告日
20160810
申请/专利权人
[南京大学医学院附属鼓楼医院]
发明/设计人
[吴浩, 杨学林, 杜萍]
主分类号
A61M16/00
IPC分类号
C12N 9/0008(2013.01) C12N 9/16
CPC分类号
C12N 9/0008(2013.01) C12N 9/16(2013.01)
分案申请地址
国省代码
中国,CN,江苏(32)
颁证日
G06T1/00
代理人
[戴朝荣]

摘要

本实用新型公开了无痛纤支镜麻醉管路调节装置,包括调节装置主体,调节装置主体包括接入喉罩的第一管道、与纤支镜导管连接的第二管道以及连接输氧装置的第三管道,第一管道、第二管道和第三管道通过一柔质三通管相连通,第二管道的管内壁上密封贴附有一圈气囊,气囊外接有一充气阀,纤支镜导管插入第二管道后,气囊充气与纤支镜导管密封配合。本实用新型具有能固定不同直径无痛纤支镜麻醉管、调节方便的优点。

法律状态

法律状态公告日 20260109
法律状态 专利权的终止
法律状态信息 专利权有效期届满
IPC(主分类):A61M 16/00
专利号:ZL2015210901076
申请日:20151224
授权公告日:20160810
终止日期:
法律状态公告日 20160810
法律状态 授权
法律状态信息 授权
暂无数据

权利要求

权利要求数量(6

独立权利要求数量(1

1.无痛纤支镜麻醉管路调节装置,其特征是:包括调节装置主体(1),所述的调节装置主体(1)包括接入喉罩的第一管道(2)、与纤支镜导管(7)连接的第二管道(3)以及连接输氧装置的第三管道(4),所述的第一管道(2)、第二管道(3)和第三管道(4)通过一柔质三通管(5)相连通,所述的第二管道(3)的管内壁上密封贴附有一圈气囊(8),所述的气囊(8)外接有一充气阀(6),所述的纤支镜导管(7)插入第二管道(3)后,气囊(8)充气使第二管道(3)与纤支镜导管(7)密封配合。

2.根据权利要求1所述的无痛纤支镜麻醉管路调节装置,其特征是:所述的气囊(8)与纤支镜导管(7)接触的一面为柔质胶面。

3.根据权利要求2所述的无痛纤支镜麻醉管路调节装置,其特征是:所述的充气阀(6)为单向阀,所述的充气阀(6)内设置有阀座(61)和阀芯(62),所述的阀芯(62)上设置有一阀片(63),所述的阀芯(62)延伸至充气阀(6)阀口位置处,阀片(63)盖在阀座(61)内侧,当气体从阀口进入充气阀(6)时,阀片(63)与阀座(61)分离,阀座(61)上的通气孔贯通,当气体从气囊流向阀口时,阀片(63)压在阀座(61)上,阀座(61)上的通气孔被密封。

4.根据权利要求3所述的无痛纤支镜麻醉管路调节装置,其特征是:所述的柔质三通管(5)为硅胶管,所述的柔质三通管(5)与第三管道(4)连接的一端能转动或弯折。

5.根据权利要求4所述的无痛纤支镜麻醉管路调节装置,其特征是:所述的第二管道(3)的端部设置有封盖(31),所述的封盖(31)能盖住第二管道(3)的管口。

6.根据权利要求5所述的无痛纤支镜麻醉管路调节装置,其特征是:所述的气囊(8)的材质为硅胶或橡胶。

1.无痛纤支镜麻醉管路调节装置,其特征是:包括调节装置主体(1),所述的调节装置主体(1)包括接入喉罩的第一管道(2)、与纤支镜导管(7)连接的第二管道(3)以及连接输氧装置的第三管道(4),所述的第一管道(2)、第二管道(3)和第三管道(4)通过一柔质三通管(5)相连通,所述的第二管道(3)的管内壁上密封贴附有一圈气囊(8),所述的气囊(8)外接有一充气阀(6),所述的纤支镜导管(7)插入第二管道(3)后,气囊(8)充气使第二管道(3)与纤支镜导管(7)密封配合。

2.根据权利要求1所述的无痛纤支镜麻醉管路调节装置,其特征是:所述的气囊(8)与纤支镜导管(7)接触的一面为柔质胶面。

3.根据权利要求2所述的无痛纤支镜麻醉管路调节装置,其特征是:所述的充气阀(6)为单向阀,所述的充气阀(6)内设置有阀座(61)和阀芯(62),所述的阀芯(62)上设置有一阀片(63),所述的阀芯(62)延伸至充气阀(6)阀口位置处,阀片(63)盖在阀座(61)内侧,当气体从阀口进入充气阀(6)时,阀片(63)与阀座(61)分离,阀座(61)上的通气孔贯通,当气体从气囊流向阀口时,阀片(63)压在阀座(61)上,阀座(61)上的通气孔被密封。

4.根据权利要求3所述的无痛纤支镜麻醉管路调节装置,其特征是:所述的柔质三通管(5)为硅胶管,所述的柔质三通管(5)与第三管道(4)连接的一端能转动或弯折。

5.根据权利要求4所述的无痛纤支镜麻醉管路调节装置,其特征是:所述的第二管道(3)的端部设置有封盖(31),所述的封盖(31)能盖住第二管道(3)的管口。

6.根据权利要求5所述的无痛纤支镜麻醉管路调节装置,其特征是:所述的气囊(8)的材质为硅胶或橡胶。

说明书

技术领域

本实用新型属于医疗器械技术领域,尤其涉及无痛纤支镜麻醉管路调节装置。

背景技术

纤维支气管镜检查及治疗需要将纤支镜置入患者的气管支气管中,对患者的刺激巨大,在没有麻醉的情况下患者会忍受巨大的痛苦,而无痛纤支镜为患者解除了痛苦,临床需求越来越广泛。对麻醉医生来说无痛纤支镜的呼吸道管理最为关键。随着临床技术的发展,纤支镜下治疗及E-BUS检查等项目的不断发展,对麻醉的需求不断扩大。目前临床上无痛纤支镜喉罩的使用越来越广泛,置入喉罩后需要使用三通连结管路。目前现有的三通连结管路有活动性较差,纤支镜入口大小不便于医生操作等缺点。

发明内容

为了克服上述现有技术的缺点,本实用新型的目的在于提供一种能固定不同直径无痛纤支镜麻醉管、调节方便的无痛纤支镜麻醉管路调节装置。

为解决上述技术问题,本实用新型采用的技术方案为:

无痛纤支镜麻醉管路调节装置,包括调节装置主体,调节装置主体包括接入喉罩的第一管道、通过纤支镜导管的第二管道以及连接输氧装置的第三管道,第一管道、第二管道和第三管道通过一柔质三通管相连通,第二管道的管内壁上密封贴附有一圈气囊,气囊外接有一充气阀,纤支镜导管插入第二管道后,气囊充气使第二管道与纤支镜导管密封配合。

为优化上述技术方案,采取的具体措施还包括:

上述的气囊与纤支镜麻醉管接触的一面为柔质胶面。

上述的充气阀为单向阀,充气阀内设置有阀座和阀芯,阀芯上设置有一阀片,阀芯延伸至充气阀阀口位置处,阀片盖在阀座内侧,当气体从阀口进入充气阀时,阀片与阀座分离,阀座上的通气孔贯通,当气体从气囊流向阀口时,阀片压在阀座上,阀座上的通气孔被密封。

上述的柔质三通管为硅胶管,柔质三通管与第三管道连接的一端能转动或弯折。

上述的第二管道的端部设置有封盖,封盖能盖住第二管道的管口。

上述的气囊的材质为硅胶或橡胶。

本实用新型提供了无痛纤支镜麻醉管路调节装置,通过一个柔质三通管连接三个管路,由于本装置要放置在患者嘴部,为了方便操作,三通管要求能转动或弯折,故本实用新型采用了硅胶管作为三通管,相比于现有的连接管道,操作更加灵活。由于不同型号的纤支镜管粗细不一,而纤支镜管插入端管道口径是按最粗的纤支镜管设计的,这导致调节装置在与纤支镜管连接处漏气,本实用新型在此处设计了气囊,当纤支镜管插入后,对气囊充气,使气囊密封包围纤支镜管,防止调节装置在与纤支镜管连接处漏气,同时还能有效固定纤支镜。

附图说明

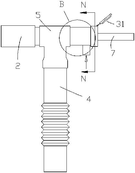
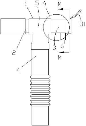
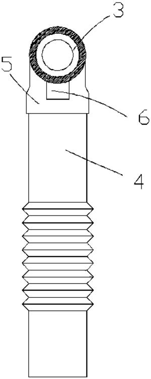
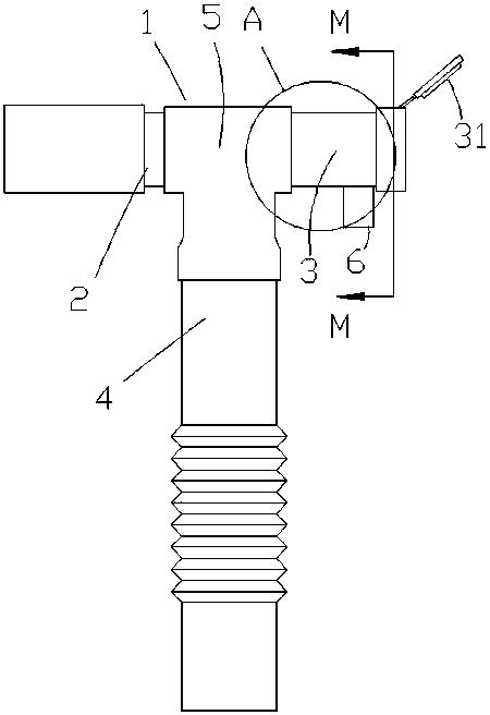
图1是本实用新型的结构示意图;

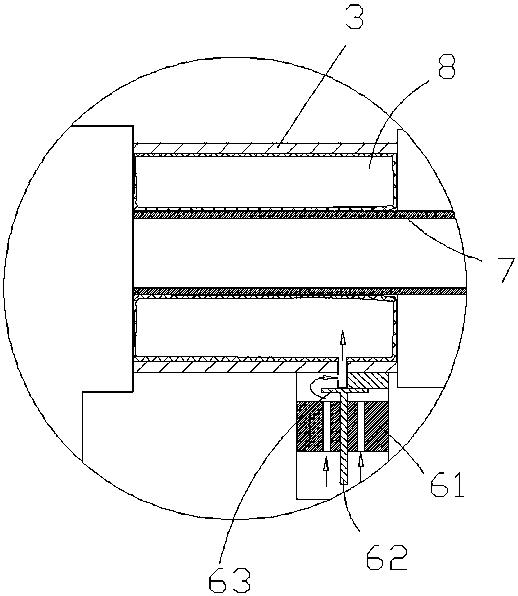
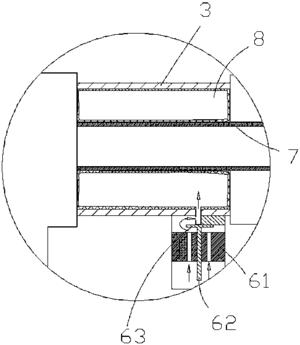
图2是图1的A部放大图;

图3是图1的M-M剖视图;

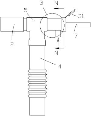
图4是纤支镜管插入第二管道的结构示意图;

图5是图4的B部放大图;

图6是图4的N-N剖视图。

其中的附图标记为:调节装置主体1、第一管道2、第二管道3、封盖31、第三管道4、柔质三通管5、充气阀6、阀座61、阀芯62、阀片63、纤支镜麻醉管7、气囊8。

具体实施方式

下面结合附图对本实用新型的技术方案作详细说明。

本实用新型的无痛纤支镜麻醉管路调节装置,包括调节装置主体1,调节装置主体1包括接入喉罩的第一管道2、与纤支镜导管7连接的第二管道3以及连接输氧装置的第三管道4,第一管道2、第二管道3和第三管道4通过一柔质三通管5相连通,第二管道3的管内壁上密封贴附有一圈气囊8,气囊8外接有一充气阀6,纤支镜导管7插入第二管道3后,气囊8充气与纤支镜导管7密封配合。

实施例中,气囊8与纤支镜导管7接触的一面为柔质胶面。

实施例中,充气阀6为单向阀,充气阀6内设置有阀座61和阀芯62,阀芯62上设置有一阀片63,阀芯62延伸至充气阀6阀口位置处,阀片63盖在阀座61内侧,当气体从阀口进入充气阀6时,阀片63与阀座61分离,阀座61上的通气孔贯通,当气体从气囊流向阀口时,阀片63压在阀座61上,阀座61上的通气孔被密封。

实施例中,柔质三通管5为硅胶管,柔质三通管5与第三管道4连接的一端能转动或弯折。

实施例中,第二管道3的端部设置有封盖31,封盖31能盖住第二管道3的管口。

实施例中,气囊8的材质为硅胶或橡胶。

本实用新型使用方法如下:

使用时,将纤支镜导管7插入第二管道3中,然后对充气阀6充气,直至气囊鼓起,完全压住纤支镜导管7,然后调节柔质三通管5,使其弯折或转动,处于一个操作方便的位置,然后进行无痛纤支镜操作。当麻醉结束后拆掉本装置时,用手按压阀芯62,使阀片63顶起,气囊8放气,然后抽出纤支镜导管7,然后将整个装置拿下收起。

以上仅是本实用新型的优选实施方式,本实用新型的保护范围并不仅局限于上述实施例,凡属于本实用新型思路下的技术方案均属于本实用新型的保护范围。应当指出,对于本技术领域的普通技术人员来说,在不脱离本实用新型原理前提下的若干改进和润饰,应视为本实用新型的保护范围。

价值度评估

技术价值

经济价值

法律价值

0 0 0

63.0

0 50 75 100
0~50 50~75 75~100 价值较低 中等价值 价值较高

专利价值度是通过科学的评估模

型对专利价值进行量化的结果,

基于专利大数据针对专利总体特

征指标利用计算机自动化技术对

待评估专利进行高效、智能化的

分析,从技术、经济和法律价值

三个层面构建专利价值评估体

系,可以有效提升专利价值评估

的质量和效率。

总评:63.0


该专利价值中等 (仅供参考)

        该专利的技术、经济、法律价值经系统自动评估后的总评得分处于平均水平,可以重点研究利用其技术价值,根据法律价值的评估结果选择合适的使用借鉴方式。
        本专利文献中包含【1 个技术分类】,从一定程度上而言上述指标的数值越大可以反映出所述专利的技术保护及应用范围越广。 【被引用次数3 次】专利被引次数越多越能能够体现出该专利在相关技术领域研发中所发挥的基础性作用,代表着专利公开的内容有更多的产业利用价值。 【专利权的维持时间11 年】专利权的维持时间越长,其价值对于权利人而言越高。

技术价值    32.0

该指标主要从专利申请的著录信息、法律事件等内容中挖掘其技术价值,专利类型、独立权利要求数量、无效请求次数等内容均可反映出专利的技术性价值。 技术创新是专利申请的核心,若您需要进行技术借鉴或寻找可合作的项目,推荐您重点关注该指标。

部分指标包括:

授权周期(发明)

7 个月

独立权利要求数量

0 个

从属权利要求数量

0 个

说明书页数

2 页

实施例个数

0 个

发明人数量

3 个

被引用次数

3 次

引用文献数量

3 个

优先权个数

0 个

技术分类数量

1 个

无效请求次数

0 个

分案子案个数

0 个

同族专利数

0 个

专利获奖情况

保密专利的解密

经济价值    6.0

该指标主要指示了专利技术在商品化、产业化及市场化过程中可能带来的预期利益。 专利技术只有转化成生产力才能体现其经济价值,专利技术的许可、转让、质押次数等指标均是其经济价值的表征。 因此,若您希望找到行业内的运用广泛的热点专利技术及侵权诉讼中的涉案专利,推荐您重点关注该指标。

部分指标包括:

申请人数量

1

申请人类型

机关团体

许可备案

0 次

权利质押

0 次

权利转移

0 个

海关备案

法律价值    25.0

该指标主要从专利权的稳定性角度评议其价值。专利权是一种垄断权,但其在法律保护的期间和范围内才有效。 专利权的存续时间、当前的法律状态可反映出其法律价值。故而,若您准备找寻权属稳定且专利权人非常重视的专利技术,推荐您关注该指标。

部分指标包括:

存活期/维持时间

11

法律状态

无权-期满终止