【中国实用新型】一种OSFP电连接器

无权-未缴年费 中国

授权公告日/公开日:
2019.11.05
专利有效期:
2019.04.19-2029.04.19
技术分类:
H01:基本电气元件
转化方式:
转让
价值度指数:
58.0分
价格:
¥10705.00
1223 0

发布人

东莞铭同精密电子有限公司

联系人赖颖珊

+8613559778745
453560128@qq.com
广东省东莞市石排镇
  • 专利信息&法律状态
  • 专利自评
  • 专利技术文档
  • 价值度指数
  • 发明人阵容

著录项

申请号
CN201920540095.4
申请日
20190419
公开/公告号
CN209592385U
公开/公告日
20191105
申请/专利权人
[东莞铭普光磁股份有限公司]
发明/设计人
[李志深]
主分类号
H01R13/02
IPC分类号
C12N 9/0008(2013.01) C12N 9/16
CPC分类号
C12N 9/0008(2013.01) C12N 9/16(2013.01)
分案申请地址
国省代码
广东(44)
颁证日
G06T1/00
代理人
[张春水, 唐京桥]

摘要

本实用新型涉及连接器技术领域,具体公开一种OSFP电连接器,包括:若干信号端子,所述信号端子包括信号金属触片和注塑成型于所述信号金属触片上的信号绝缘块;所述信号绝缘块的中部设有信号定位孔;若干接地端子,所述接地端子包括接地金属触片和注塑成型于所述接地金属触片上的接地绝缘块;所述接地绝缘块的中部设有接地定位孔;绝缘本体胶芯,所述绝缘本体胶芯设有若干信号插槽和接地插槽。本实用新型提供的OSFP电连接器,具有较高的稳定性和可靠性。

法律状态

法律状态公告日 20240507
法律状态 专利权的终止
法律状态信息 未缴年费专利权终止
IPC(主分类):H01R 13/02
专利号:ZL2019205400954
申请日:20190419
授权公告日:20191105
终止日期:
法律状态公告日 20200911
法律状态 专利申请权、专利权的转移
法律状态信息 专利权的转移
IPC(主分类):H01R 13/02
专利号:ZL2019205400954
登记生效日:20200821
变更事项:专利权人
变更前权利人:东莞铭普光磁股份有限公司
变更后权利人:东莞铭同精密电子有限公司
变更事项:地址
变更前权利人:523343 广东省东莞市石排镇庙边王沙迳村中九路
变更后权利人:523000 广东省东莞市石排镇庙边王石岗路22号
法律状态公告日 20191105
法律状态 授权
法律状态信息 授权
事务数据公告日 20200911
事务数据类型 专利申请权、专利权的转移
转让详情 专利权的转移
IPC(主分类):H01R 13/02
专利号:ZL2019205400954
登记生效日:20200821
变更事项:专利权人
变更前权利人:东莞铭普光磁股份有限公司
变更后权利人:东莞铭同精密电子有限公司
变更事项:地址
变更前权利人:523343 广东省东莞市石排镇庙边王沙迳村中九路
变更后权利人:523000 广东省东莞市石排镇庙边王石岗路22号
暂无数据

权利要求

权利要求数量(9

独立权利要求数量(1

1.一种OSFP电连接器,其特征在于,包括:

若干信号端子(1),所述信号端子(1)包括信号金属触片和注塑成型于所述信号金属触片上的信号绝缘块(103);所述信号绝缘块(103)的中部设有信号定位孔(1031);

若干接地端子(2),所述接地端子(2)包括接地金属触片和注塑成型于所述接地金属触片上的接地绝缘块(203);所述接地绝缘块(203)的中部设有接地定位孔(2031);

绝缘本体胶芯(3),所述绝缘本体胶芯(3)设有若干信号插槽和接地插槽;每个所述信号端子(1)插入一所述信号插槽中,每个所述接地端子(2)插入一所述接地插槽中;当信号端子(1)和接地端子(2)插入所述绝缘本体胶芯(3)中时,所有所述信号定位孔(1031)和接地定位孔(2031)对齐,所述绝缘本体胶芯(3)的侧面与所述信号定位孔(1031)和接地定位孔(2031)对应的位置设有让位缺口(301)。

2.根据权利要求1所述的OSFP电连接器,其特征在于,所述信号绝缘块(103)和接地绝缘块(203)的顶部均设有倒勾凸台(4),所述绝缘本体胶芯(3)还设有与所述信号插槽和接地插槽均连通并用于容纳所述信号绝缘块(103)和接地绝缘块(203)的内部容腔,所述内部容腔的顶部与所述倒勾凸台(4)对应的位置设有勾槽(302),所述倒勾凸台(4)与所述勾槽(302)卡接。

3.根据权利要求2所述的OSFP电连接器,其特征在于,所述内部容腔的开口端设有便于插入所述倒勾凸台(4)的倒角(303)。

4.根据权利要求3所述的OSFP电连接器,其特征在于,所述倒勾凸台(4)包括一与所述倒角(303)配合的斜面(401)和一与所述勾槽(302)配合的竖直面(402)。

5.根据权利要求1所述的OSFP电连接器,其特征在于,还包括:

固定片(6),所述固定片固设于所述绝缘本体胶芯(3)的底部。

6.根据权利要求5所述的OSFP电连接器,其特征在于,所述绝缘本体胶芯(3)的底部设有定位凸台(5),所述固定片(6)的中部设有定位通孔,所述定位凸台(5)插入所述定位通孔中。

7.根据权利要求1所述的OSFP电连接器,其特征在于,所述信号金属触片包括分体式结构并相互绝缘的第一信号触片(101)和第二信号触片(102)。

8.根据权利要求1所述的OSFP电连接器,其特征在于,所述接地金属触片包括一体式结构并相互电导通的第一接地触片(201)和第二接地触片(202)。

9.根据权利要求1所述的OSFP电连接器,其特征在于,所述信号定位孔(1031)和接地定位孔(2031)均为矩形通孔。

1.一种OSFP电连接器,其特征在于,包括:

若干信号端子(1),所述信号端子(1)包括信号金属触片和注塑成型于所述信号金属触片上的信号绝缘块(103);所述信号绝缘块(103)的中部设有信号定位孔(1031);

若干接地端子(2),所述接地端子(2)包括接地金属触片和注塑成型于所述接地金属触片上的接地绝缘块(203);所述接地绝缘块(203)的中部设有接地定位孔(2031);

绝缘本体胶芯(3),所述绝缘本体胶芯(3)设有若干信号插槽和接地插槽;每个所述信号端子(1)插入一所述信号插槽中,每个所述接地端子(2)插入一所述接地插槽中;当信号端子(1)和接地端子(2)插入所述绝缘本体胶芯(3)中时,所有所述信号定位孔(1031)和接地定位孔(2031)对齐,所述绝缘本体胶芯(3)的侧面与所述信号定位孔(1031)和接地定位孔(2031)对应的位置设有让位缺口(301)。

2.根据权利要求1所述的OSFP电连接器,其特征在于,所述信号绝缘块(103)和接地绝缘块(203)的顶部均设有倒勾凸台(4),所述绝缘本体胶芯(3)还设有与所述信号插槽和接地插槽均连通并用于容纳所述信号绝缘块(103)和接地绝缘块(203)的内部容腔,所述内部容腔的顶部与所述倒勾凸台(4)对应的位置设有勾槽(302),所述倒勾凸台(4)与所述勾槽(302)卡接。

3.根据权利要求2所述的OSFP电连接器,其特征在于,所述内部容腔的开口端设有便于插入所述倒勾凸台(4)的倒角(303)。

4.根据权利要求3所述的OSFP电连接器,其特征在于,所述倒勾凸台(4)包括一与所述倒角(303)配合的斜面(401)和一与所述勾槽(302)配合的竖直面(402)。

5.根据权利要求1所述的OSFP电连接器,其特征在于,还包括:

固定片(6),所述固定片固设于所述绝缘本体胶芯(3)的底部。

6.根据权利要求5所述的OSFP电连接器,其特征在于,所述绝缘本体胶芯(3)的底部设有定位凸台(5),所述固定片(6)的中部设有定位通孔,所述定位凸台(5)插入所述定位通孔中。

7.根据权利要求1所述的OSFP电连接器,其特征在于,所述信号金属触片包括分体式结构并相互绝缘的第一信号触片(101)和第二信号触片(102)。

8.根据权利要求1所述的OSFP电连接器,其特征在于,所述接地金属触片包括一体式结构并相互电导通的第一接地触片(201)和第二接地触片(202)。

9.根据权利要求1所述的OSFP电连接器,其特征在于,所述信号定位孔(1031)和接地定位孔(2031)均为矩形通孔。

说明书

技术领域

本实用新型涉及连接器技术领域,尤其涉及一种OSFP电连接器。

背景技术

QSFP,全称Quad Small Form-factor Pluggable,小型可插拔光模块,目前QSFP28光模块有四个电通道,每通道运行速率为10Gbps或25Gbps,支持40G 和100G以太网应用。申请号为CN201820911073.X的专利文献公开一种 QSFP-DD高速信号电连接器,将通道数增加到八个,通过NRZ调制使每通道运行速率上达25Gbps或通过PAM4调制每通道运行速率上达50Gbps,从而支持200Gbps或400Gbps。

但是,目前的OSFP电连接器依然存在稳定性不够高的问题,在一定程度上制约着技术的进一步发展。

发明内容

本实用新型的一个目的在于,提供一种OSFP电连接器,具有较高的稳定性和可靠性。

为达以上目的,本实用新型提供一种OSFP电连接器,包括:

若干信号端子,所述信号端子包括信号金属触片和注塑成型于所述信号金属触片上的信号绝缘块;所述信号绝缘块的中部设有信号定位孔;

若干接地端子,所述接地端子包括接地金属触片和注塑成型于所述接地金属触片上的接地绝缘块;所述接地绝缘块的中部设有接地定位孔;

绝缘本体胶芯,所述绝缘本体胶芯设有若干信号插槽和接地插槽;每个所述信号端子插入一所述信号插槽中,每个所述接地端子插入一所述接地插槽中;当信号端子和接地端子插入所述绝缘本体胶芯中时,所有所述信号定位孔和接地定位孔对齐,所述绝缘本体胶芯的侧面与所述信号定位孔和接地定位孔对应的位置设有让位缺口。

优选地,还包括:

优选地,所述信号绝缘块和接地绝缘块的顶部均设有倒勾凸台,所述绝缘本体胶芯还设有与所述信号插槽和接地插槽均连通并用于容纳所述信号绝缘块和接地绝缘块的内部容腔,所述内部容腔的顶部与所述倒勾凸台对应的位置设有勾槽,所述倒勾凸台与所述勾槽卡接。

优选地,所述内部容腔的开口端设有便于插入所述倒勾凸台的倒角。

优选地,所述倒勾凸台包括一与所述倒角配合的斜面和一与所述勾槽配合的竖直面。

优选地,还包括:

固定片,所述固定片固设于所述绝缘本体胶芯的底部。

优选地,所述绝缘本体胶芯的底部设有定位凸台,所述固定片的中部设有定位通孔,所述定位凸台插入所述定位通孔中。

优选地,所述信号金属触片包括分体式结构并相互绝缘的第一信号触片和第二信号触片。

优选地,所述接地金属触片包括一体式结构并相互电导通的第一接地触片和第二接地触片。

优选地,所述信号定位孔和接地定位孔均为矩形通孔。

本实用新型的有益效果在于:提供一种OSFP电连接器,具有较高的稳定性和可靠性。

附图说明

为了更清楚地说明本实用新型实施例或现有技术中的技术方案,下面将对实施例或现有技术描述中所需要使用的附图作简单地介绍,显而易见地,下面描述中的附图仅仅是本实用新型的一些实施例,对于本领域普通技术人员来讲,在不付出创造性劳动性的前提下,还可以根据这些附图获得其它的附图。

图1为实施例提供的OSFP电连接器的爆炸示意图;

图2为实施例提供的OSFP电连接器的顶部的示意图;

图3为实施例提供的OSFP电连接器的底部的示意图;

图4为实施例提供的OSFP电连接器的剖面示意图;

图5为实施例提供的信号端子的爆炸示意图;

图6为实施例提供的接地端子的爆炸示意图。

图中:

1、信号端子;101、第一信号触片;102、第二信号触片;103、信号绝缘块;1031、信号定位孔;

2、接地端子;201、第一接地触片;202、第二接地触片;203、接地绝缘块;2031、接地定位孔;

3、绝缘本体胶芯;301、让位缺口;302、勾槽;303、倒角;

4、倒勾凸台;401、斜面;402、竖直面;

5、定位凸台;

6、固定片。

具体实施方式

下面结合附图并通过具体实施方式来进一步说明本实用新型的技术方案。

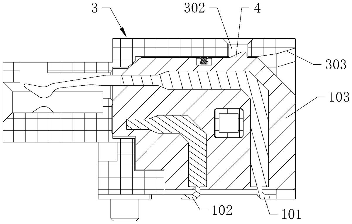
参见图1~图6,本实施例提供一种OSFP电连接器,包括若干信号端子1、若干接地端子2和一绝缘本体胶芯3。所述信号端子1包括信号金属触片和注塑成型于所述信号金属触片上的信号绝缘块103;所述信号绝缘块103的中部设有信号定位孔1031。所述接地端子2包括接地金属触片和注塑成型于所述接地金属触片上的接地绝缘块203;所述接地绝缘块203的中部设有接地定位孔2031。所述绝缘本体胶芯3设有若干信号插槽和接地插槽;每个所述信号端子1插入一所述信号插槽中,每个所述接地端子2插入一所述接地插槽中;当信号端子1和接地端子2插入所述绝缘本体胶芯3中时,所有所述信号定位孔1031和接地定位孔2031对齐,所述绝缘本体胶芯3的侧面与所述信号定位孔1031和接地定位孔2031对应的位置设有让位缺口301。

具体地,在信号端子1上设置信号定位孔1031并在接地端子2上设置接地定位孔2031,可以通过定位孔对端子和绝缘本体胶芯3的装配精度进行监测,当信号定位孔1031和接地定位孔2031对齐时,说明各端子的装配情况均衡同一,装配精度较高,误差较少,生产得到的OSFP电连接器的稳定性和可靠性较高。进一步地,让位缺口301可以方便从外侧对信号定位孔1031和接地定位孔2031的对齐情况进行检测。

优选地,所述信号绝缘块103和接地绝缘块203的顶部均设有倒勾凸台4,所述绝缘本体胶芯3还设有与所述信号插槽和接地插槽均连通并用于容纳所述信号绝缘块103和接地绝缘块203的内部容腔,所述内部容腔的顶部与所述倒勾凸台4对应的位置设有勾槽302,所述倒勾凸台4与所述勾槽302卡接。所述内部容腔的开口端设有便于插入所述倒勾凸台4的倒角303。所述倒勾凸台4包括一与所述倒角303配合的斜面401和一与所述勾槽302配合的竖直面402。具体地,通过倒勾凸台4与勾槽302的卡接配合,可以提高绝缘本体胶芯3与信号端子以及接地端子之间连接的牢固度,提高整个OSFP电连接器的可靠性。进一步地,通过倒角303和斜面401的配合,可以方便端子与绝缘本体胶芯3的装配,提高生产效率。

本实施例中,OSFP电连接器还包括固定片6,所述固定片6固设于绝缘本体胶芯的底部。优选地,所述绝缘本体胶芯3的底部设有定位凸台5,所述固定片6的中部设有定位通孔,所述定位凸台5插入所述定位通孔中。具体地,固定片6可以起固定和接地的作用。

本实施例中,所述信号金属触片包括分体式结构并相互绝缘的第一信号触片101和第二信号触片102。所述接地金属触片包括一体式结构并相互电导通的第一接地触片201和第二接地触片202。

优选地,所述信号定位孔1031和接地定位孔2031的形状和尺寸均相同。进一步地,所述信号定位孔1031和接地定位孔2031均为矩形通孔。具体地,如此设置可以降低对信号定位孔1031和接地定位孔2031的对齐情况的监测难度,提高生产效率,降低生产成本。

优选地,各端子按照GSSGSSGSSGSSGAAAAGSSGSSGSSGSSG叠组顺序,其中,G代表接地端子2,A代表信号端子1。

本实施例提供的OSFP电连接器具备以下有益效果:

①信号端子1的信号金属触片设计为分体式结构,通过模具注塑成型在信号绝缘体内;

②接地端子2的接地金属触片设计为一体式结构,通过模具注塑成型在接地绝缘体内,两者均能更好把接地端子2固定住,从而确保接地端子2具有一个良好的焊锡位置,并对后续组装至绝缘本体胶芯3内定位固定起作用,提升产品的品质稳定性;

③通过设计倒勾凸台4和勾槽302实现绝缘本体胶芯3的防退倒功能,能够在叠片装配进绝缘本体胶芯3内时实现完全固定,通过在绝缘本体胶体中心位置设计一个送料孔,可以达到送料定位稳定和制造工艺自动化的效果。

以上实施例仅用以说明本实用新型的技术方案,而非对其限制;尽管参照前述实施例对本实用新型进行了详细的说明,本领域的普通技术人员应当理解:其依然可以对前述各实施例所记载的技术方案进行修改,或者对其中部分技术特征进行等同替换;而这些修改或者替换,并不使相应技术方案的本质脱离本实用新型各实施例技术方案的精神和范围。

价值度评估

技术价值

经济价值

法律价值

0 0 0

58.0

0 50 75 100
0~50 50~75 75~100 价值较低 中等价值 价值较高

专利价值度是通过科学的评估模

型对专利价值进行量化的结果,

基于专利大数据针对专利总体特

征指标利用计算机自动化技术对

待评估专利进行高效、智能化的

分析,从技术、经济和法律价值

三个层面构建专利价值评估体

系,可以有效提升专利价值评估

的质量和效率。

总评:58.0


该专利价值中等 (仅供参考)

        该专利的技术、经济、法律价值经系统自动评估后的总评得分处于平均水平,可以重点研究利用其技术价值,根据法律价值的评估结果选择合适的使用借鉴方式。
        本专利文献中包含【1 个实施例】、【5 个技术分类】,从一定程度上而言上述指标的数值越大可以反映出所述专利的技术保护及应用范围越广。 【专利权的维持时间5 年】专利权的维持时间越长,其价值对于权利人而言越高。 尤其重要是,该专利 【权利转移1 次】、 都从侧面反应出该专利的技术、经济和法律价值。

技术价值    29.0

该指标主要从专利申请的著录信息、法律事件等内容中挖掘其技术价值,专利类型、独立权利要求数量、无效请求次数等内容均可反映出专利的技术性价值。 技术创新是专利申请的核心,若您需要进行技术借鉴或寻找可合作的项目,推荐您重点关注该指标。

部分指标包括:

授权周期(发明)

6 个月

独立权利要求数量

1 个

从属权利要求数量

8 个

说明书页数

4 页

实施例个数

1 个

发明人数量

1 个

被引用次数

0 次

引用文献数量

0 个

优先权个数

0 个

技术分类数量

5 个

无效请求次数

0 个

分案子案个数

0 个

同族专利数

0 个

专利获奖情况

保密专利的解密

经济价值    10.0

该指标主要指示了专利技术在商品化、产业化及市场化过程中可能带来的预期利益。 专利技术只有转化成生产力才能体现其经济价值,专利技术的许可、转让、质押次数等指标均是其经济价值的表征。 因此,若您希望找到行业内的运用广泛的热点专利技术及侵权诉讼中的涉案专利,推荐您重点关注该指标。

部分指标包括:

申请人数量

1

申请人类型

企业

许可备案

0 次

权利质押

0 次

权利转移

1 个

海关备案

法律价值    19.0

该指标主要从专利权的稳定性角度评议其价值。专利权是一种垄断权,但其在法律保护的期间和范围内才有效。 专利权的存续时间、当前的法律状态可反映出其法律价值。故而,若您准备找寻权属稳定且专利权人非常重视的专利技术,推荐您关注该指标。

部分指标包括:

存活期/维持时间

5

法律状态

无权-未缴年费