【中国实用新型】模块容置装置及模块连接器

无权-未缴年费 中国

授权公告日/公开日:
2019.12.10
专利有效期:
2019.06.20-2029.06.20
技术分类:
G02:光学
转化方式:
转让
价值度指数:
60.0分
价格:
¥10705.00
988 0

发布人

东莞铭同精密电子有限公司

联系人赖颖珊

+8613559778745
453560128@qq.com
广东省东莞市石排镇
  • 专利信息&法律状态
  • 专利自评
  • 专利技术文档
  • 价值度指数
  • 发明人阵容

著录项

申请号
CN201920938919.3
申请日
20190620
公开/公告号
CN209765113U
公开/公告日
20191210
申请/专利权人
[东莞铭普光磁股份有限公司]
发明/设计人
[李志深]
主分类号
G02B6/42
IPC分类号
C12N 9/0008(2013.01) C12N 9/16
CPC分类号
C12N 9/0008(2013.01) C12N 9/16(2013.01)
分案申请地址
国省代码
广东(44)
颁证日
G06T1/00
代理人
[倪静]

摘要

本申请涉及通信连接装置技术领域,尤其是涉及一种模块容置装置及模块连接器。模块容置装置包括外壳主体、导光件和安装板;所述外壳主体用于容置通信模块,所述安装板位于所述外壳主体的外侧,并与所述外壳主体相连接;所述安装板上开设有插接孔,所述导光件上设置有弹性插头,所述弹性插头能够插入所述插接孔中,且所述弹性插头能够与插接孔壁卡合连接。本申请提供的模块容置装置及模块连接器,通过在外壳主体上设置安装板,并将导光件底部的弹性插头插接在安装板上,利用弹性压紧力将导光件紧固,提升了导光件装配的稳定性。

法律状态

法律状态公告日 20240621
法律状态 专利权的终止
法律状态信息 未缴年费专利权终止
IPC(主分类):G02B 6/42
专利号:ZL2019209389193
申请日:20190620
授权公告日:20191210
终止日期:
法律状态公告日 20200908
法律状态 专利申请权、专利权的转移
法律状态信息 专利权的转移
IPC(主分类):G02B 6/42
专利号:ZL2019209389193
登记生效日:20200819
变更事项:专利权人
变更前权利人:东莞铭普光磁股份有限公司
变更后权利人:东莞铭同精密电子有限公司
变更事项:地址
变更前权利人:523000 广东省东莞市石排镇庙边王沙迳村中九路
变更后权利人:523000 广东省东莞市石排镇庙边王石岗路22号
法律状态公告日 20191210
法律状态 授权
法律状态信息 授权
事务数据公告日 20200908
事务数据类型 专利申请权、专利权的转移
转让详情 专利权的转移
IPC(主分类):G02B 6/42
专利号:ZL2019209389193
登记生效日:20200819
变更事项:专利权人
变更前权利人:东莞铭普光磁股份有限公司
变更后权利人:东莞铭同精密电子有限公司
变更事项:地址
变更前权利人:523000 广东省东莞市石排镇庙边王沙迳村中九路
变更后权利人:523000 广东省东莞市石排镇庙边王石岗路22号
暂无数据

权利要求

权利要求数量(10

独立权利要求数量(2

1.一种模块容置装置,其特征在于,包括外壳主体、导光件和安装板;

所述外壳主体用于容置通信模块,所述安装板位于所述外壳主体的外侧,并与所述外壳主体相连接;

所述安装板上开设有插接孔,所述导光件上设置有弹性插头,所述弹性插头能够插入所述插接孔中,且所述弹性插头能够与插接孔壁卡合连接。

2.根据权利要求1所述的模块容置装置,其特征在于,所述安装板包括贴合部和凸起部,所述凸起部嵌设在所述贴合部上,所述贴合部与所述外壳主体贴合;

所述凸起部与所述外壳主体之间围设成容置腔,所述凸起部开设有所述插接孔,所述弹性插头能够从所述插接孔插入所述容置腔。

3.根据权利要求2所述的模块容置装置,其特征在于,所述弹性插头上开设有卡接环槽,所述卡接环槽能够与所述插接孔壁卡合连接。

4.根据权利要求3所述的模块容置装置,其特征在于,所述弹性插头包括多个插接分瓣,多个所述插接分瓣之间具有间隙,在所述弹性插头插入所述插接孔时,多个所述插接分瓣之间的间隙大小能够改变。

5.根据权利要求1所述的模块容置装置,其特征在于,所述弹性插头的数量为多个,所述插接孔与所述弹性插头对应设置。

6.根据权利要求1所述的模块容置装置,其特征在于,所述安装板的两侧设置有连接侧板,所述连接侧板上开设有卡接窗,所述外壳主体的侧板上设置有卡接凸起,所述卡接凸起能够与所述卡接窗卡合连接。

7.根据权利要求1所述的模块容置装置,其特征在于,所述外壳主体上开设有第一散热孔,所述安装板上开设有第二散热孔,所述第一散热孔和所述第二散热孔对应设置。

8.根据权利要求7所述的模块容置装置,其特征在于,所述第一散热孔的数量为多个,所述第二散热孔的数量为多个;所述第一散热孔的数量大于或等于所述第二散热孔的数量。

9.一种模块连接器,其特征在于,包括权利要求1至8中任一项所述的模块容置装置。

10.根据权利要求9所述的模块连接器,其特征在于,还包括电路板,所述模块容置装置与所述电路板的顶面相连接。

1.一种模块容置装置,其特征在于,包括外壳主体、导光件和安装板;

所述外壳主体用于容置通信模块,所述安装板位于所述外壳主体的外侧,并与所述外壳主体相连接;

所述安装板上开设有插接孔,所述导光件上设置有弹性插头,所述弹性插头能够插入所述插接孔中,且所述弹性插头能够与插接孔壁卡合连接。

2.根据权利要求1所述的模块容置装置,其特征在于,所述安装板包括贴合部和凸起部,所述凸起部嵌设在所述贴合部上,所述贴合部与所述外壳主体贴合;

所述凸起部与所述外壳主体之间围设成容置腔,所述凸起部开设有所述插接孔,所述弹性插头能够从所述插接孔插入所述容置腔。

3.根据权利要求2所述的模块容置装置,其特征在于,所述弹性插头上开设有卡接环槽,所述卡接环槽能够与所述插接孔壁卡合连接。

4.根据权利要求3所述的模块容置装置,其特征在于,所述弹性插头包括多个插接分瓣,多个所述插接分瓣之间具有间隙,在所述弹性插头插入所述插接孔时,多个所述插接分瓣之间的间隙大小能够改变。

5.根据权利要求1所述的模块容置装置,其特征在于,所述弹性插头的数量为多个,所述插接孔与所述弹性插头对应设置。

6.根据权利要求1所述的模块容置装置,其特征在于,所述安装板的两侧设置有连接侧板,所述连接侧板上开设有卡接窗,所述外壳主体的侧板上设置有卡接凸起,所述卡接凸起能够与所述卡接窗卡合连接。

7.根据权利要求1所述的模块容置装置,其特征在于,所述外壳主体上开设有第一散热孔,所述安装板上开设有第二散热孔,所述第一散热孔和所述第二散热孔对应设置。

8.根据权利要求7所述的模块容置装置,其特征在于,所述第一散热孔的数量为多个,所述第二散热孔的数量为多个;所述第一散热孔的数量大于或等于所述第二散热孔的数量。

9.一种模块连接器,其特征在于,包括权利要求1至8中任一项所述的模块容置装置。

10.根据权利要求9所述的模块连接器,其特征在于,还包括电路板,所述模块容置装置与所述电路板的顶面相连接。

说明书

本申请涉及通信连接装置技术领域,尤其是涉及一种模块容置装置及模块连接器。

在现有的光模块类电连接器中,由于产品结构的局限性,导光件的固持效果较差,从而导致导光件装配后晃动,进而影响机构的导光性能。

本申请的目的在于提供一种模块容置装置及模块连接器,用以将导光件紧固,提升导光件装配的稳定性。

本申请提供了一种模块容置装置,包括外壳主体、导光件和安装板;

所述外壳主体用于容置通信模块,所述安装板位于所述外壳主体的外侧,并与所述外壳主体相连接;

所述安装板上开设有插接孔,所述导光件上设置有弹性插头,所述弹性插头能够插入所述插接孔中,且所述弹性插头能够与插接孔壁卡合连接。

在上述技术方案中,进一步地,所述安装板包括贴合部和凸起部,所述凸起部嵌设在所述贴合部上,所述贴合部与所述外壳主体贴合;

所述凸起部与所述外壳主体之间围设成容置腔,所述凸起部开设有所述插接孔,所述弹性插头能够从所述插接孔插入所述容置腔。

在上述技术方案中,进一步地,所述弹性插头上开设有卡接环槽,所述卡接环槽能够与所述插接孔壁卡合连接。

在上述技术方案中,进一步地,所述弹性插头包括多个插接分瓣,多个所述插接分瓣之间具有间隙,在所述弹性插头插入所述插接孔时,多个所述插接分瓣之间的间隙大小能够改变。

在上述技术方案中,进一步地,所述弹性插头的数量为多个,所述插接孔与所述弹性插头对应设置。

在上述技术方案中,进一步地,所述安装板的两侧设置有连接侧板,所述连接侧板上开设有卡接窗,所述外壳主体的侧板上设置有卡接凸起,所述卡接凸起能够与所述卡接窗卡合连接。

在上述技术方案中,进一步地,所述外壳主体上开设有第一散热孔,所述安装板上开设有第二散热孔,所述第一散热孔和所述第二散热孔对应设置。

在上述技术方案中,进一步地,所述第一散热孔的数量为多个,所述第二散热孔的数量为多个;所述第一散热孔的数量大于或等于所述第二散热孔的数量。

本申请还提供了一种模块连接器,包括上述方案所述的模块容置装置。

在上述技术方案中,进一步地,还包括电路板,所述模块容置装置与所述电路板的顶面相连接。

与现有技术相比,本申请的有益效果为:

本申请提供的模块容置装置,包括外壳主体、导光件和安装板;外壳主体用于容置通信模块,安装板位于外壳主体的外侧,并与外壳主体相连接;安装板上开设有插接孔,导光件上设置有弹性插头,弹性插头能够插入插接孔中,且弹性插头能够与插接孔壁卡合连接。

具体来说,模块容置装置包括外壳主体、导光件和安装板,其中,通信模块能够从开口处插入外壳主体的内部,外壳主体用于容置并固定通信模块,在光纤网络连接器设备中,外壳主体起屏蔽及保护的作用。导光件通过安装板与外壳主体相连接,可防止直接在外壳主体上开孔造成外壳主体的强度下降,从而造成在将外壳主体压接在电路板上时产生形变的问题。安装板位于外壳主体的外侧,一般来说安装板设置于外壳主体的顶部,也可以根据实际需求设置在外壳主体的其他位置,安装板与外壳主体相连接,连接方式不限于卡接,螺栓连接或者粘贴连接等形式,连接位置可根据实际情况选取。安装板上开设有插接孔,导光件的底部设置有弹性插头,具体地,弹性插头可设置在导光件底部的中部位置,导光件和安装板之间通过卡接固定的方式相连接,固定效果好,且连接处位于导光件的底部,并能有效提升导光件的光源透光性。需要说明的是,弹性插头可以由导光材料制成,一般来说导光材料为PC(Polycarbonate,聚碳酸酯)或者PMMA(polymethyl methacrylate,聚甲基丙烯酸甲酯)等,需将导光材料可设置成弹性结构,例如能够改变彼此距离的多个弹性卡爪的结构,或者弹性插头可以由弹性材料制成。在导光件和安装板卡接固定后,再将二者安装在外壳主体上。整个装置在应用、安装及拆卸等方面,操作都更加简便快捷。

本申请提供的模块容置装置,通过在外壳主体上设置安装板,并将导光件底部的弹性插头插接在安装板上,利用弹性压紧力将导光件紧固,提升了导光件装配的稳定性。

本申请还提供了模块连接器,包括上述方案所述的模块容置装置。基于上述分析可知,通过在外壳主体上设置安装板,并将导光件底部的弹性插头插接在安装板上,利用弹性压紧力将导光件紧固,提升了导光件装配的稳定性。

为了更清楚地说明本申请具体实施方式或现有技术中的技术方案,下面将对具体实施方式或现有技术描述中所需要使用的附图作简单地介绍,显而易见地,下面描述中的附图是本申请的一些实施方式,对于本领域普通技术人员来讲,在不付出创造性劳动的前提下,还可以根据这些附图获得其他的附图。

图1为本申请实施例一提供的模块容置装置的结构示意图;

图2为本申请实施例一提供的模块容置装置的爆炸示意图;

图3为本申请实施例一提供的弹性插头和安装板的第一装配示意图;

图4为本申请实施例一提供的弹性插头和安装板的第二装配示意图;

图5为本申请实施例二提供的模块容置装置的爆炸示意图;

图6为本申请实施例三提供的模块连接器的爆炸示意图。

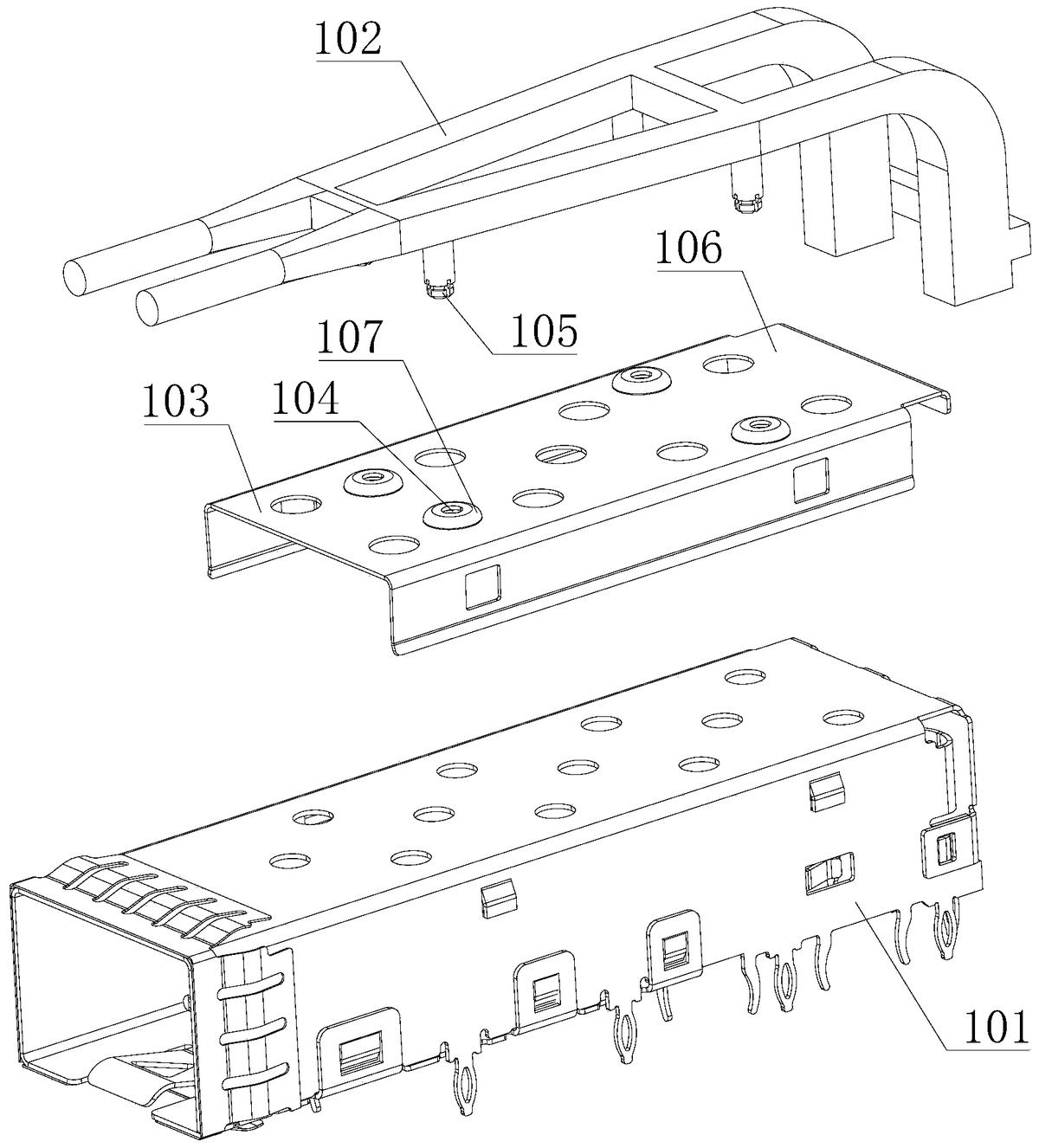
图中:101-外壳主体;102-导光件;103-安装板;104-插接孔;105-弹性插头;106-贴合部;107-凸起部;108-容置腔;109-卡接环槽;110-插接分瓣;111-间隙;112-连接侧板;113-卡接窗;114-卡接凸起;115-第一散热孔;116-第二散热孔;117-电路板。

下面将结合附图对本申请的技术方案进行清楚、完整地描述,显然,所描述的实施例是本申请一部分实施例,而不是全部的实施例。基于本申请中的实施例,本领域普通技术人员在没有做出创造性劳动前提下所获得的所有其他实施例,都属于本申请保护的范围。

在本申请的描述中,需要说明的是,术语“中心”、“上”、“下”、“左”、“右”、“竖直”、“水平”、“内”、“外”等指示的方位或位置关系为基于附图所示的方位或位置关系,仅是为了便于描述本申请和简化描述,而不是指示或暗示所指的装置或元件必须具有特定的方位、以特定的方位构造和操作,因此不能理解为对本申请的限制。此外,术语“第一”、“第二”、“第三”仅用于描述目的,而不能理解为指示或暗示相对重要性。

在本申请的描述中,需要说明的是,除非另有明确的规定和限定,术语“安装”、“相连”、“连接”应做广义理解,例如,可以是固定连接,也可以是可拆卸连接,或一体地连接;可以是机械连接,也可以是电连接;可以是直接相连,也可以通过中间媒介间接相连,可以是两个元件内部的连通。对于本领域的普通技术人员而言,可以具体情况理解上述术语在本申请中的具体含义。

实施例一

参见图1至图4所示,本申请提供的模块容置装置,包括外壳主体101、导光件102和安装板103;外壳主体101用于容置通信模块,安装板103位于外壳主体101的外侧,并与外壳主体101相连接;安装板103上开设有插接孔104,导光件102上设置有弹性插头105,弹性插头105能够插入插接孔104中,且弹性插头105能够与插接孔壁卡合连接。

具体来说,模块容置装置包括外壳主体101、导光件102和安装板103,其中,通信模块能够从开口处插入外壳主体101的内部,外壳主体101用于容置并固定通信模块,在光纤网络连接器设备中外壳主体101起屏蔽及保护的作用。导光件102通过安装板103与外壳主体101相连接,可防止直接在外壳主体101上开孔造成外壳主体101的强度下降,从而造成在将外壳主体101压接在电路板117上时产生形变的问题。安装板103位于外壳主体101的外侧,一般来说安装板103设置于外壳主体101的顶部,也可以根据实际需求设置在外壳主体101的其他位置,安装板103与外壳主体101相连接,连接方式不限于卡接,螺栓连接或者粘贴连接等形式,连接位置可根据实际情况选取。安装板103上开设有插接孔104,导光件102的底部设置有弹性插头105,具体地,弹性插头105可设置在导光件102底部的中部位置,导光件102和安装板103之间通过卡接固定的方式相连接,固定效果好;且连接处位于导光件102的底部,并能有效提升导光件102的光源透光性。需要说明的是,弹性插头105可以由导光材料制成,一般来说导光材料为PC(Polycarbonate,聚碳酸酯)或者PMMA(polymethylmethacrylate,聚甲基丙烯酸甲酯)等,需将导光材料可设置成弹性结构,例如能够改变彼此距离的多个弹性卡爪的结构,或者弹性插头105可以由弹性材料制成。在导光件102和安装板103卡接固定后,再将二者安装在外壳主体101上。整个装置在应用、安装及拆卸等方面,操作都更加简便快捷。

本申请提供的模块容置装置,通过在外壳主体101上设置安装板103,并将导光件102底部的弹性插头105插接在安装板103上,利用弹性压紧力将导光件102紧固,提升了导光件102装配的稳定性。

该实施例可选的方案中,安装板103包括贴合部106和凸起部107,凸起部107嵌设在贴合部106上,贴合部106与外壳主体101贴合;凸起部107与外壳主体101之间围设成容置腔108,凸起部107开设有插接孔104,弹性插头105能够从插接孔104插入容置腔108。

在该实施例中,安装板103包括贴合部106和凸起部107,具体地,安装板103位于外壳主体101的顶部时,贴合部106与外壳主体101的顶板贴合,保证安装板103与外壳主体101连接结构紧凑、固定效果好;在凸起部107开设插接孔104,以使弹性插头105能够从插接孔104插入容置腔108中,保证弹性插头105与安装板103连接牢固。凸起部107可通过引伸冲压工艺制造而成,不但能提高产品效率,更能提升性能。

该实施例可选的方案中,弹性插头105上开设有卡接环槽109,卡接环槽109能够与插接孔壁卡合连接。

在该实施例中,弹性插头105上开设有卡接环槽109,在弹性插头105插入插接孔104时,卡接环槽109能够与插接孔壁卡合连接,卡接环槽109的槽壁与安装板103的凸起部107的两侧板面抵接,防止弹性插头105从插接孔104中脱离。

该实施例可选的方案中,弹性插头105包括多个插接分瓣110,多个插接分瓣110之间具有间隙111,在弹性插头105插入插接孔104时,多个插接分瓣110之间的间隙111大小能够改变。

在该实施例中,弹性插头105可由导光材料制成,用来提升导光件102光源透光性,弹性插头105可以与导光件102一体成型制作。弹性插头105包括间隔设置的多个插接分瓣110,在弹性插头105插入插接孔104时,多个插接分瓣110之间被挤压以使间隙111减小,以使弹性插头105能够插入插接孔104中,在卡接环槽109插接到位时,多个插接分瓣110形态可恢复原状。

该实施例可选的方案中,弹性插头105的数量为多个,插接孔104与弹性插头105对应设置。

在该实施例中,设置多个弹性插头105以及插接孔104,以使导光件102的固定效果更好。可选地,导光件102包括导光管和支撑柱,支撑柱的两端分别与导光管和弹性插头105连接,支撑柱用于将导光管提升设定的高度。

实施例二

该实施例二中的模块容置装置是在上述实施例基础上的改进,上述实施例中公开的技术内容不重复描述,上述实施例中公开的内容也属于该实施例二公开的内容。

参见图5所示,该实施例可选的方案中,安装板103的两侧设置有连接侧板112,连接侧板112上开设有卡接窗113,外壳主体101的侧板上设置有卡接凸起114,卡接凸起114能够与卡接窗113卡合连接。

在该实施例中,安装板103与外壳主体101通过卡接的连接方式,便于装置的安装和拆卸;且将安装板103与外壳主体101的连接处设置于侧边,在进行拆装操作时,不会受到位于顶部的导光件102的影响,拆卸更加方便快捷。

该实施例可选的方案中,外壳主体101上开设有第一散热孔115,安装板103上开设有第二散热孔116,第一散热孔115和第二散热孔116对应设置,以使热量能够依次通过第一散热孔115和第二散热孔116快速散发,散热效果好。

该实施例可选的方案中,第一散热孔115的数量为多个,第二散热孔116的数量为多个;第一散热孔115的数量大于或等于第二散热孔116的数量。

在该实施例中,设置多个第一散热孔115和多个第二散热孔116,进一步提升散热效果。安装板103的大小需要根据对导光件102的固定位置选择,一般来说,安装板103的尺寸小于或等于外壳主体101的顶板的尺寸,所以,第一散热孔115的数量大于或等于第二散热孔116的数量。多个第一散热孔115可阵列排布,多个第二散热孔116可阵列排布。

实施例三

本申请实施例三提供了一种模块连接器,包括上述任一实施例的模块容置装置,因而,具有上述任一实施例的模块容置装置的全部有益技术效果,在此,不再赘述。

参见图6所示,该实施例可选的方案中,还包括电路板117,模块容置装置与电路板117的顶面相连接。

在该实施例中,在使用过程中,首先将导光件102与安装板103之间固定,再把外壳主体101压接到电路板117上将二者固定,最后将导光件102与安装板103固定在外壳主体101上。

最后应说明的是:以上各实施例仅用以说明本申请的技术方案,而非对其限制;尽管参照前述各实施例对本申请进行了详细的说明,本领域的普通技术人员应当理解:其依然可以对前述各实施例所记载的技术方案进行修改,或者对其中部分或者全部技术特征进行等同替换;而这些修改或者替换,并不使相应技术方案的本质脱离本申请各实施例技术方案的范围。此外,本领域的技术人员能够理解,尽管在此的一些实施例包括其它实施例中所包括的某些特征而不是其它特征,但是不同实施例的特征的组合意味着处于本申请的范围之内并且形成不同的实施例。

价值度评估

技术价值

经济价值

法律价值

0 0 0

60.0

0 50 75 100
0~50 50~75 75~100 价值较低 中等价值 价值较高

专利价值度是通过科学的评估模

型对专利价值进行量化的结果,

基于专利大数据针对专利总体特

征指标利用计算机自动化技术对

待评估专利进行高效、智能化的

分析,从技术、经济和法律价值

三个层面构建专利价值评估体

系,可以有效提升专利价值评估

的质量和效率。

总评:60.0


该专利价值中等 (仅供参考)

        该专利的技术、经济、法律价值经系统自动评估后的总评得分处于平均水平,可以重点研究利用其技术价值,根据法律价值的评估结果选择合适的使用借鉴方式。
        本专利文献中包含【3 个实施例】、【5 个技术分类】,从一定程度上而言上述指标的数值越大可以反映出所述专利的技术保护及应用范围越广。 【专利权的维持时间5 年】专利权的维持时间越长,其价值对于权利人而言越高。 尤其重要是,该专利 【权利转移1 次】、 都从侧面反应出该专利的技术、经济和法律价值。

技术价值    31.0

该指标主要从专利申请的著录信息、法律事件等内容中挖掘其技术价值,专利类型、独立权利要求数量、无效请求次数等内容均可反映出专利的技术性价值。 技术创新是专利申请的核心,若您需要进行技术借鉴或寻找可合作的项目,推荐您重点关注该指标。

部分指标包括:

授权周期(发明)

5 个月

独立权利要求数量

2 个

从属权利要求数量

8 个

说明书页数

5 页

实施例个数

3 个

发明人数量

1 个

被引用次数

0 次

引用文献数量

0 个

优先权个数

0 个

技术分类数量

5 个

无效请求次数

0 个

分案子案个数

0 个

同族专利数

0 个

专利获奖情况

保密专利的解密

经济价值    10.0

该指标主要指示了专利技术在商品化、产业化及市场化过程中可能带来的预期利益。 专利技术只有转化成生产力才能体现其经济价值,专利技术的许可、转让、质押次数等指标均是其经济价值的表征。 因此,若您希望找到行业内的运用广泛的热点专利技术及侵权诉讼中的涉案专利,推荐您重点关注该指标。

部分指标包括:

申请人数量

1

申请人类型

企业

许可备案

0 次

权利质押

0 次

权利转移

1 个

海关备案

法律价值    19.0

该指标主要从专利权的稳定性角度评议其价值。专利权是一种垄断权,但其在法律保护的期间和范围内才有效。 专利权的存续时间、当前的法律状态可反映出其法律价值。故而,若您准备找寻权属稳定且专利权人非常重视的专利技术,推荐您关注该指标。

部分指标包括:

存活期/维持时间

5

法律状态

无权-未缴年费