【中国实用新型】一种DC电源端子组及大电流电连接器

无权-未缴年费 中国

授权公告日/公开日:
2019.10.11
专利有效期:
2019.03.25-2029.03.25
技术分类:
H01:基本电气元件
转化方式:
转让
价值度指数:
63.0分
价格:
¥10705.00
957 0

发布人

东莞铭同精密电子有限公司

联系人赖颖珊

+8613559778745
453560128@qq.com
广东省东莞市石排镇
  • 专利信息&法律状态
  • 专利自评
  • 专利技术文档
  • 价值度指数
  • 发明人阵容

著录项

申请号
CN201920382679.3
申请日
20190325
公开/公告号
CN209487780U
公开/公告日
20191011
申请/专利权人
[东莞铭普光磁股份有限公司]
发明/设计人
[李志深, 张凯]
主分类号
H01R13/18
IPC分类号
C12N 9/0008(2013.01) C12N 9/16
CPC分类号
C12N 9/0008(2013.01) C12N 9/16(2013.01)
分案申请地址
国省代码
广东(44)
颁证日
G06T1/00
代理人
[张春水, 唐京桥]

摘要

本实用新型涉及连接器技术领域,公开了一种DC电源端子组及大电流电连接器。其中的DC电源端子组,包括由铜板冲压而成且呈上下排布形成有插槽的上导电端子和下导电端子,还包括上弹性端子和/或下弹性端子;上弹性端子层叠设置于上导电端子的上表面,下弹性端子层叠设置于下导电端子的下表面,上、下弹性端子由其弹性系数、降服系数以及抗拉强度均高于铜的金属材料冲压而成。大电流电连接器包括绝缘胶体、信号端子组以及至少两个上述DC电源端子组;信号端子组和DC电源端子组分别容置于绝缘胶体中。本实用新型通过对DC电源端子组增加弹性支撑的方式,在解决大电流传输过程中温升问题的同时,又提高了连接器使用过程中电气性能的可靠性。

法律状态

法律状态公告日 20240402
法律状态 专利权的终止
法律状态信息 未缴年费专利权终止
IPC(主分类):H01R 13/18
专利号:ZL2019203826793
申请日:20190325
授权公告日:20191011
终止日期:
法律状态公告日 20200918
法律状态 专利申请权、专利权的转移
法律状态信息 专利权的转移
IPC(主分类):H01R 13/18
专利号:ZL2019203826793
登记生效日:20200828
变更事项:专利权人
变更前权利人:东莞铭普光磁股份有限公司
变更后权利人:东莞铭同精密电子有限公司
变更事项:地址
变更前权利人:523343 广东省东莞市石排镇庙边王沙迳村中九路
变更后权利人:523000 广东省东莞市石排镇庙边王石岗路22号
法律状态公告日 20191011
法律状态 授权
法律状态信息 授权
事务数据公告日 20200918
事务数据类型 专利申请权、专利权的转移
转让详情 专利权的转移
IPC(主分类):H01R 13/18
专利号:ZL2019203826793
登记生效日:20200828
变更事项:专利权人
变更前权利人:东莞铭普光磁股份有限公司
变更后权利人:东莞铭同精密电子有限公司
变更事项:地址
变更前权利人:523343 广东省东莞市石排镇庙边王沙迳村中九路
变更后权利人:523000 广东省东莞市石排镇庙边王石岗路22号
暂无数据

权利要求

权利要求数量(10

独立权利要求数量(2

1.一种DC电源端子组,包括由铜板冲压而成且呈上下排布形成有插槽的上导电端子和下导电端子;所述上导电端子,包括依次相互连接的第一上接触部、第一上固持部和第一上接线部;所述下导电端子,包括依次相互连接的第一下接触部、第一下固持部和第一下接线部;其特征在于,所述DC电源端子组还包括上弹性端子和/或下弹性端子;

所述上弹性端子层叠设置于所述上导电端子的上表面,所述下弹性端子层叠设置于所述下导电端子的下表面,所述上弹性端子和下弹性端子由其弹性系数、降服系数以及抗拉强度均高于铜的金属材料冲压而成。

2.根据权利要求1所述的DC电源端子组,其特征在于,所述上弹性端子和下弹性端子由不锈钢板冲压而成。

3.根据权利要求1所述的DC电源端子组,其特征在于,所述上弹性端子包括相互连接的第二上接触部和第二上固持部,所述第二上接触部的数量与所述第一上接触部的数量相同;在层叠设置时,每个所述第二上接触部与相对应的所述第一上接触部上下叠合;

所述下弹性端子包括相互连接的第二下接触部和第二下固持部,第二下接触部的数量与所述第一下接触部的数量相同;在层叠设置时,每个所述第一下接触部与相对应的所述第二下接触部上下叠合。

4.根据权利要求3所述的DC电源端子组,其特征在于,所述第二上固持部的两侧,分别竖直向下折弯后延伸形成有第一定位部;所述第二下固持部的两侧,分别竖直向上折弯后延伸形成有第二定位部;所述第一定位部和第二定位部上分别设有相匹配的扣位或凸台;

所述第一上固持部以及第一下固持部上均开设有通孔,分别供所述第一定位部和第二定位部穿过;

所述第一下固持部的一侧,竖直向上折弯后延伸形成有支撑部;

在所述上弹性端子、上导电端子、下导电端子和下弹性端子依次叠放时,所述支撑部对上导电端子进行支撑以形成所述插槽;同时,所述第一定位部在穿过上导电端子后,与穿过下导电端子的第二定位部相扣合,以将所述上弹性端子、上导电端子、下导电端子和下弹性端子相互固持于一体。

5.根据权利要求1所述的DC电源端子组,其特征在于,所述第一上接线部呈片状结构,由所述第一上固持部的尾端竖直向上折弯后延伸形成;所述第一下接线部呈片状结构,由所述第一下固持部的尾端竖直向上折弯后延伸形成,与所述第一上接线部相叠合;所述第一上接线部和第一下接线部的表面垂直于所述插槽的插接方向。

6.根据权利要求5所述的DC电源端子组,其特征在于,所述上接线部上开设有第一上线缆连接孔,所述第一下接线部上开设有第一下线缆连接孔;所述第一上线缆连接孔与第一下线缆连接孔重合,且配置有涨铆螺母。

7.一种大电流电连接器,其特征在于,所述大电流电连接器包括:形成有多个容置槽的绝缘胶体,信号端子组,以及至少两个如权利要求1至6任一所述的DC电源端子组;所述信号端子组和DC电源端子组分别容置于所述绝缘胶体中。

8.根据权利要求7所述的大电流电连接器,其特征在于,所述大电流电连接器还包括至少一个AC电源端子组,容置于所述绝缘胶体中。

9.根据权利要求8所述的大电流电连接器,其特征在于,所述AC电源端子组,包括由铜制成且呈上下排布的上排端子和下排端子;

所述上排端子,包括依次相互连接的第三上接触部、第三上固持部、第三上接线部;所述第三上接触部的数量为多个,呈水平间隔排列,由第三上固持部的头端向前延伸形成;所述第三上接线部,由第三上固持部的尾端多次折弯后延伸形成;

所述下排端子,包括依次相互连接的第三下接触部、第三下固持部、第三下接线部;所述第三下接触部的数量为多个,呈水平间隔排列,由第三下固持部的头端向前延伸形成;所述第三下接线部,由第三下固持部的尾端多次折弯后延伸形成,与所述第三上接线部相叠合。

10.根据权利要求7所述的大电流电连接器,其特征在于,所述大电流电连接器还包括用以扩展信号端子数量的PCBA,与所述信号端子组的尾端连接。

1.一种DC电源端子组,包括由铜板冲压而成且呈上下排布形成有插槽的上导电端子和下导电端子;所述上导电端子,包括依次相互连接的第一上接触部、第一上固持部和第一上接线部;所述下导电端子,包括依次相互连接的第一下接触部、第一下固持部和第一下接线部;其特征在于,所述DC电源端子组还包括上弹性端子和/或下弹性端子;

所述上弹性端子层叠设置于所述上导电端子的上表面,所述下弹性端子层叠设置于所述下导电端子的下表面,所述上弹性端子和下弹性端子由其弹性系数、降服系数以及抗拉强度均高于铜的金属材料冲压而成。

2.根据权利要求1所述的DC电源端子组,其特征在于,所述上弹性端子和下弹性端子由不锈钢板冲压而成。

3.根据权利要求1所述的DC电源端子组,其特征在于,所述上弹性端子包括相互连接的第二上接触部和第二上固持部,所述第二上接触部的数量与所述第一上接触部的数量相同;在层叠设置时,每个所述第二上接触部与相对应的所述第一上接触部上下叠合;

所述下弹性端子包括相互连接的第二下接触部和第二下固持部,第二下接触部的数量与所述第一下接触部的数量相同;在层叠设置时,每个所述第一下接触部与相对应的所述第二下接触部上下叠合。

4.根据权利要求3所述的DC电源端子组,其特征在于,所述第二上固持部的两侧,分别竖直向下折弯后延伸形成有第一定位部;所述第二下固持部的两侧,分别竖直向上折弯后延伸形成有第二定位部;所述第一定位部和第二定位部上分别设有相匹配的扣位或凸台;

所述第一上固持部以及第一下固持部上均开设有通孔,分别供所述第一定位部和第二定位部穿过;

所述第一下固持部的一侧,竖直向上折弯后延伸形成有支撑部;

在所述上弹性端子、上导电端子、下导电端子和下弹性端子依次叠放时,所述支撑部对上导电端子进行支撑以形成所述插槽;同时,所述第一定位部在穿过上导电端子后,与穿过下导电端子的第二定位部相扣合,以将所述上弹性端子、上导电端子、下导电端子和下弹性端子相互固持于一体。

5.根据权利要求1所述的DC电源端子组,其特征在于,所述第一上接线部呈片状结构,由所述第一上固持部的尾端竖直向上折弯后延伸形成;所述第一下接线部呈片状结构,由所述第一下固持部的尾端竖直向上折弯后延伸形成,与所述第一上接线部相叠合;所述第一上接线部和第一下接线部的表面垂直于所述插槽的插接方向。

6.根据权利要求5所述的DC电源端子组,其特征在于,所述上接线部上开设有第一上线缆连接孔,所述第一下接线部上开设有第一下线缆连接孔;所述第一上线缆连接孔与第一下线缆连接孔重合,且配置有涨铆螺母。

7.一种大电流电连接器,其特征在于,所述大电流电连接器包括:形成有多个容置槽的绝缘胶体,信号端子组,以及至少两个如权利要求1至6任一所述的DC电源端子组;所述信号端子组和DC电源端子组分别容置于所述绝缘胶体中。

8.根据权利要求7所述的大电流电连接器,其特征在于,所述大电流电连接器还包括至少一个AC电源端子组,容置于所述绝缘胶体中。

9.根据权利要求8所述的大电流电连接器,其特征在于,所述AC电源端子组,包括由铜制成且呈上下排布的上排端子和下排端子;

所述上排端子,包括依次相互连接的第三上接触部、第三上固持部、第三上接线部;所述第三上接触部的数量为多个,呈水平间隔排列,由第三上固持部的头端向前延伸形成;所述第三上接线部,由第三上固持部的尾端多次折弯后延伸形成;

所述下排端子,包括依次相互连接的第三下接触部、第三下固持部、第三下接线部;所述第三下接触部的数量为多个,呈水平间隔排列,由第三下固持部的头端向前延伸形成;所述第三下接线部,由第三下固持部的尾端多次折弯后延伸形成,与所述第三上接线部相叠合。

10.根据权利要求7所述的大电流电连接器,其特征在于,所述大电流电连接器还包括用以扩展信号端子数量的PCBA,与所述信号端子组的尾端连接。

说明书

技术领域

本实用新型涉及电连接器技术领域,尤其涉及一种DC电源端子组及大电流电连接器。

背景技术

随着电连接器的不断发展,在一些需要传输大电流的大功率场合也开始用到电连接器来实现电气回路的接续及开断,由此促使了大电流电连接器的产生。大电流电连接器,在结构设计和材料使用方面具有国际先进性,使得其电气性能方面表现突出,是传统连接方式无法达到的。因此,大电流电连接器,现在已广泛应用于电动汽车、电动叉车、UPS、通用电源、医疗设备、太阳能及新能源、数据中心、服务器等领域。

在设计电气接触时,温度需作为一个重要的可变因素加以考虑。主要因为高温导致应力松驰,从而减少接触力。接触力减少会造成更高的接触电阻,这样就削弱了电气信号,并可能最终导致短路。因此,在长时间大电流的工况下,大电流电连接器的发热量会比较大,而因受限于结构空间,通常会采用具有高导电率的铜材来制作大电流电连接器的端子,以解决连接器在大电流传输过程中的温升问题。但是,与此同时,却引发了连接器可靠性变差的困境。这是由于,铜的弹性较差,在反复多次插拔后容易出现接触不良的情况。因此,如何兼顾连接器在大电流传输过程中的温升问题和电气性能的可靠性问题,目前亟需有效的解决方案。

发明内容

本实用新型的目的在于提供一种DC电源端子组及大电流电连接器,在解决连接器使用过程中的温升问题的同时有效提高其电气性能的的可靠性。

为达此目的,本实用新型采用以下技术方案:

一种DC电源端子组,包括由铜板冲压而成且呈上下排布形成有插槽的上导电端子和下导电端子;所述上导电端子,包括依次相互连接的第一上接触部、第一上固持部和第一上接线部;所述下导电端子,包括依次相互连接的第一下接触部、第一下固持部和第一下接线部;所述DC电源端子组还包括上弹性端子和/或下弹性端子;

所述上弹性端子层叠设置于所述上导电端子的上表面,所述下弹性端子层叠设置于所述下导电端子的下表面,所述上弹性端子和下弹性端子由其弹性系数、降服系数以及抗拉强度均高于铜的金属材料冲压而成。

可选的,所述上弹性端子和下弹性端子由不锈钢板冲压而成。

可选的,所述上弹性端子包括相互连接的第二上接触部和第二上固持部,所述第二上接触部的数量与所述第一上接触部的数量相同;在层叠设置时,每个所述第二上接触部与相对应的所述第一上接触部上下叠合;

所述下弹性端子包括相互连接的第二下接触部和第二下固持部,第二下接触部的数量与所述第一下接触部的数量相同;在层叠设置时,每个所述第一下接触部与相对应的所述第二下接触部上下叠合。

可选的,所述第二上固持部的两侧,分别竖直向下折弯后延伸形成有第一定位部;所述第二下固持部的两侧,分别竖直向上折弯后延伸形成有第二定位部;所述第一定位部和第二定位部上分别设有相匹配的扣位或凸台;

所述第一上固持部以及第一下固持部上均开设有通孔,分别供所述第一定位部和第二定位部穿过;

所述第一下固持部的一侧,竖直向上折弯后延伸形成有支撑部;

在所述上弹性端子、上导电端子、下导电端子和下弹性端子依次叠放时,所述支撑部对上导电端子进行支撑以形成所述插槽;同时,所述第一定位部在穿过上导电端子后,与穿过下导电端子的第二定位部相扣合,以将所述上弹性端子、上导电端子、下导电端子和下弹性端子相互固持于一体。

可选的,所述第一上接线部呈片状结构,由所述第一上固持部的尾端竖直向上折弯后延伸形成;所述第一下接线部呈片状结构,由所述第一下固持部的尾端竖直向上折弯后延伸形成,与所述第一上接线部相叠合;且所述第一上接线部和第一下接线部的表面垂直于所述插槽的插接方向。

可选的,所述上接线部上开设有第一上线缆连接孔,所述第一下接线部上开设有第一下线缆连接孔;所述第一上线缆连接孔与第一下线缆连接孔重合,且配置有涨铆螺母。

一种大电流电连接器,包括:形成有多个容置槽的绝缘胶体,信号端子组,以及至少两个如上任一所述的DC电源端子组;所述信号端子组和DC电源端子组分别容置于所述绝缘胶体中。

可选的,所述大电流电连接器还包括至少一个AC电源端子组,容置于所述绝缘胶体中。

可选的,所述AC电源端子组,包括由铜制成且呈上下排布的上排端子和下排端子。

所述上排端子,包括依次相互连接的第三上接触部、第三上固持部、第三上接线部;所述第三上接触部的数量为多个,呈水平间隔排列,由第三上固持部的头端向前延伸形成;所述第三上接线部,由第三上固持部的尾端多次折弯后延伸形成;

所述下排端子,包括依次相互连接的第三下接触部、第三下固持部、第三下接线部;所述第三下接触部的数量为多个,呈水平间隔排列,由第三下固持部的头端向前延伸形成;所述第三下接线部,由第三下固持部的尾端多次折弯后延伸形成,与所述第三上接线部相叠合。

可选的,所述大电流电连接器还包括用以扩展信号端子数量的PCBA,与所述信号端子组的尾端连接。

与现有技术相比,本实用新型的有益效果为:

本实用新型本实施例通过对DC电源端子组增加弹性支撑的方式,在解决大电流传输过程中温升问题的同时,又增强了插拔力量的稳定性,提高了连接器的电气性能的可靠性,延长了连接器的使用寿命。

附图说明

为了更清楚地说明本实用新型实施例或现有技术中的技术方案,下面将对实施例或现有技术描述中所需要使用的附图作简单地介绍,显而易见地,下面描述中的附图仅仅是本实用新型的一些实施例,对于本领域普通技术人员来讲,在不付出创造性劳动性的前提下,还可以根据这些附图获得其它的附图。

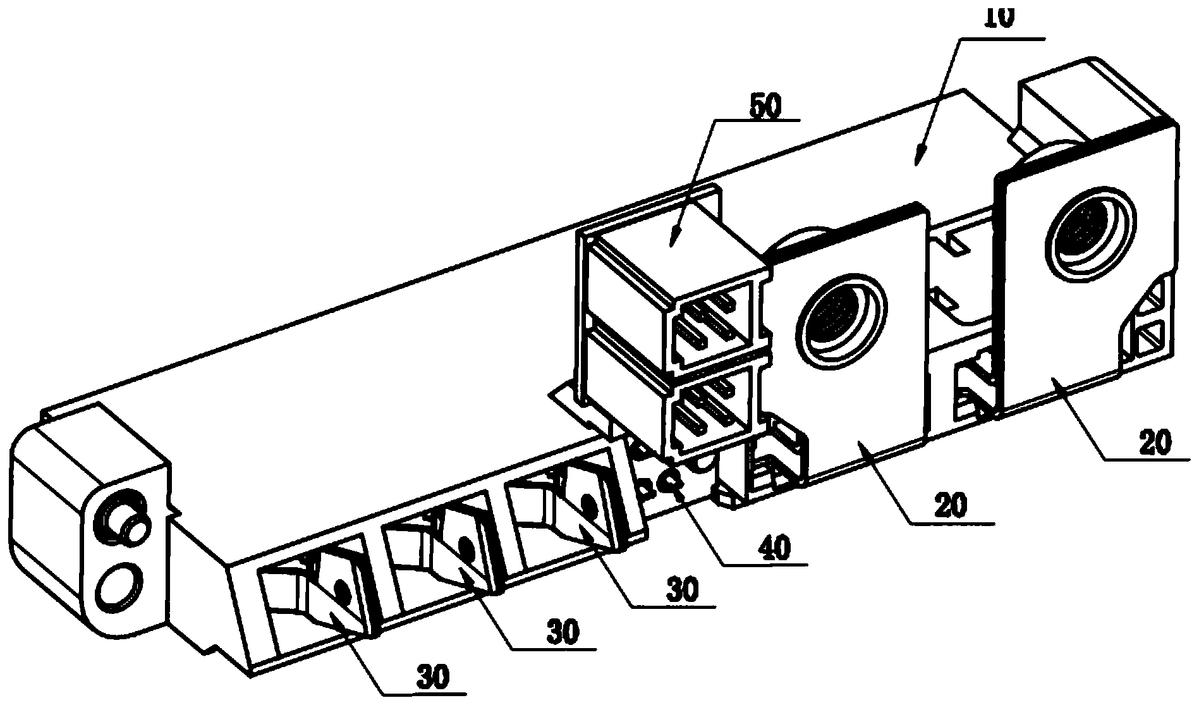
图1为本实用新型实施例提供的大电流电连接器的立体结构图;

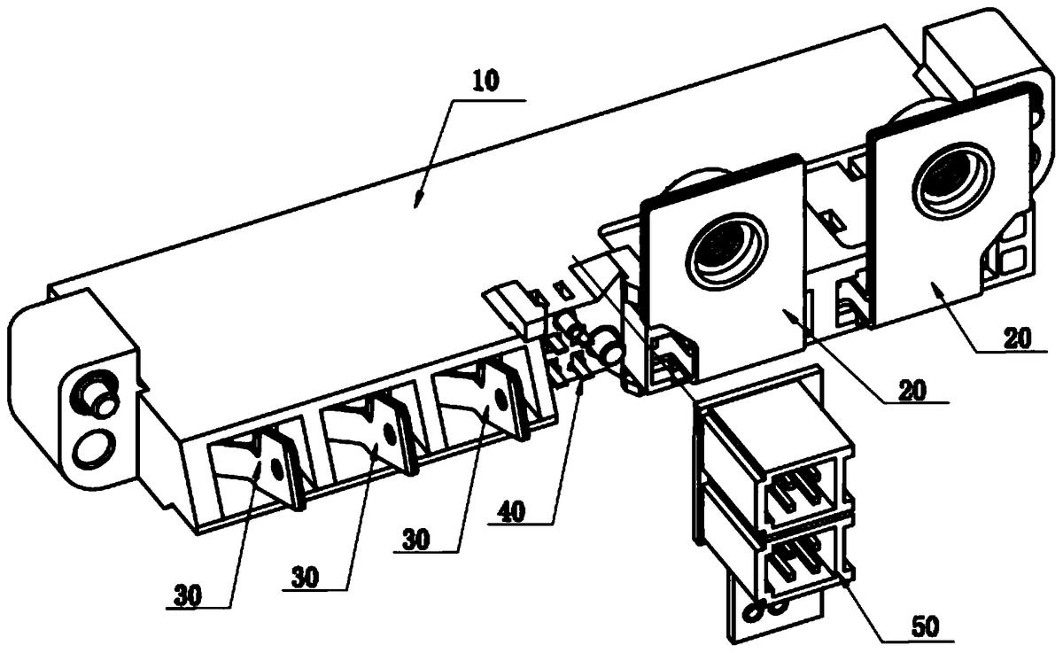
图2为本实用新型实施例提供的大电流电连接器的爆炸结构图;

图3为本实用新型实施例提供的DC电源端子组的立体结构图;

图4为本实用新型实施例提供的DC电源端子组的爆炸结构图;

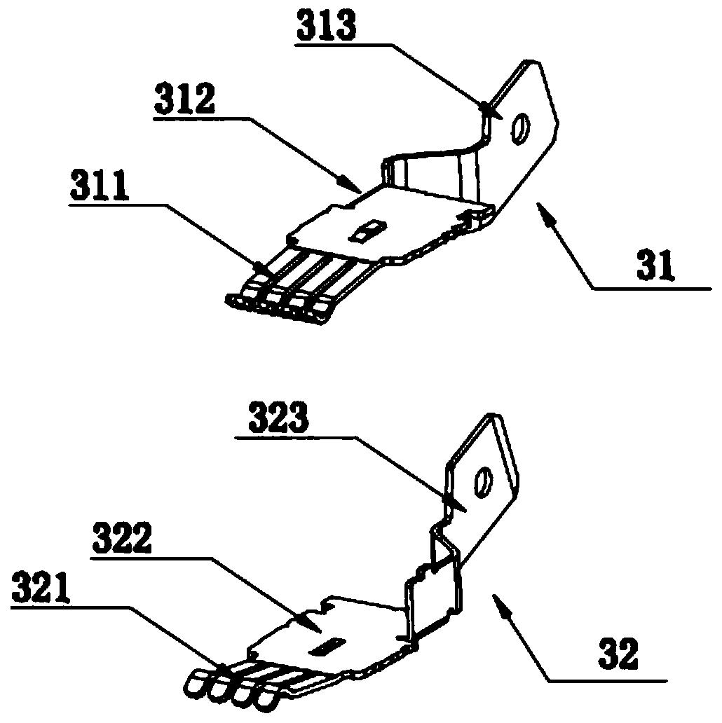
图5为本实用新型实施例提供的AC电源端子组的立体结构图;

图6为本实用新型实施例提供的AC电源端子组的爆炸结构图;

图7为本实用新型实施例提供的信号端子的立体结构图;

图8为本实用新型实施例提供的另一大电流电连接器的立体结构图;

图9为本实用新型实施例提供的另一大电流电连接器的爆炸结构图。

【主要元件符号说明】

绝缘胶体10,容置槽11,DC电源端子组20;

上导电端子21,第一上接触部211,第一上固持部212,第一上接线部213,第一上线缆连接孔214;

下导电端子22,第一下接触部221,第一下固持部222,第一下接线部223,第一下线缆连接孔224,支撑部225;

上弹性端子23,第二上接触部231,第二上固持部232,第一定位部233,扣位234;

下弹性端子24,第二下接触部241,第二下固持部242,第二定位部243,凸台244;

涨铆螺母25,AC电源端子组30,

上排端子31,第三上接触部311,第三上固持部312,第三上接线部313;

下排端子32,第三下接触部321,第三下固持部322,第三下接线部323;

信号端子组40,PCBA 50。

具体实施方式

为使得本实用新型的实用新型目的、特征、优点能够更加的明显和易懂,下面将结合本实用新型实施例中的附图,对本实用新型实施例中的技术方案进行清楚、完整地描述,显然,下面所描述的实施例仅仅是本实用新型一部分实施例,而非全部的实施例。基于本实用新型中的实施例,本领域普通技术人员在没有做出创造性劳动前提下所获得的所有其它实施例,都属于本实用新型保护的范围。

请参阅图1和图2,本实施例提出的大电流电连接器包括:绝缘胶体10,DC电源端子组20,AC电源端子组30,以及信号端子组40。

绝缘胶体10上形成有多个容置槽11,DC电源端子组20、AC电源端子组30和信号端子组40分别装设于各自匹配的容置槽11中。如图1所示,可将各个端子组按照DC电源端子组20、信号端子组40和AC电源端子组30的顺序依次分布,在其他实施例中也可采用其他排布方式,具体不限。

DC电源端子组20的数量为两组,分别用于连接DC电源的正极和负极。

如图3至图4所示,每组DC电源端子组20,包括呈上下排布的上导电端子21和下导电端子22,两者均采用具有高导电率的金属制成,例如铜,适用于大电流传输,能够良好解决连接器温升问题。

上导电端子21,包括依次相互连接的第一上接触部211、第一上固持部212和第一上接线部213。第一上固持部212呈片状结构,用于实现固定作用;第一上接触部211的数量为多个,呈水平间隔排列,由第一上固持部212的头端水平向前延伸形成;第一上接线部213,可以呈片状结构,由第一上固持部212的尾端竖直向上折弯后延伸形成,其表面开设有第一上线缆连接孔214。

下导电端子22,包括依次相互连接的第一下接触部221、第一下固持部222和第一下接线部223。第一下固持部222呈片状结构,用于实现固定作用;第一下接触部221的数量为多个,呈水平间隔排列,由第一下固持部222的头端水平向前延伸形成;第一下接线部223,可以呈片状结构,由第一下固持部222的尾端竖直向上折弯后延伸形成,其表面开设有第一下线缆连接孔224。

上导电端子21的第一上接触部211与下导电端子22的第一下接触部221之间形成插槽,供对接的端子插接;同时,上导电端子21的第一上接线部213与下导电端子22的第一下接线部223呈前后叠合,使得第一上线缆连接孔214与第一下线缆连接孔224重合,用于与对接的线缆连接。

为了便于操作,上导电端子21的第一上接线部213和下导电端子22的第一下接线部223均呈片状结构,且其表面与插接方向相垂直。另外,线缆连接孔还配有涨铆螺母25,这样使得接线操作更加简便。

由于铜材在具有高导电性能的同时也存在弹性较差的缺陷,在反复多次插拔后,上导电端子21/下导电端子22会无法回弹到位,从而出现与对接端子接触不良的现象。为此,本实施例在上导电端子21的上表面层叠设有上弹性端子23,在下导电端子22的下表面层叠设有下弹性端子24。

上弹性端子23和下弹性端子24,均由具有高弹性能的金属制成,该金属的弹性优于制成上导电端子21/下导电端子22的金属的弹性。通常,判断金属材料的弹性优劣,主要是根据金属材料的降服系数,弹性系数和抗拉强度三种参数。因此,可选的,本实施例中,制成导电端子的金属的导电率为80%IACS、弹性系数137Gpa、降服系数为410~570N/mm2、抗拉强度510~590N/mm2;弹性端子的金属的导电率为3%IACS、弹性系数为191.3Gpa、降服系数为745~1450N/mm2、抗拉强度为1130~1740N/mm2。具体的,上导电端子21/下导电端子22由铜板冲压而成,而上弹性端子23和下弹性端子24由不锈钢板冲压而成,用于分别为上导电端子21和下导电端子22提供弹性支撑。

在本实施例中,上弹性端子23包括相互连接的第二上接触部231和第二上固持部232,下弹性端子24包括相互连接的第二下接触部241和第二下固持部242。其中,第二上固持部232/第二下固持部242呈片状结构,用于实现固定作用;第二上接触部231/第二下接触部241的数量与上导电端子21/下导电端子22的接触部的数量相同,呈水平间隔排列,由第二上固持部232/第二下固持部242的头端水平向前延伸形成。在上弹性端子23与上导电端子21层叠设置时,第二上接触部231与第一上接触部211上下叠合;在下导电端子22与下弹性端子24层叠设置时,第一下接触部221与第二下接触部241上下叠合。

在进行插接操作时,上弹性端子23会发生形变,进而产生弹力以推动上导电端子21与对接端子紧密接触;拔出对接端子后,上弹性端子23回弹,推动上导电端子21恢复至原始状态。由此可见,由于上弹性端子23始终会对上导电端子21进行弹性支撑,因此即使上导电端子21出现弹性变差甚至无弹性的情况,上弹性端子23也能够促使上导电端子21在插接时与对接端子始终保持良好接触。

下弹性端子24,作为下导电端子22的弹性支撑,其作用原理与上弹性端子23相同,不再赘述。

因此,在增设上弹性端子23/下弹性端子24后,可在解决连接器在电流传输过程中的温升问题的基础上,有效提高连接器的电气性能的可靠性,延长连接器的使用寿命。

可以理解的是,在其他实施例中,对于上弹性端子23和下弹性端子24可以根据需要择一应用,仅为上导电端子21或者下导电端子22进行弹性支撑。

可选的,如图4所示,上弹性端子23的第二上固持部232的两侧,分别竖直向下折弯后延伸形成有第一定位部233,该第一定位部233上设有扣位234。下弹性端子24的第二下固持部242的两侧,分别竖直向上折弯后延伸形成有第二定位部243,该第二定位部243上设有凸台244,与第一定位部233的扣位234相匹配。上导电端子21的第一上固持部212以及下导电端子22的第一下固持部222上均开设有通孔,分别供第一定位部233和第二定位部243穿过。下导电端子22的第一下固持部222的一侧,竖直向上折弯后延伸形成有支撑部225,用于对上导电端子21进行支撑。

相应的,DC电源端子组20的装配方法为:

按照由上至下的层叠方向依次叠放上弹性端子23、上导电端子21、下导电端子22和下弹性端子24;

与此同时,下导电端子22的支撑部225对上导电端子21进行支撑,使得两者呈上下排间隔排布,之间形成插槽;上弹性端子23的第一定位部233穿过上导电端子21,下弹性端子24的第二定位部243穿过下导电端子22,之后第一定位部233与第二定位部243相扣合,以使上弹性端子23、上导电端子21、下导电端子22和下弹性端子24相互固持于一体。

AC电源端子组30的数量为至少一组,具体不限定,可以根据不同需求来设定,图示中以三组为例。

如图5至图6所示,每组AC电源端子组30,适用于20A电流传输,包括呈上下排布的上排端子31和下排端子32,两者均采用铜制成。

上排端子31,包括依次相互连接的第三上接触部311、第三上固持部312、第三上接线部313。下排端子32,包括依次相互连接的第三下接触部321、第三下固持部322、第三下接线部323。

第三上固持部312/第三下固持部322呈片状结构,用于实现固定作用;第三上接触部311/第三下接触部321的数量为多个,呈水平间隔排列,由相应固持部的头端水平向前延伸形成;第三上接线部313/第三下接线部323,可以呈片状结构,由相应固持部的尾端多次折弯后延伸形成,其表面开设有线缆连接孔。

上排端子31的第三上接触部311与下排端子32的第三下接触部321之间形成插槽,供对接的端子插接;同时,上排端子31的第三上接线部313与下排端子32的第三下接线部323相叠合,使得两者的线缆连接孔重合,用于与对接的线缆连接。

本实施例中,信号端子组40包括4个如图7所示的信号端子,呈上下两排分布。如图8和图9所示,在应用时,还可通过信号端子组40的尾部连接PCBA 50来扩展信号端子的数量,例如将信号端子由四位扩展为八位。

综上,本实施例的大电流连接器具有以下特点:

通过对DC电源端子组20增加弹性支撑的方式,既保证了大电流传输过程中的温升问题,又使得插拔力量稳定性增强,提高了连接器的电气性能的可靠性;

通过绝缘胶体10,将DC电源端子组20和AC电源端子组30组合在一起,实现了多种电源解决方案,提高了连接器的通用性。

以上所述,以上实施例仅用以说明本实用新型的技术方案,而非对其限制;尽管参照前述实施例对本实用新型进行了详细的说明,本领域的普通技术人员应当理解:其依然可以对前述各实施例所记载的技术方案进行修改,或者对其中部分技术特征进行等同替换;而这些修改或者替换,并不使相应技术方案的本质脱离本实用新型各实施例技术方案的精神和范围。

价值度评估

技术价值

经济价值

法律价值

0 0 0

63.0

0 50 75 100
0~50 50~75 75~100 价值较低 中等价值 价值较高

专利价值度是通过科学的评估模

型对专利价值进行量化的结果,

基于专利大数据针对专利总体特

征指标利用计算机自动化技术对

待评估专利进行高效、智能化的

分析,从技术、经济和法律价值

三个层面构建专利价值评估体

系,可以有效提升专利价值评估

的质量和效率。

总评:63.0


该专利价值中等 (仅供参考)

        该专利的技术、经济、法律价值经系统自动评估后的总评得分处于平均水平,可以重点研究利用其技术价值,根据法律价值的评估结果选择合适的使用借鉴方式。
        本专利文献中包含【1 个实施例】、【3 个技术分类】,从一定程度上而言上述指标的数值越大可以反映出所述专利的技术保护及应用范围越广。 【被引用次数1 次】专利被引次数越多越能能够体现出该专利在相关技术领域研发中所发挥的基础性作用,代表着专利公开的内容有更多的产业利用价值。 【专利权的维持时间5 年】专利权的维持时间越长,其价值对于权利人而言越高。 尤其重要是,该专利 【权利转移1 次】、 都从侧面反应出该专利的技术、经济和法律价值。

技术价值    34.0

该指标主要从专利申请的著录信息、法律事件等内容中挖掘其技术价值,专利类型、独立权利要求数量、无效请求次数等内容均可反映出专利的技术性价值。 技术创新是专利申请的核心,若您需要进行技术借鉴或寻找可合作的项目,推荐您重点关注该指标。

部分指标包括:

授权周期(发明)

6 个月

独立权利要求数量

2 个

从属权利要求数量

8 个

说明书页数

6 页

实施例个数

1 个

发明人数量

2 个

被引用次数

1 次

引用文献数量

1 个

优先权个数

0 个

技术分类数量

3 个

无效请求次数

0 个

分案子案个数

0 个

同族专利数

0 个

专利获奖情况

保密专利的解密

经济价值    10.0

该指标主要指示了专利技术在商品化、产业化及市场化过程中可能带来的预期利益。 专利技术只有转化成生产力才能体现其经济价值,专利技术的许可、转让、质押次数等指标均是其经济价值的表征。 因此,若您希望找到行业内的运用广泛的热点专利技术及侵权诉讼中的涉案专利,推荐您重点关注该指标。

部分指标包括:

申请人数量

1

申请人类型

企业

许可备案

0 次

权利质押

0 次

权利转移

1 个

海关备案

法律价值    19.0

该指标主要从专利权的稳定性角度评议其价值。专利权是一种垄断权,但其在法律保护的期间和范围内才有效。 专利权的存续时间、当前的法律状态可反映出其法律价值。故而,若您准备找寻权属稳定且专利权人非常重视的专利技术,推荐您关注该指标。

部分指标包括:

存活期/维持时间

5

法律状态

无权-未缴年费