【中国实用新型】一种背负式喷雾喷粉机

有权-审定授权 中国

申请号:
CN202022048038.X
专利权人:
湖南科技学院
授权公告日/公开日:
2021.06.08
专利有效期:
2020.09.17-2030.09.17
技术分类:
A01:农业;林业;畜牧业;狩猎;诱捕;捕鱼
转化方式:
转让
价值度指数:
62.0分
价格:
¥1100.00
2144 1

发布人

龙图腾网科技(合肥)股份有限公司

联系人龙图腾网科技(合肥)股份有限公司

18715114593
3008967067@qq.com
3008967067
18715114593
合肥市蜀山区创业产业园2期18楼龙图腾网科技(合肥)股份有限公司
  • 专利信息&法律状态
  • 专利自评
  • 专利技术文档
  • 价值度指数
  • 发明人阵容

著录项

申请号
CN202022048038.X
申请日
20200917
公开/公告号
CN213369585U
公开/公告日
20210608
申请/专利权人
[湖南科技学院]
发明/设计人
[夏余平, 顾晓猛, 罗哲]
主分类号
A01M9/00
IPC分类号
C12N 9/0008(2013.01) C12N 9/16
CPC分类号
C12N 9/0008(2013.01) C12N 9/16(2013.01)
分案申请地址
国省代码
湖南(43)
颁证日
G06T1/00
代理人
[王萌]

摘要

本实用新型公开了一种背负式喷雾喷粉机,包括机架、离心风机、叶轮和药箱,所述机架的底端设置有下安装板,且下安装板的顶端安装有离心风机,离心风机的内部设置有叶轮,并且离心风机的顶端设置有出风筒,所述离心风机的一端安装有弯管,且弯管的顶端固定有蛇形管。本实用新型通过安装有橡胶减震软垫、机架、离心风机和药箱,使得装置优化了自身的结构,使用时,一方面通过将机架设置呈L形,便于容纳安装离心风机和药箱,另一方面通过在机架靠近离心风机的一侧均匀设置有橡胶减震软垫,利用橡胶的弹性缓冲性能,可以减轻由于振动导致的机身摇晃、无法进行正常喷洒作业的问题,进而提升了装置的平稳性能。

法律状态

法律状态公告日 20251230
法律状态 专利申请权、专利权的转移
法律状态信息 专利权的转移
IPC(主分类):A01M 9/00
专利号:ZL202022048038X
登记生效日:20251215
变更事项:专利权人
变更前权利人:龙图腾网科技(合肥)股份有限公司
变更后权利人:新疆佳禾草业科技服务有限责任公司
变更事项:国家或地区
变更前权利人:中国
变更后权利人:中国
变更事项:地址
变更前权利人:230000 安徽省合肥市蜀山经济开发区井岗路电商园一期2号楼1楼
变更后权利人:831800 新疆维吾尔自治区昌吉回族自治州奇台县奇台镇古城南街5-1-446号2层202室(领秀花苑二期大门北侧)
法律状态公告日 20240202
法律状态 专利申请权、专利权的转移
法律状态信息 专利权的转移
IPC(主分类):A01M 9/00
专利号:ZL202022048038X
登记生效日:20240116
变更事项:专利权人
变更前权利人:湖南科技学院
变更后权利人:龙图腾网科技(合肥)股份有限公司
变更事项:地址
变更前权利人:425000 湖南省郴州市零陵区杨梓塘路130号
变更后权利人:230000 安徽省合肥市蜀山经济开发区井岗路电商园一期2号楼1楼
法律状态公告日 20231226
法律状态 专利实施许可合同备案的生效、变更及注销
法律状态信息 专利实施许可合同备案的生效
IPC(主分类):A01M 9/00
专利申请号:202022048038X
专利号:ZL202022048038X
合同备案号:X2023980049650
让与人:湖南科技学院
受让人:永州市雅大科技实业有限公司
实用新型名称:一种背负式喷雾喷粉机
申请日:20200917
授权公告日:20210608
许可种类:普通许可
备案日期:20231208
法律状态公告日 20210608
法律状态 授权
法律状态信息 授权
事务数据公告日 20231226
事务数据类型 专利实施许可合同备案的生效、变更及注销
许可详情 专利实施许可合同备案的生效
IPC(主分类):A01M 9/00
专利申请号:202022048038X
专利号:ZL202022048038X
合同备案号:X2023980049650
让与人:湖南科技学院
受让人:永州市雅大科技实业有限公司
实用新型名称:一种背负式喷雾喷粉机
申请日:20200917
授权公告日:20210608
许可种类:普通许可
备案日期:20231208
事务数据公告日 20251230
事务数据类型 专利申请权、专利权的转移
转让详情 专利权的转移
IPC(主分类):A01M 9/00
专利号:ZL202022048038X
登记生效日:20251215
变更事项:专利权人
变更前权利人:龙图腾网科技(合肥)股份有限公司
变更后权利人:新疆佳禾草业科技服务有限责任公司
变更事项:国家或地区
变更前权利人:中国
变更后权利人:中国
变更事项:地址
变更前权利人:230000 安徽省合肥市蜀山经济开发区井岗路电商园一期2号楼1楼
变更后权利人:831800 新疆维吾尔自治区昌吉回族自治州奇台县奇台镇古城南街5-1-446号2层202室(领秀花苑二期大门北侧)
事务数据公告日 20240202
事务数据类型 专利申请权、专利权的转移
转让详情 专利权的转移
IPC(主分类):A01M 9/00
专利号:ZL202022048038X
登记生效日:20240116
变更事项:专利权人
变更前权利人:湖南科技学院
变更后权利人:龙图腾网科技(合肥)股份有限公司
变更事项:地址
变更前权利人:425000 湖南省郴州市零陵区杨梓塘路130号
变更后权利人:230000 安徽省合肥市蜀山经济开发区井岗路电商园一期2号楼1楼
暂无数据

权利要求

权利要求数量(6

独立权利要求数量(1

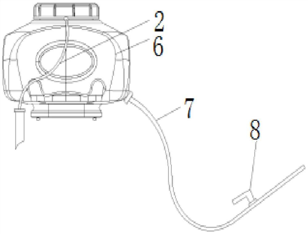
1.一种背负式喷雾喷粉机,包括机架(1)、离心风机(4)、叶轮(5)和药箱(6),其特征在于:所述机架(1)的底端设置有下安装板(16),且下安装板(16)的顶端安装有离心风机(4),离心风机(4)的内部设置有叶轮(5),并且离心风机(4)的顶端设置有出风筒(3),所述离心风机(4)的一端安装有弯管(9),且弯管(9)的顶端固定有蛇形管(10),并且蛇形管(10)的顶端固定有直管(11),直管(11)的顶端安装有扩展喷嘴(12),所述离心风机(4)上方的机架(1)上安装有药箱(6),药箱(6)底部的一端设置有与直管(11)连接的出液管(7),出液管(7)上安装有手把开关(8),且机架(1)远离药箱(6)一侧的两端皆设置有背带(14),所述背带(14)上设置有长度调节扣(15),机架(1)靠近背带(14)的一侧固定有气囊舒适板(13),且气囊舒适板(13)底部的一端设置有预留管(17)。

2.根据权利要求1所述的一种背负式喷雾喷粉机,其特征在于:所述机架(1)呈L形,且机架(1)靠近离心风机(4)的一侧均匀设置有橡胶减震软垫(19),并且橡胶减震软垫(19)与机架(1)之间构成热熔连接。

3.根据权利要求1所述的一种背负式喷雾喷粉机,其特征在于:所述机架(1)上均匀设置有与离心风机(4)和药箱(6)相匹配的螺纹装配孔(18),离心风机(4)和药箱(6)通过螺丝与机架(1)连接,且机架(1)的材料为不锈钢,下安装板(16)和机架(1)构成一体成型结构。

4.根据权利要求1所述的一种背负式喷雾喷粉机,其特征在于:所述药箱(6)的内侧壁设置有特氟龙不粘层,且药箱(6)的顶端螺纹连接有密封盖,密封盖的内侧壁设置有硅胶密封层,并且药箱(6)呈上大下小的圆体形,药箱(6)的材料为聚氯乙烯塑料。

5.根据权利要求1所述的一种背负式喷雾喷粉机,其特征在于:所述出液管(7)的内部和直管(11)的内部相连通,且直管(11)的外壁设置有与出液管(7)相匹配的固定扣,药箱(6)内部的顶端通过进气管(2)与出风筒(3)的内部相连通,且进气管(2)内部的顶端均匀设置有防护滤布。

6.根据权利要求1所述的一种背负式喷雾喷粉机,其特征在于:所述扩展喷嘴(12)和直管(11)之间构成螺纹连接,且直管(11)、蛇形管(10)和弯管(9)构成一体化焊接结构,并且直管(11)、蛇形管(10)和弯管(9)的材料皆为铝合金。

1.一种背负式喷雾喷粉机,包括机架(1)、离心风机(4)、叶轮(5)和药箱(6),其特征在于:所述机架(1)的底端设置有下安装板(16),且下安装板(16)的顶端安装有离心风机(4),离心风机(4)的内部设置有叶轮(5),并且离心风机(4)的顶端设置有出风筒(3),所述离心风机(4)的一端安装有弯管(9),且弯管(9)的顶端固定有蛇形管(10),并且蛇形管(10)的顶端固定有直管(11),直管(11)的顶端安装有扩展喷嘴(12),所述离心风机(4)上方的机架(1)上安装有药箱(6),药箱(6)底部的一端设置有与直管(11)连接的出液管(7),出液管(7)上安装有手把开关(8),且机架(1)远离药箱(6)一侧的两端皆设置有背带(14),所述背带(14)上设置有长度调节扣(15),机架(1)靠近背带(14)的一侧固定有气囊舒适板(13),且气囊舒适板(13)底部的一端设置有预留管(17)。

2.根据权利要求1所述的一种背负式喷雾喷粉机,其特征在于:所述机架(1)呈L形,且机架(1)靠近离心风机(4)的一侧均匀设置有橡胶减震软垫(19),并且橡胶减震软垫(19)与机架(1)之间构成热熔连接。

3.根据权利要求1所述的一种背负式喷雾喷粉机,其特征在于:所述机架(1)上均匀设置有与离心风机(4)和药箱(6)相匹配的螺纹装配孔(18),离心风机(4)和药箱(6)通过螺丝与机架(1)连接,且机架(1)的材料为不锈钢,下安装板(16)和机架(1)构成一体成型结构。

4.根据权利要求1所述的一种背负式喷雾喷粉机,其特征在于:所述药箱(6)的内侧壁设置有特氟龙不粘层,且药箱(6)的顶端螺纹连接有密封盖,密封盖的内侧壁设置有硅胶密封层,并且药箱(6)呈上大下小的圆体形,药箱(6)的材料为聚氯乙烯塑料。

5.根据权利要求1所述的一种背负式喷雾喷粉机,其特征在于:所述出液管(7)的内部和直管(11)的内部相连通,且直管(11)的外壁设置有与出液管(7)相匹配的固定扣,药箱(6)内部的顶端通过进气管(2)与出风筒(3)的内部相连通,且进气管(2)内部的顶端均匀设置有防护滤布。

6.根据权利要求1所述的一种背负式喷雾喷粉机,其特征在于:所述扩展喷嘴(12)和直管(11)之间构成螺纹连接,且直管(11)、蛇形管(10)和弯管(9)构成一体化焊接结构,并且直管(11)、蛇形管(10)和弯管(9)的材料皆为铝合金。

说明书

技术领域

本实用新型涉及植保机械技术领域,具体为一种背负式喷雾喷粉机。

背景技术

农户在进行农业植保药物喷洒作业中常常需要用到喷雾喷粉机,喷雾喷粉机的种类多种多样,这其中又以背负式喷雾喷粉机最为常用,它普遍具备方便携带和喷洒效果好的优点,但是现有的背负式喷雾喷粉机在实际使用时还是存在以下几点问题:

1.普通的背负式喷雾喷粉机普遍存在着抗粘耐腐蚀效果不好、药箱结构不利于药物排出和密封性能差的问题,这导致装置存在药物浪费过多的问题;

2.市面上现存的背负式喷雾喷粉机还存在着结构单一、不易拆装维护和不具备减震结构的弊端,这导致装置的实用性低下;

3.现有的背负式喷雾喷粉机还普遍存在着喷射距离不足、不易调整背带长度和背负时舒适度差的缺点,这导致装置的使用效果不好。

发明内容

本实用新型的目的在于提供一种背负式喷雾喷粉机,以解决上述背景技术中提出的抗粘耐腐蚀效果不好、药箱结构不利于药物排出和密封性能差、结构单一、不易拆装维护和不具备减震结构以及喷射距离不足、不易调整背带长度和背负时舒适度差的问题。

为实现上述目的,本实用新型提供如下技术方案:一种背负式喷雾喷粉机,包括机架、离心风机、叶轮和药箱,所述机架的底端设置有下安装板,且下安装板的顶端安装有离心风机,离心风机的内部设置有叶轮,并且离心风机的顶端设置有出风筒,所述离心风机的一端安装有弯管,且弯管的顶端固定有蛇形管,并且蛇形管的顶端固定有直管,直管的顶端安装有扩展喷嘴,所述离心风机上方的机架上安装有药箱,药箱底部的一端设置有与直管连接的出液管,出液管上安装有手把开关,且机架远离药箱一侧的两端皆设置有背带,所述背带上设置有长度调节扣,机架靠近背带的一侧固定有气囊舒适板,且气囊舒适板底部的一端设置有预留管。

优选的,所述机架呈L形,且机架靠近离心风机的一侧均匀设置有橡胶减震软垫,并且橡胶减震软垫与机架之间构成热熔连接,使其利用橡胶的弹性缓冲性能,可以减轻由于振动导致的机身摇晃、无法进行正常喷洒作业的问题,进而提升了装置的平稳性能。

优选的,所述机架上均匀设置有与离心风机和药箱相匹配的螺纹装配孔,离心风机和药箱通过螺丝与机架连接,且机架的材料为不锈钢,下安装板和机架构成一体成型结构,使得装置实现了组合式的优点,便于拆装离心风机和药箱。

优选的,所述药箱的内侧壁设置有特氟龙不粘层,且药箱的顶端螺纹连接有密封盖,密封盖的内侧壁设置有硅胶密封层,并且药箱呈上大下小的圆体形,药箱的材料为聚氯乙烯塑料,使其提升了药箱内壁的抗粘耐腐蚀效果。

优选的,所述出液管的内部和直管的内部相连通,且直管的外壁设置有与出液管相匹配的固定扣,药箱内部的顶端通过进气管与出风筒的内部相连通,且进气管内部的顶端均匀设置有防护滤布,使其可以避免药物倒流进入出风筒和离心风机内部造成浪费和污染。

优选的,所述扩展喷嘴和直管之间构成螺纹连接,且直管、蛇形管和弯管构成一体化焊接结构,并且直管、蛇形管和弯管的材料皆为铝合金,使其便于使用者将扩展喷嘴进行拆装清理或更换。

与现有技术相比,本实用新型的有益效果是:

(1)、该背负式喷雾喷粉机通过安装有药箱、直管、出液管、进气管和离心风机,使得装置优化了自身的性能,使用时,一方面通过在药箱的内侧壁设置有特氟龙不粘层,提升了药箱内壁的抗粘耐腐蚀效果,并且通过将药箱设置呈上大下小的圆体形,优化了药箱的结构,较之传统的立方形结构,更有利于排净药液和药粉,减少药箱中的药物残留,另一方面通过在药箱的顶端螺纹连接有密封盖,密封盖的内侧壁设置有硅胶密封层,通过拆装密封盖便于添加药液,且利用硅胶密封层,提升了药箱整体的密封效果,并且通过在直管的外壁设置有与出液管相匹配的固定扣,提升了出液管的稳定性,同时通过在进气管内部的顶端均匀设置有防护滤布,可以避免药物倒流进入出风筒和离心风机内部造成浪费和污染;

(2)、该背负式喷雾喷粉机通过安装有机架、离心风机、药箱、橡胶减震软垫和螺纹装配孔,使得装置优化了自身的结构,使用时,一方面通过将机架设置呈L形,便于容纳安装离心风机和药箱,另一方面通过在机架靠近离心风机的一侧均匀设置有橡胶减震软垫,利用橡胶的弹性缓冲性能,可以减轻由于振动导致的机身摇晃、无法进行正常喷洒作业的问题,进而提升了装置的平稳性能,并且通过在机架上均匀设置有与离心风机和药箱相匹配的螺纹装配孔,其将离心风机和药箱通过螺丝与机架连接,使得装置实现了组合式的优点,便于拆装离心风机和药箱;

(3)、该背负式喷雾喷粉机通过安装有背带、离心风机、长度调节扣、出风筒、进气管、扩展喷嘴和气囊舒适板,使得装置具体使用时,一方面使用者利用背带将装置背好,便于携带,并且通过背带上设置的长度调节扣可以实现松紧度的调整,增强了装置的适用性,另一方面装置运行时,离心风机启动后,其内置的电动机会带动叶轮旋转,所产生的大部分高速气流经风机出口流往弯管,再流向蛇形管和直管,而少量气流经出风筒进入进气管,再被吹入药箱内部的顶端,使药箱中的药粉松散,以粉气混合状态吹向出液管,再配合弯管处高速气流的作用,使得这些药粉最后裹挟气流高速通过扩展喷嘴形成雾状气流均匀地喷向植物,扩大了喷射距离,提高了植保效果,并且通过在机架设置有与人体背部接触的气囊舒适板,利用气囊的弹性、柔软性,提升了装置使用时的舒适度。

附图说明

图1为本实用新型正视结构示意图;

图2为本实用新型药箱正视结构示意图;

图3为本实用新型机架后视结构示意图;

图4为本实用新型机架俯视剖面结构示意图。

图中:1、机架;2、进气管;3、出风筒;4、离心风机;5、叶轮;6、药箱;7、出液管;8、手把开关;9、弯管;10、蛇形管;11、直管;12、扩展喷嘴;13、气囊舒适板;14、背带;15、长度调节扣;16、下安装板;17、预留管;18、螺纹装配孔;19、橡胶减震软垫。

具体实施方式

下面将结合本实用新型实施例中的附图,对本实用新型实施例中的技术方案进行清楚、完整地描述,显然,所描述的实施例仅仅是本实用新型一部分实施例,而不是全部的实施例。基于本实用新型中的实施例,本领域普通技术人员在没有做出创造性劳动前提下所获得的所有其他实施例,都属于本实用新型保护的范围。

请参阅图1-4,本实用新型提供的一种实施例:一种背负式喷雾喷粉机,包括机架1、离心风机4、叶轮5和药箱6,机架1的底端设置有下安装板16,且下安装板16的顶端安装有离心风机4,离心风机4的内部设置有叶轮5,并且离心风机4的顶端设置有出风筒3,该离心风机4的型号可为F4-72,离心风机4的一端安装有弯管9,且弯管9的顶端固定有蛇形管10,并且蛇形管10的顶端固定有直管11,直管11的顶端安装有扩展喷嘴12,离心风机4上方的机架1上安装有药箱6,药箱6底部的一端设置有与直管11连接的出液管7,出液管7上安装有手把开关8,且机架1远离药箱6一侧的两端皆设置有背带14,背带14上设置有长度调节扣15,机架1靠近背带14的一侧固定有气囊舒适板13,且气囊舒适板13底部的一端设置有预留管17,机架1呈L形,且机架1靠近离心风机4的一侧均匀设置有橡胶减震软垫19,并且橡胶减震软垫19与机架1之间构成热熔连接;

使用时,一方面通过将机架1设置呈L形,便于容纳安装离心风机4和药箱6,另一方面通过在机架1靠近离心风机4的一侧均匀设置有橡胶减震软垫19,利用橡胶的弹性缓冲性能,可以减轻由于振动导致的机身摇晃、无法进行正常喷洒作业的问题,进而提升了装置的平稳性能;

机架1上均匀设置有与离心风机4和药箱6相匹配的螺纹装配孔18,离心风机4和药箱6通过螺丝与机架1连接,且机架1的材料为不锈钢,下安装板16和机架1构成一体成型结构;

使用时,通过在机架1上均匀设置有与离心风机4和药箱6相匹配的螺纹装配孔18,其将离心风机4和药箱6通过螺丝与机架1连接,使得装置实现了组合式的优点,便于拆装离心风机4和药箱6;

药箱6的内侧壁设置有特氟龙不粘层,且药箱6的顶端螺纹连接有密封盖,密封盖的内侧壁设置有硅胶密封层,并且药箱6呈上大下小的圆体形,药箱6的材料为聚氯乙烯塑料;

使用时,一方面通过在药箱6的内侧壁设置有特氟龙不粘层,提升了药箱6内壁的抗粘耐腐蚀效果,并且通过将药箱6设置呈上大下小的圆体形,优化了药箱6的结构,较之传统的立方形结构,更有利于排净药液和药粉,减少药箱6中的药物残留,另一方面通过在药箱6的顶端螺纹连接有密封盖,密封盖的内侧壁设置有硅胶密封层,通过拆装密封盖便于添加药液,且利用硅胶密封层,提升了药箱6整体的密封效果;

出液管7的内部和直管11的内部相连通,且直管11的外壁设置有与出液管7相匹配的固定扣,药箱6内部的顶端通过进气管2与出风筒3的内部相连通,且进气管2内部的顶端均匀设置有防护滤布;

使用时,一方面通过在直管11的外壁设置有与出液管7相匹配的固定扣,提升了出液管7的稳定性,另一方面通过在进气管2内部的顶端均匀设置有防护滤布,可以避免药物倒流进入出风筒3和离心风机4内部造成浪费和污染;

扩展喷嘴12和直管11之间构成螺纹连接,且直管11、蛇形管10和弯管9构成一体化焊接结构,并且直管11、蛇形管10和弯管9的材料皆为铝合金;

使用时,通过将扩展喷嘴12和直管11之间设置呈螺纹连接,便于使用者将扩展喷嘴12进行拆装清理或更换,增强了装置的功能性;

该离心风机4的机壳上安装有蓄电池。

工作原理:使用时,蓄电池供电,使用者首先利用背带14将装置背好,便于携带,并且通过背带14上设置的长度调节扣15可以实现松紧度的调整,增强了装置的适用性,同时,通过在机架1设置有与人体背部接触的气囊舒适板13,利用气囊的弹性、柔软性,提升了装置使用时的舒适度,且通过在气囊舒适板13上设置有预留管17,可以通过预留管17上的密封塞,实现对于气囊舒适板13的充放气,进而改变气囊舒适板13的弹性效果,装置具体使用时,离心风机4启动后,其内置的电动机会带动叶轮5旋转,所产生的大部分高速气流经风机出口流往弯管9,再流向蛇形管10和直管11,而少量气流经出风筒3进入进气管2,再被吹入药箱6内部的顶端,使药箱6中的药粉松散,以粉气混合状态吹向出液管7,再配合弯管9处高速气流的作用,使得这些药粉最后裹挟气流高速通过扩展喷嘴12形成雾状气流均匀地喷向植物,扩大了喷射距离,提高了植保效果,此外,使用时,一方面通过在药箱6的内侧壁设置有特氟龙不粘层,提升了药箱6内壁的抗粘耐腐蚀效果,并且通过将药箱6设置呈上大下小的圆体形,优化了药箱6的结构,较之传统的立方形结构,更有利于排净药液和药粉,减少药箱6中的药物残留,另一方面通过在药箱6的顶端螺纹连接有密封盖,密封盖的内侧壁设置有硅胶密封层,通过拆装密封盖便于添加药液,且利用硅胶密封层,提升了药箱6整体的密封效果,并且通过将扩展喷嘴12和直管11之间设置呈螺纹连接,便于使用者将扩展喷嘴12进行拆装清理或更换,增强了装置的功能性,同时,通过在机架1上均匀设置有与离心风机4和药箱6相匹配的螺纹装配孔18,其将离心风机4和药箱6通过螺丝与机架1连接,使得装置实现了组合式的优点,便于拆装离心风机4和药箱6。

对于本领域技术人员而言,显然本实用新型不限于上述示范性实施例的细节,而且在不背离本实用新型的精神或基本特征的情况下,能够以其他的具体形式实现本实用新型。因此,无论从哪一点来看,均应将实施例看作是示范性的,而且是非限制性的,本实用新型的范围由所附权利要求而不是上述说明限定,因此旨在将落在权利要求的等同要件的含义和范围内的所有变化囊括在本实用新型内。不应将权利要求中的任何附图标记视为限制所涉及的权利要求。

价值度评估

技术价值

经济价值

法律价值

0 0 0

62.0

0 50 75 100
0~50 50~75 75~100 价值较低 中等价值 价值较高

专利价值度是通过科学的评估模

型对专利价值进行量化的结果,

基于专利大数据针对专利总体特

征指标利用计算机自动化技术对

待评估专利进行高效、智能化的

分析,从技术、经济和法律价值

三个层面构建专利价值评估体

系,可以有效提升专利价值评估

的质量和效率。

总评:62.0


该专利价值中等 (仅供参考)

        该专利的技术、经济、法律价值经系统自动评估后的总评得分处于平均水平,可以重点研究利用其技术价值,根据法律价值的评估结果选择合适的使用借鉴方式。
        本专利文献中包含【1 个实施例】、【1 个技术分类】,从一定程度上而言上述指标的数值越大可以反映出所述专利的技术保护及应用范围越广。 【专利权的维持时间6 年】专利权的维持时间越长,其价值对于权利人而言越高。 尤其重要是,该专利 【权利转移2 次】、 都从侧面反应出该专利的技术、经济和法律价值。

技术价值    29.0

该指标主要从专利申请的著录信息、法律事件等内容中挖掘其技术价值,专利类型、独立权利要求数量、无效请求次数等内容均可反映出专利的技术性价值。 技术创新是专利申请的核心,若您需要进行技术借鉴或寻找可合作的项目,推荐您重点关注该指标。

部分指标包括:

授权周期(发明)

8 个月

独立权利要求数量

1 个

从属权利要求数量

5 个

说明书页数

4 页

实施例个数

1 个

发明人数量

3 个

被引用次数

0 次

引用文献数量

0 个

优先权个数

0 个

技术分类数量

1 个

无效请求次数

0 个

分案子案个数

0 个

同族专利数

0 个

专利获奖情况

保密专利的解密

经济价值    11.0

该指标主要指示了专利技术在商品化、产业化及市场化过程中可能带来的预期利益。 专利技术只有转化成生产力才能体现其经济价值,专利技术的许可、转让、质押次数等指标均是其经济价值的表征。 因此,若您希望找到行业内的运用广泛的热点专利技术及侵权诉讼中的涉案专利,推荐您重点关注该指标。

部分指标包括:

申请人数量

1

申请人类型

院校

许可备案

1 次

权利质押

0 次

权利转移

2 个

海关备案

法律价值    22.0

该指标主要从专利权的稳定性角度评议其价值。专利权是一种垄断权,但其在法律保护的期间和范围内才有效。 专利权的存续时间、当前的法律状态可反映出其法律价值。故而,若您准备找寻权属稳定且专利权人非常重视的专利技术,推荐您关注该指标。

部分指标包括:

存活期/维持时间

6

法律状态

有权-审定授权