【中国实用新型】一种折叠式临床护理推车

无权-未缴年费 中国

申请号:
CN201620334291.2
专利权人:
无锡市第二人民医院
授权公告日/公开日:
2016.12.21
专利有效期:
2016.04.19-2026.04.19
技术分类:
A61:医学或兽医学;卫生学
转化方式:
转让
价值度指数:
44.0分
价格:
面议
6435 0

发布人

无锡市第二人民医院

联系人

13700000001
  • 专利信息&法律状态
  • 专利自评
  • 专利技术文档
  • 价值度指数
  • 发明人阵容

著录项

申请号
CN201620334291.2
申请日
20160419
公开/公告号
CN205814588U
公开/公告日
20161221
申请/专利权人
[无锡市第二人民医院]
发明/设计人
[蒋佳]
主分类号
A61G12/00
IPC分类号
C12N 9/0008(2013.01) C12N 9/16
CPC分类号
C12N 9/0008(2013.01) C12N 9/16(2013.01)
分案申请地址
国省代码
江苏(32)
颁证日
G06T1/00
代理人
[胡吉科]

摘要

本实用新型公开了一种折叠式多功能临床护理推车,所述移动小车包括底座、折叠底板、右侧支柱、左侧支柱、储物篮、操作桌面、手快速消毒液固定支架、锐器盒固定支架和万向轮;所述底座设置为四个,每个底座下部均安装有一个万向轮,其中两个底座上安装有右侧支柱、2个右侧支柱之间设置有连接彼此顶端部的安装杆,另两个底座上安装有左侧支柱,安装右侧支柱的两个底座之间、安装左侧支柱的两个底座之间均设置有横杆,两个横杆之间安装有折叠底板。

法律状态

法律状态公告日 20190405
法律状态 专利权的终止
法律状态信息 未缴年费专利权终止
IPC(主分类):A61G 12/00
申请日:20160419
授权公告日:20161221
终止日期:20180419
法律状态公告日 20161221
法律状态 授权
法律状态信息 授权
暂无数据

权利要求

权利要求数量(4

独立权利要求数量(1

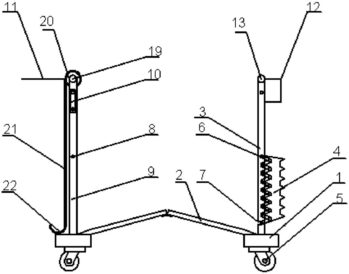
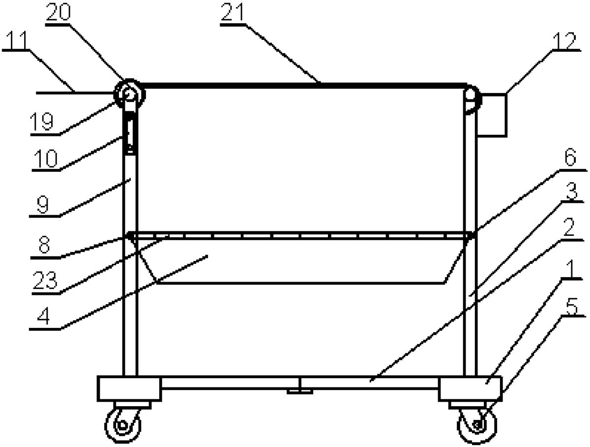
1.一种折叠式临床护理推车,包括移动小车和清洗装置,所述移动小车包括底座(1)、 折叠底板(2)、右侧支柱(3)、左侧支柱(9)、储物篮(4)、操作桌面(21)和万向轮(5);其特征 在于:所述底座(1)设置为四个,每个底座(1)下部安装有一个万向轮(5),其中两个底座(1) 上安装有右侧支柱(3),2个右侧支柱(3)之间设置有连接彼此顶端部的安装杆(13),另两个 底座(1)上安装有左侧支柱(9),安装右侧支柱(3)的两个底座(1)之间、安装左侧支柱(9)的 两个底座(1)之间均设置有横杆,两个横杆之间安装有折叠底板(2);所述左侧支柱(9)的中 部设置安装轴固定孔(8),顶部设置安装杆(19),安装杆(19)上转动安装有转轴(20),转轴 (20)与操作桌面(21)的一侧边连接,操作桌面(21)的另一侧边设置弧形部(22),操作桌面 (21)绕安装杆(19)转动至水平位置,其弧形部(22)扣入右侧支柱(3)顶端的安装杆;所述右 侧支柱(3)下部设置凹槽(7),中部设置安装轴固定孔(8),储物篮(4)的一侧的安装轴插入 安装轴固定孔(8),另一侧的安装轴滑入凹槽(7)内固定,所述储物篮(4)包括布袋和折叠上 边沿(23),布袋的开口处与折叠上边沿(23)以及两个安装轴围成的框架缝合在一起;其中 一个右侧安装杆(13)的上部安装有手快速消毒液固定支架(12),左侧安装杆(19)的上部安 装有利器盒固定支架(11)。

2.根据权利要求1所述的折叠式临床护理推车,其特征在于,所述折叠底板(2)包括两 块板材,两块板材之间安装有合页实现转动连接,两块板材的自由端分别与横杆旋转连接。

3.根据权利要求1所述的折叠式临床护理推车,其特征在于,所述左侧支柱(9)上部设 置限位片(10),右侧支柱(3)上与限位片(10)适配的位置设置限位片固定部。

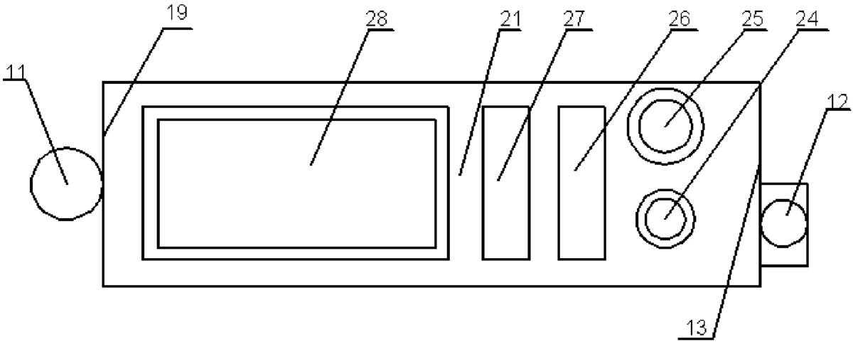
4.根据权利要求1所述的折叠式临床护理推车,其特征在于,所述操作桌面(21)上设置 有药剂区(24)、一次性用品区(25)、废弃物品区(26)、器械区(27)和托盘槽(28)。

1.一种折叠式临床护理推车,包括移动小车和清洗装置,所述移动小车包括底座(1)、折叠底板(2)、右侧支柱(3)、左侧支柱(9)、储物篮(4)、操作桌面(21)和万向轮(5);其特征在于:所述底座(1)设置为四个,每个底座(1)下部安装有一个万向轮(5),其中两个底座(1)上安装有右侧支柱(3),2个右侧支柱(3)之间设置有连接彼此顶端部的安装杆(13),另两个底座(1)上安装有左侧支柱(9),安装右侧支柱(3)的两个底座(1)之间、安装左侧支柱(9)的两个底座(1)之间均设置有横杆,两个横杆之间安装有折叠底板(2);所述左侧支柱(9)的中部设置安装轴固定孔(8),顶部设置安装杆(19),安装杆(19)上转动安装有转轴(20),转轴(20)与操作桌面(21)的一侧边连接,操作桌面(21)的另一侧边设置弧形部(22),操作桌面(21)绕安装杆(19)转动至水平位置,其弧形部(22)扣入右侧支柱(3)顶端的安装杆;所述右侧支柱(3)下部设置凹槽(7),中部设置安装轴固定孔(8),储物篮(4)的一侧的安装轴插入安装轴固定孔(8),另一侧的安装轴滑入凹槽(7)内固定,所述储物篮(4)包括布袋和折叠上边沿(23),布袋的开口处与折叠上边沿(23)以及两个安装轴围成的框架缝合在一起;其中一个右侧安装杆(13)的上部安装有手快速消毒液固定支架(12),左侧安装杆(19)的上部安装有利器盒固定支架(11)。

2.根据权利要求1所述的折叠式临床护理推车,其特征在于,所述折叠底板(2)包括两块板材,两块板材之间安装有合页实现转动连接,两块板材的自由端分别与横杆旋转连接。

3.根据权利要求1所述的折叠式临床护理推车,其特征在于,所述左侧支柱(9)上部设置限位片(10),右侧支柱(3)上与限位片(10)适配的位置设置限位片固定部。

4.根据权利要求1所述的折叠式临床护理推车,其特征在于,所述操作桌面(21)上设置有药剂区(24)、一次性用品区(25)、废弃物品区(26)、器械区(27)和托盘槽(28)。

说明书

技术领域

本实用新型涉及临床护理医疗用具,具体是一种折叠式临床护理推车。

背景技术

在医院护士在完成各项床边临床护理时经常使用到护理推车,现有技术中的护理推车大多采用不锈钢框架制成,结构简单、功能单一的推车,只存在托盘和底盘,通常包括4个空心立柱,空心立柱下面安装 4个滑轮,在4个空心立柱上焊接有上治疗平台和下治疗平台,这种设计的护理车在不使用时会占用大量的存放空间,很多医院治疗室空间小,节省有效的储存空间显得尤为重要;在病人床边实施护理过程中,严格执行手卫生防止交叉感染及使用锐器盒存放利器防止针刺伤是非常的重要。现有技术的护理推车功能单一,无法固定存放快速手消毒液及利器盒,基于上述原因,需要对现有技术的护理推车进行改进改良,以满足使用需求。

发明内容

本实用新型的目的在于提供一种功能多样、节省空间的折叠式临床护理推车,以解决上述背景技术中提出的问题。

为实现上述目的,本实用新型提供如下技术方案:

一种折叠式临床护理推车,包括移动小车和快速手消毒液及利器盒固定支架,所述移动小车包括底座、折叠底板、右侧支柱、左侧支柱、储物篮、操作桌面和万向轮;所述底座设置为四个,每个底座下部均安装有一个万向轮,其中两个底座上安装有右侧支柱、2个右侧支柱之间设置有连接彼此顶端部的安装杆,另两个底座上安装有左侧支柱,安装右侧支柱的两个底座之间、安装左侧支柱的两个底座之间均设置有横杆,两个横杆之间安装有折叠底板;所述左侧支柱的中部设置安装轴固定孔,顶部设置安装杆,安装杆上转动安装有转轴,转轴与操作桌面的一侧边连接,操作桌面的另一侧边设置弧形部,操作桌面绕安装杆转动至水平位置,其弧形部扣入右侧支柱顶端的安装杆;所述右侧支柱下部设置凹槽,中部设置安装轴固定孔,储物篮的一侧的安装轴插入安装轴固定孔,另一侧的安装轴滑入凹槽内固定,所述储物篮包括布袋和折叠上边沿,布袋的开口处与折叠上边沿以及两个安装轴围成的框架缝合在一起;其中一个右侧支柱的上部安装有手快速消毒液固定支架、左侧支柱的上部安装有利器盒固定支架。

作为本实用新型进一步的方案:所述折叠底板包括两块板材,两块板材之间安装有合页实现转动连接,两块板材的自由端分别与横杆旋转连接。

作为本实用新型再进一步的方案:所述左侧支柱上部设置限位片,右侧支柱上与限位片适配的位置设置限位片固定部。

作为本实用新型再进一步的方案:所述左侧安装杆设置有利器盒固定支架,右侧安装杆设置有快速手消毒液固定支架。

作为本实用新型再进一步的方案:所述操作桌面上设置有药剂区、一次性用品区、废弃物品区、器械区和托盘槽。

与现有技术相比,本实用新型的有益效果是:本实用新型结构简单,设计合理,移动小车可以折叠和伸展,能合理利用空间,节约闲置时的空间;这个装置设置底部折叠底板层、中部储物篮层和上部操作桌面,功能区多样,分区明确,便于提升护理效率,减轻医护人员劳动强度。

附图说明

图1为本实用新型的结构示意图。

图2为本实用新型中移动小车的右视图。

图3为本实用新型的使用状态示意图。

图4为本实用新型中操作桌面的俯视图。

具体实施方式

下面结合具体实施方式对本专利的技术方案作进一步详细地说明。

请参阅图1-4,一种折叠式临床护理推车,包括移动小车、快速手消毒液固定装置、利器盒固定装置。所述移动小车包括底座1、折叠底板2、右侧支柱3、左侧支柱9、储物篮4、操作桌面21和万向轮5;其特征在于:所述底座1设置为四个,每个底座1下部安装有一个万向轮5,其中两个底座1上安装有右侧支柱3、2个右侧支柱3之间设置有连接彼此顶端部的安装杆13,另两个底座1上安装有左侧支柱9,安装右侧支柱3的两个底座1之间、安装左侧支柱9的两个底座1之间均设置有横杆,两个横杆之间安装有折叠底板2;所述左侧支柱9的中部设置安装轴固定孔8,顶部设置安装杆19,安装杆19上转动安装有转轴20,转轴20与操作桌面21的一侧边连接,操作桌面21的另一侧边设置弧形部22,操作桌面21绕安装杆19转动至水平位置,其弧形部22扣入右侧支柱3顶端的安装杆;所述右侧支柱3下部设置凹槽7,中部设置安装轴固定孔8,储物篮4的一侧的安装轴插入安装轴固定孔8,另一侧的安装轴滑入凹槽7内固定,所述储物篮4包括布袋和折叠上边沿23,布袋的开口处与折叠上边沿23以及两个安装轴围成的框架缝合在一起;所述左侧安装杆19设置有利器盒支架11,右侧安装杆13设置有消毒液支架12。

所述折叠底板2包括两块板材,两块板材之间安装有合页实现转动连接,两块板材的自由端分别与横杆旋转连接。

所述左侧支柱9上部设置限位片10,右侧支柱3上与限位片10适配的位置设置限位片固定部。

所述操作桌面21上设置有药剂区24、一次性用品区25、废弃物品区26、器械区27和托盘槽28。

上面对本专利的较佳实施方式作了详细说明,但是本专利并不限于上述实施方式,在本领域的普通技术人员所具备的知识范围内,还可以在不脱离本专利宗旨的前提下作出各种变化。

价值度评估

技术价值

经济价值

法律价值

0 0 0

44.0

0 50 75 100
0~50 50~75 75~100 价值较低 中等价值 价值较高

专利价值度是通过科学的评估模

型对专利价值进行量化的结果,

基于专利大数据针对专利总体特

征指标利用计算机自动化技术对

待评估专利进行高效、智能化的

分析,从技术、经济和法律价值

三个层面构建专利价值评估体

系,可以有效提升专利价值评估

的质量和效率。

总评:44.0


该专利价值较低 (仅供参考)

        该专利的技术、经济、法律价值经系统自动评估后的总评得分较低,可以重点关注其公开的技术内容。
        本专利文献中包含 【1 个技术分类】,从一定程度上而言上述指标的数值越大可以反映出所述专利的技术保护及应用范围越广。 【被引用次数2 次】专利被引次数越多越能能够体现出该专利在相关技术领域研发中所发挥的基础性作用,代表着专利公开的内容有更多的产业利用价值。 【专利权的维持时间3 年】专利权的维持时间越长,其价值对于权利人而言越高。

技术价值    31.0

该指标主要从专利申请的著录信息、法律事件等内容中挖掘其技术价值,专利类型、独立权利要求数量、无效请求次数等内容均可反映出专利的技术性价值。 技术创新是专利申请的核心,若您需要进行技术借鉴或寻找可合作的项目,推荐您重点关注该指标。

部分指标包括:

授权周期(发明)

8 个月

独立权利要求数量

0 个

从属权利要求数量

0 个

说明书页数

2 页

实施例个数

0 个

发明人数量

1 个

被引用次数

2 次

引用文献数量

2 个

优先权个数

0 个

技术分类数量

1 个

无效请求次数

0 个

分案子案个数

0 个

同族专利数

0 个

专利获奖情况

保密专利的解密

经济价值    6.0

该指标主要指示了专利技术在商品化、产业化及市场化过程中可能带来的预期利益。 专利技术只有转化成生产力才能体现其经济价值,专利技术的许可、转让、质押次数等指标均是其经济价值的表征。 因此,若您希望找到行业内的运用广泛的热点专利技术及侵权诉讼中的涉案专利,推荐您重点关注该指标。

部分指标包括:

申请人数量

1

申请人类型

机关团体

许可备案

0 次

权利质押

0 次

权利转移

0 个

海关备案

法律价值    7.0

该指标主要从专利权的稳定性角度评议其价值。专利权是一种垄断权,但其在法律保护的期间和范围内才有效。 专利权的存续时间、当前的法律状态可反映出其法律价值。故而,若您准备找寻权属稳定且专利权人非常重视的专利技术,推荐您关注该指标。

部分指标包括:

存活期/维持时间

3

法律状态

无权-未缴年费