【中国实用新型】一种医用组合型万向螺丝刀

无权-期满终止 中国

申请号:
CN201220227263.2
专利权人:
上海市第六人民医院
授权公告日/公开日:
2013.01.23
专利有效期:
2012.05.21-2022.05.21
技术分类:
A61:医学或兽医学;卫生学
转化方式:
转让
价值度指数:
63.0分
价格:
面议
4110 0

发布人

上海市第六人民医院

联系人

13700000007
  • 专利信息&法律状态
  • 专利自评
  • 专利技术文档
  • 价值度指数
  • 发明人阵容

著录项

申请号
CN201220227263.2
申请日
20120521
公开/公告号
CN202682039U
公开/公告日
20130123
申请/专利权人
[上海市第六人民医院]
发明/设计人
[何能斌]
主分类号
A61B17/92
IPC分类号
C12N 9/0008(2013.01) C12N 9/16
CPC分类号
C12N 9/0008(2013.01) C12N 9/16(2013.01)
分案申请地址
国省代码
上海(31)
颁证日
G06T1/00
代理人
[竺路玲]

摘要

本实用新型的一种医用组合型万向螺丝刀,包括刀杆、万向节、组装部和替换刀头,所述万向节包括相互连接的主动轴和从动轴,所述刀杆的一端与所述主动轴连接,所述组装部的一端与所述从动轴连接,所述组装部的另一端设有凹槽,所述替换刀头包括相互连接的接驳件与刀头,所述接驳件上设有与所述组装部的凹槽相配合的凸起,所述替换刀头通过所述凸起和凹槽与所述组装部可拆连接。本实用新型结构简单,制作方便,可以随意替换刀头,刀头和刀杆可随意成角,方便在狭窄空间中操作,且能够提供强大扭力从而拧动螺钉,在医疗手术中使用能够减少手术时间、改善手术效果,提高手术质量。

法律状态

法律状态公告日 20220607
法律状态 专利权的终止
法律状态信息 专利权有效期届满
IPC(主分类):A61B 17/92
专利号:ZL2012202272632
申请日:20120521
授权公告日:20130123
终止日期:
法律状态公告日 20130123
法律状态 授权
法律状态信息 授权
暂无数据

权利要求

权利要求数量(9

独立权利要求数量(1

1.一种医用组合型万向螺丝刀,其特征在于,包括刀杆、万向节、组装部和替换刀头,所述万向节包括相互连接的主动轴和从动轴,所述刀杆的一端与所述主动轴连接,所述组装部包括依次相互连接的内套管、弹簧和外套管,所述内套管的一端与所述从动轴连接,所述内套管的另一端设有凹槽,所述外套管套设于所述内套管上,并可在弹簧的作用下在内套管上滑动,所述替换刀头包括相互连接的接驳件与刀头,所述接驳件上设有与所述组装部的凹槽相配合的凸起,所述替换刀头通过所述凸起和凹槽与所述组装部可拆连接。

2.如权利要求1所述的螺丝刀,其特征在于,所述凸起和凹槽的形状均为三菱柱形。

3.如权利要求1所述的螺丝刀,其特征在于,所述替换刀头的凸起上还设有环形凹槽,所述组装部还包括钢珠,所述内套管的凹槽壁上与所述环形凹槽相对应的位置设有漏斗状的通孔,所述通孔位于凹槽壁一端的孔径小于所述钢珠的孔径,所述通孔相对于凹槽壁的另一端的孔径大于所述钢珠的孔径,所述外套管的内壁上设有锁定凹槽,所述锁定凹槽的孔径大于所述钢珠的孔径,当所述弹簧处于压缩状态时,所述通孔和所述锁定凹槽配合形成漏斗状的开锁凹槽,所述开锁凹槽的深度大于所述钢珠的孔径,所述钢珠置于所述开锁凹槽内,当所述弹簧处于伸长状态时,所述通孔和所述锁定凹槽的位置不一致,所述钢珠置于所述通孔内。

4.如权利要求1所述的螺丝刀,其特征在于,所述万向节包括主动轴、星形套、小球、球形壳、从动轴和外罩,所述主动轴与所述星形套连接,所述星形套设于所述球形壳内,所述星形套的外表面和球形壳的内表面设有相对应的弧形凹槽,所述小球置于所述弧形凹槽内,所述球形壳与所述从动轴连接,所述主动轴和从动轴与所述外罩连接。

5.如权利要求4所述的螺丝刀,其特征在于,所述万向节还包括球笼保持架,所述球笼保持架设于星形套和球形壳之间,所述球笼保持架上设有固定孔,所述小球置于所述固定孔中。

6.如权利要求1所述的螺丝刀,其特征在于,所述刀杆的另一端还设有手柄。

7.如权利要求6所述的螺丝刀,其特征在于,所述手柄的外表面设有防滑磨砂层。

8.如权利要求6所述的螺丝刀,其特征在于,还包括扭力杆,所述手柄上沿垂直于刀杆延伸方向上还设有扭力孔,所述扭力杆插入所述扭力孔中。

9.如权利要求1所述的螺丝刀,其特征在于,所述刀头的头型为一字、十字、米字、星型、方头、六角头或Y型。

1.一种医用组合型万向螺丝刀,其特征在于,包括刀杆、万向节、组装部和替换刀头,所述万向节包括相互连接的主动轴和从动轴,所述刀杆的一端与所述主动轴连接,所述组装部包括依次相互连接的内套管、弹簧和外套管,所述内套管的一端与所述从动轴连接,所述内套管的另一端设有凹槽,所述外套管套设于所述内套管上,并可在弹簧的作用下在内套管上滑动,所述替换刀头包括相互连接的接驳件与刀头,所述接驳件上设有与所述组装部的凹槽相配合的凸起,所述替换刀头通过所述凸起和凹槽与所述组装部可拆连接。

2.如权利要求1所述的螺丝刀,其特征在于,所述凸起和凹槽的形状均为三菱柱形。

3.如权利要求1所述的螺丝刀,其特征在于,所述替换刀头的凸起上还设有环形凹槽,所述组装部还包括钢珠,所述内套管的凹槽壁上与所述环形凹槽相对应的位置设有漏斗状的通孔,所述通孔位于凹槽壁一端的孔径小于所述钢珠的孔径,所述通孔相对于凹槽壁的另一端的孔径大于所述钢珠的孔径,所述外套管的内壁上设有锁定凹槽,所述锁定凹槽的孔径大于所述钢珠的孔径,当所述弹簧处于压缩状态时,所述通孔和所述锁定凹槽配合形成漏斗状的开锁凹槽,所述开锁凹槽的深度大于所述钢珠的孔径,所述钢珠置于所述开锁凹槽内,当所述弹簧处于伸长状态时,所述通孔和所述锁定凹槽的位置不一致,所述钢珠置于所述通孔内。

4.如权利要求1所述的螺丝刀,其特征在于,所述万向节包括主动轴、星形套、小球、球形壳、从动轴和外罩,所述主动轴与所述星形套连接,所述星形套设于所述球形壳内,所述星形套的外表面和球形壳的内表面设有相对应的弧形凹槽,所述小球置于所述弧形凹槽内,所述球形壳与所述从动轴连接,所述主动轴和从动轴与所述外罩连接。

5.如权利要求4所述的螺丝刀,其特征在于,所述万向节还包括球笼保持架,所述球笼保持架设于星形套和球形壳之间,所述球笼保持架上设有固定孔,所述小球置于所述固定孔中。

6.如权利要求1所述的螺丝刀,其特征在于,所述刀杆的另一端还设有手柄。

7.如权利要求6所述的螺丝刀,其特征在于,所述手柄的外表面设有防滑磨砂层。

8.如权利要求6所述的螺丝刀,其特征在于,还包括扭力杆,所述手柄上沿垂直于刀杆延伸方向上还设有扭力孔,所述扭力杆插入所述扭力孔中。

9.如权利要求1所述的螺丝刀,其特征在于,所述刀头的头型为一字、十字、米字、星型、方头、六角头或Y型。

说明书

技术领域

本实用新型属于医疗器械领域,涉及一种万向螺丝刀,尤其涉及一种医用组合型万向螺丝刀。

背景技术

目前,公知的螺丝刀是由手柄、刀杆和刀头三部分组成。医用螺丝刀主用用于临床夹板固定术。在临床实践中发现,行内固定取出术时,对应于患者体内不同公司不同型号的内植物,往往需要准备不同尺寸及型号的螺丝刀。一旦型号不匹配就将面临无法处理螺钉,而必须等待重新消毒正确型号螺丝刀的尴尬局面。不但延长了手术时间,还增加了患者感染、出血多的风险。

同时,近年来随着微创手术的兴起,往往会出现内植物置入后为了有足够的空间操作螺丝刀,手术切口却不得不有所延长的情况。其后再行内固定取出术时,由于软组织疤痕等原因,经先前微创手术的切口也无法操作螺丝刀,最终不得不再延长切口。这些情况都违背了当初微创的初衷。并且,有些内植物由于在人体中放置时间过长,螺钉与钉孔结合过紧,单纯持握手柄时旋转扭距过小,最终无法产生足够的扭力拧动螺钉。

万向节指的是利用球型连接实现不同轴的动力传送的机械结构,是实现变角度动力传递的机件,用于需要改变传动轴线方向的位置。万向节的结构和作用有点像人体四肢上的关节,它允许被连接的零件之间的夹角在一定范围内变化。将万向节应用于螺丝刀有利于在狭窄的空间内使用螺丝刀。

经对现有技术文献的检索发现,专利名称:“ 万向螺丝刀”,专利号:CN201020683381.5公开了一种万向螺丝刀。其主要结构是:具有活动刀头;活动刀头可以经刀头连接器与固定刀头向连接。其缺陷是:需要选择合适的刀头连接器,才能改变活动刀头与固定刀头的轴向夹角。

因此本领域的技术人员致力于开发一种能随意替换刀头且万向工作的医用组合型万向螺丝刀。

发明内容

鉴于上述现有技术中的问题,本实用新型所要解决的技术问题是现有的技术中缺乏可随意替换刀头的万向螺丝刀。

本实用新型的一种医用组合型万向螺丝刀,包括刀杆、万向节、组装部和替换刀头,所述万向节包括相互连接的主动轴和从动轴,所述刀杆的一端与所述主动轴连接,所述组装部包括依次相互连接的内套管、弹簧和外套管,所述内套管的一端与所述从动轴连接,所述内套管的另一端设有凹槽,所述外套管套设于所述内套管上,并可在弹簧的作用下在内套管上滑动,所述替换刀头包括相互连接的接驳件与刀头,所述接驳件上设有与所述组装部的凹槽相配合的凸起,所述替换刀头通过所述凸起和凹槽与所述组装部可拆连接。

在本实用新型的一个较佳实施方式中,所述凸起和凹槽的形状均为三菱柱形。

在本实用新型的另一较佳实施方式中,所述替换刀头的凸起上还设有环形凹槽,所述组装部还包括钢珠,所述内套管的凹槽壁上与所述环形凹槽相对应的位置设有漏斗状的通孔,所述通孔位于凹槽壁一端的孔径小于所述钢珠的孔径,所述通孔相对于凹槽壁的另一端的孔径大于所述钢珠的孔径,所述外套管的内壁上设有锁定凹槽,所述锁定凹槽的孔径大于所述钢珠的孔径,当所述弹簧处于压缩状态时,所述通孔和所述锁定凹槽配合形成漏斗状的开锁凹槽,所述开锁凹槽的深度大于所述钢珠的孔径,所述钢珠置于所述开锁凹槽内,当所述弹簧处于伸长状态时,所述通孔和所述锁定凹槽的位置不一致,所述钢珠置于所述通孔内。

在本实用新型的另一较佳实施方式中,所述万向节包括主动轴、星形套、小球、球形壳、从动轴和外罩,所述主动轴与所述星形套连接,所述星形套设于所述球形壳内,所述星形套的外表面和球形壳的内表面设有相对应的弧形凹槽,所述小球置于所述弧形凹槽内,所述球形壳与所述从动轴连接,所述主动轴和从动轴与所述外罩连接。

在本实用新型的另一较佳实施方式中,所述万向节还包括球笼保持架,所述球笼保持架设于星形套和球形壳之间,所述球笼保持架上设有固定孔,所述小球置于所述固定孔中。

在本实用新型的另一较佳实施方式中,所述刀杆的另一端还设有手柄。

在本实用新型的另一较佳实施方式中,所述手柄的外表面设有防滑磨砂层。

在本实用新型的另一较佳实施方式中,还包括扭力杆,所述手柄上沿垂直于刀杆延伸方向上还设有扭力孔,所述扭力杆插入所述扭力孔中。

在本实用新型的另一较佳实施方式中,所述刀头的头型为一字、十字、米字、星型、方头、六角头或Y型。

本实用新型结构简单,制作方便,可以随意替换刀头,刀头和刀杆可随意成角,方便在狭窄空间中操作,且能够提供强大扭力从而拧动螺钉,在医疗手术中使用能够减少手术时间、改善手术效果,提高手术质量。

附图说明

图1是本实用新型的实施例的结构示意图;

图2a是本实用新型的实施例的万向节的拆解示意图;

图2b是本实用新型的实施例的万向节的两轴平行示意图;

图2c是本实用新型的实施例的万向节的两轴交角示意图;

图3a是本实用新型的实施例的组装部的锁定状态示意图;

图3b是本实用新型的实施例的组装部的解锁状态示意图。

具体实施方式

以下将结合附图和实施例对本实用新型做具体阐释。

如图1所示的本实用新型的实施例的一种医用组合型万向螺丝刀,包括刀杆2、万向节3、组装部4和替换刀头5。

如图2a中所示,万向节包括相互连接的主动轴30和从动轴38;刀杆的一端与所述主动轴30连接,所述组装部的一端与所述从动轴38连接,如图1中所示,所述组装部4的另一端设有凹槽,所述替换刀头5包括相互连接的接驳件51与刀头52,所述接驳件51上设有与所述组装部的凹槽相配合的凸起511,所述替换刀头通过所述凸起和凹槽与所述组装部可拆连接。

本实用新型结构简单,制作方便,可以随意替换刀头,刀头和刀杆可随意成角,方便在狭窄空间中操作,在医疗手术中使用能够减少手术时间、改善手术效果,提高手术质量。

如图1所示,在本实用新型的实施例中包括:手柄1、刀杆2、万向节3、组装部4、替换刀头5、扭力杆6。手柄1与刀杆2固接、刀杆2与万向节3固接、万向节3与组装部4固接、替换刀头5与组装部4可拆连接、扭力杆6插入手柄1的一端与手柄可拆连接,从而组成医用组合型万向螺丝刀。

其中的手柄1,其外形设计符合人体工程学,持握舒适;其上设有12块防滑磨砂层11,用于增加摩擦力;其上沿垂直于刀杆延伸方向上还设有扭力孔12,用于插入扭力杆6,从而提供更大扭力。

结合图1和图2a,其中的刀杆2,其形状可为圆柱体形,一端与万向节3的主动轴30固接,另一端与手柄1固接。

另如图1所示,其中的替换刀头5,包括接驳件51与刀头52,其中接驳件51一端与组装部4可拆连接,另一端与刀头52固接。

如图3a和图3b所示,所述的组装部4包括:外套管41、内套管42、螺盖43、弹簧44、通孔45、锁定凹槽46和钢珠47,其中:内套管42、弹簧44和外套管41依次相互连接,内套管42的一端与万向节的从动轴连接,内套管42的另一端设有凹槽,外套管41套设于内套管42上,并可在弹簧44的作用下在内套管42上滑动。如图3a和3b中所示,螺盖43固定设置于内套管42的上端并卡接于外套管41的内侧壁以对抗弹簧44弹力,防止外套管41向下脱出;弹簧44设置于内套管42和外套管41之间,其两端分别与内套管42和外套管41相连接;通孔45设置于内套管42上,为漏斗状结构,相对于凹槽壁的另一端的入口孔径大于钢珠47的外径,位于凹槽壁一端的出口孔径小于钢珠47的外径,防止钢珠47向内脱出;锁定凹槽46设置于外套管41的内壁,其孔径大于或等于钢珠47的外径;钢珠47只能在通孔45以及通孔45与锁定凹槽46所配合形成漏斗状的开锁凹槽内活动。

如图1中所示,接驳件51可为倒T字形结构,其与组装部连接的一端包括三棱柱形的凸起511,和圆柱体结构513;该圆柱体结构513上设有环形凹槽512。并结合图3a和图3b,其中的通孔45为漏斗状结构,其通孔45内放置钢珠47,通孔位于凹槽壁的一端的出口相对应于接驳件的环形凹槽512;通孔45的出口孔径小于钢珠47的外径,钢珠47外露于通孔45的部分与接驳件的环形凹槽512卡接。

如图3a和图3b中所示,并结合图1,由于弹簧44弹力作用,外套管41下移,钢珠47顺着斜面滑动自动进入内套管42通孔45从而维持锁定状态;当手动向上移动外套管41,使内套管42通孔45与外套管41锁定凹槽46结合,钢珠47活动空间变大,当钢珠47顶入通孔45与锁定凹槽46所配合形成漏斗状的开锁凹槽时,钢珠47与接驳件51的环形凹槽512分离,从而进入解锁状态,此时可以拔除接驳件51;由于弹簧44的存在,外套管会自动下移,钢珠47无法维持顶入开锁凹槽内这个状态,会自动进入内套管42通孔45,即组装部4通常维持锁定状态,要进入解锁状态,则需手动向上移动外套管41,若松手组装部4则会自动恢复锁定状态。

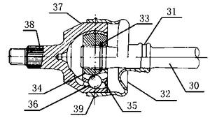
如图2a和图2b所示,万向节3为球笼式万向节,包括:主动轴30、小钢带箍31、外罩32、卡环33、星形套34(内滚道)、球笼保持架35、小球36、球形壳37(外滚道)、从动轴38、大钢带箍39,并结合图1,其中主动轴30的一端与刀杆部2固接,另一端穿过小钢带箍31、外罩32、卡环33与星形套34(内滚道)以内花键连接;星形套34内侧以内花键与主动轴30连接,其外表面有六条弧形凹槽,形成内滚道;球形壳37的内表面有相应的六条弧形凹槽,形成外滚道,其下与从动轴38固接;六个小球36分别装在六组内外滚道所对出的空间里,并被球笼保持架35限定于同一平面内;小钢带箍31将外罩32固定于主动轴30上;卡环33防止主动轴30从外罩32中向上脱出;大钢带箍39将外罩32固定于球形壳37上;从动轴38与组装部4固接;动力由主动轴30经小球36传到球形壳37输出。

如图2c所示,主动轴30与从动轴38呈β交角时,主动轴30与从动轴38的轴线相交于O点;球笼保持架35中相对的两个小球36中心连线正好通过O点,将主动轴30与从动轴38夹角平分。假设主动轴30以ω1的角速度转动,则小球36中心C的瞬时速度ν=ω1L1。小球36通过动力传导带给从动轴38的角速度ω2=ν/L2=ω1L1/L2。因∠COA=∠COB=α/2,所以L1=L2,即ω1=ω2,动力由主动轴30经小球36传到球形壳37输出时,能使两轴转速始终保持一致。

在本实施例的万向节3,其主动轴30与从动轴38最大交角为42°,此范围内可随意变动交角的角度;在最大交角范围内两轴角速度始终保持一致;工作时六个小球36同时传力,承载能力强、磨损小、寿命长。

此外,在本实用新型的实施例中,刀头为一组具有不同头型的系列刀头,其中刀头的头型可以分为一字、十字、米字、星型、方头、六角头、Y型头部等等,选取不同头型的刀头与组装部结合就可处理不同类型的螺钉。

如图1中所示,扭力杆6的尺寸与手柄1的扭力孔12相匹配,可插入;扭力杆6一端可有突节61,可顶在扭力孔12上,起杠杆的支点作用,从而提供更大扭力。

本实用新型在手术中的应用安全、有效,可以随意替换刀头来处理不同型号的螺钉,避免了术中发现型号不匹配而导致的必须等待重新消毒正确型号螺丝刀的尴尬局面;刀头和刀杆可随意成角,方便在狭窄空间中操作,避免了过度延长切口,从而实现微创的目的;当螺钉与钉孔结合过紧,单纯持握手柄旋转扭距过小时,可以使用扭力杆提供强大扭力从而拧动螺钉;动力经过机械传动后,手柄与刀头的转速始终保持一致,从而提高手术质量,改善手术效果,缩短手术时间,减少患者感染、出血多的风险。

以上对本实用新型的具体实施例进行了详细描述,但其只作为范例,本实用新型并不限制于以上描述的具体实施例。对于本领域技术人员而言,任何对该实用进行的等同修改和替代也都在本实用新型的范畴之中。因此,在不脱离本实用新型的精神和范围下所作的均等变换和修改,都应涵盖在本实用新型的范围内。

价值度评估

技术价值

经济价值

法律价值

0 0 0

63.0

0 50 75 100
0~50 50~75 75~100 价值较低 中等价值 价值较高

专利价值度是通过科学的评估模

型对专利价值进行量化的结果,

基于专利大数据针对专利总体特

征指标利用计算机自动化技术对

待评估专利进行高效、智能化的

分析,从技术、经济和法律价值

三个层面构建专利价值评估体

系,可以有效提升专利价值评估

的质量和效率。

总评:63.0


该专利价值中等 (仅供参考)

        该专利的技术、经济、法律价值经系统自动评估后的总评得分处于平均水平,可以重点研究利用其技术价值,根据法律价值的评估结果选择合适的使用借鉴方式。
        本专利文献中包含【3 个技术分类】,从一定程度上而言上述指标的数值越大可以反映出所述专利的技术保护及应用范围越广。 【被引用次数3 次】专利被引次数越多越能能够体现出该专利在相关技术领域研发中所发挥的基础性作用,代表着专利公开的内容有更多的产业利用价值。 【专利权的维持时间10 年】专利权的维持时间越长,其价值对于权利人而言越高。

技术价值    32.0

该指标主要从专利申请的著录信息、法律事件等内容中挖掘其技术价值,专利类型、独立权利要求数量、无效请求次数等内容均可反映出专利的技术性价值。 技术创新是专利申请的核心,若您需要进行技术借鉴或寻找可合作的项目,推荐您重点关注该指标。

部分指标包括:

授权周期(发明)

8 个月

独立权利要求数量

0 个

从属权利要求数量

0 个

说明书页数

4 页

实施例个数

0 个

发明人数量

1 个

被引用次数

3 次

引用文献数量

3 个

优先权个数

0 个

技术分类数量

3 个

无效请求次数

0 个

分案子案个数

0 个

同族专利数

0 个

专利获奖情况

保密专利的解密

经济价值    6.0

该指标主要指示了专利技术在商品化、产业化及市场化过程中可能带来的预期利益。 专利技术只有转化成生产力才能体现其经济价值,专利技术的许可、转让、质押次数等指标均是其经济价值的表征。 因此,若您希望找到行业内的运用广泛的热点专利技术及侵权诉讼中的涉案专利,推荐您重点关注该指标。

部分指标包括:

申请人数量

1

申请人类型

机关团体

许可备案

0 次

权利质押

0 次

权利转移

0 个

海关备案

法律价值    25.0

该指标主要从专利权的稳定性角度评议其价值。专利权是一种垄断权,但其在法律保护的期间和范围内才有效。 专利权的存续时间、当前的法律状态可反映出其法律价值。故而,若您准备找寻权属稳定且专利权人非常重视的专利技术,推荐您关注该指标。

部分指标包括:

存活期/维持时间

10

法律状态

无权-期满终止