【中国发明,中国发明授权】一种快速换靶单面往复连续高效镀膜磁控溅射卷绕镀膜机

无权-未缴年费 中国

申请号:
CN201510066781.9
专利权人:
常州工学院
授权公告日/公开日:
2017.01.25
专利有效期:
2015.02.09-2035.02.09
技术分类:
C23:对金属材料的镀覆;用金属材料对材料的镀覆;表面化学处理;金属材料的扩散处理;真空蒸发法、溅射法、离子注入法或化学气相沉积法的一般镀覆;金属材料腐蚀或积垢的一般抑制〔2〕
转化方式:
转让
价值度指数:
54.0分
价格:
面议
4750 0

发布人

朱锡芳

联系人朱锡芳

13011000141
  • 专利信息&法律状态
  • 专利自评
  • 专利技术文档
  • 价值度指数
  • 发明人阵容

著录项

申请号
CN201510066781.9
申请日
20150209
公开/公告号
CN104611681A
公开/公告日
20150513
申请/专利权人
[常州工学院]
发明/设计人
[朱锡芳, 陈功, 徐安成, 许清泉, 杨辉]
主分类号
C23C14/56
IPC分类号
C12N 9/0008(2013.01) C12N 9/16
CPC分类号
C12N 9/0008(2013.01) C12N 9/16(2013.01)
分案申请地址
国省代码
江苏(32)
颁证日
G06T1/00
代理人
[高桂珍]

摘要

本发明公开了一种快速换靶单面往复连续高效镀膜磁控溅射卷绕镀膜机,属于镀膜设备领域。本发明包括真空室、开卷机构、收卷机构、冷辊、纠偏装置、两个或两个以上的回转换靶装置、以及与每个回转换靶装置位置相对应的两面开口的阴极小室,开卷机构和收卷机构处各设有一组纠偏装置;阴极小室分布于冷辊包覆有基带的圆周面上,且每组回转换靶装置及与其对应的阴极小室均与冷辊设于同一轴线上;开卷机构和收卷机构带动基带实现往复运动。本发明在不打开镀膜真空室的情况下即可及时快速更换阴极靶,并利用基材往复运动实现多层膜层的镀制;一次镀膜行程可以完成多层膜层的镀制,大大提高了镀膜效率,尤其适合于大批量高效率生产。

法律状态

法律状态公告日 20240220
法律状态 专利权的终止
法律状态信息 未缴年费专利权终止
IPC(主分类):C23C 14/56
专利号:ZL2015100667819
申请日:20150209
授权公告日:20170125
终止日期:
法律状态公告日 20220121
法律状态 专利申请权、专利权的转移
法律状态信息 专利权的转移
IPC(主分类):C23C 14/56
专利号:ZL2015100667819
登记生效日:20220110
变更事项:专利权人
变更前权利人:常州工学院
变更后权利人:常州常工院技术转移有限公司
变更事项:地址
变更前权利人:213022 江苏省常州市新北区巫山路1号
变更后权利人:213031 江苏省常州市新北区辽河路666号
法律状态公告日 20170125
法律状态 授权
法律状态信息 授权
法律状态公告日 20150610
法律状态 实质审查的生效
法律状态信息 实质审查的生效
IPC(主分类):C23C 14/56
申请日:20150209
法律状态公告日 20150513
法律状态 公开
法律状态信息 公开
事务数据公告日 20220121
事务数据类型 专利申请权、专利权的转移
转让详情 专利权的转移
IPC(主分类):C23C 14/56
专利号:ZL2015100667819
登记生效日:20220110
变更事项:专利权人
变更前权利人:常州工学院
变更后权利人:常州常工院技术转移有限公司
变更事项:地址
变更前权利人:213022 江苏省常州市新北区巫山路1号
变更后权利人:213031 江苏省常州市新北区辽河路666号
暂无数据

权利要求

权利要求数量(9

独立权利要求数量(1

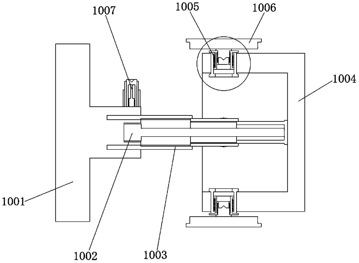
1.一种快速换靶单面往复连续高效镀膜磁控溅射卷绕镀膜机,包括真空室(1)、开卷室 (2)、设于开卷室(2)内的开卷机构(201)、收卷室(9)、设于收卷室(9)内的收卷机构 (901)和设于真空室(1)内的冷辊(8),其特征在于:还包括纠偏装置(3)、两个或两个 以上的回转换靶装置(10)、以及与每个回转换靶装置(10)位置相对应的两面开口的阴极小 室(11),所述的开卷室(2)与真空室(1)之间、收卷室(9)与真空室(1)之间均设有闸 板阀(4),所述的开卷机构(201)和收卷机构(901)之间的基带(5)经过换向辊(7)换 向后包覆在冷辊(8)上,所述的开卷机构(201)和收卷机构(901)处各设有一组纠偏装置 (3),且所述的纠偏装置(3)位于开卷室(2)和收卷室(9)内;所述的阴极小室(11)分 布于冷辊(8)包覆有基带(5)的圆周面上,且每组回转换靶装置(10)及与其对应的阴极 小室(11)均与冷辊(8)设于同一轴线上;所述的回转换靶装置(10)包括机座(1001)、 回转盘(1004)、驱动回转盘(1004)转动的回转机构、驱动回转盘(1004)沿轴向伸缩的轴 向伸缩机构(1002)、安装于回转盘(1004)上的两个或两个以上的伸缩轴套(1005)、安装 于伸缩轴套(1005)上的用于安装靶芯(12)的极靶座板(1006)和安装于机座(1001)上 且与阴极小室(11)的开口方向相对的径向伸缩机构(1007),所述的回转盘(1004)为设有 内腔的桶状结构,所述的伸缩轴套(1005)安装于回转盘(1004)的侧壁上,当轴向伸缩机 构(1002)收缩后,所述的径向伸缩机构(1007)刚好与一个伸缩轴套(1005)相对应,用 于将极靶座板(1006)向外顶出并嵌入阴极小室(11)内;所述的开卷机构(201)和收卷机 构(901)带动基带(5)实现往复运动。

2.根据权利要求1所述的一种快速换靶单面往复连续高效镀膜磁控溅射卷绕镀膜机,其 特征在于:所述的伸缩轴套(1005)包括内轴(1008)、中间轴套(1009)和外轴套(1010), 所述的内轴(1008)设于中间轴套(1009)内,且内轴(1008)与中间轴套(1009)之间设 有第一压缩弹簧(1011),所述的中间轴套(1009)设于外轴套(1010)内,且中间轴套(1009) 与外轴套(1010)之间设有第二压缩弹簧(1012),所述的外轴套(1010)固定安装于回转盘 (1004)上。

3.根据权利要求2所述的一种快速换靶单面往复连续高效镀膜磁控溅射卷绕镀膜机,其 特征在于:所述的轴向伸缩机构(1002)上还设置有三节筒式导轨(1003)。

4.根据权利要求3所述的一种快速换靶单面往复连续高效镀膜磁控溅射卷绕镀膜机,其 特征在于:所述的轴向伸缩机构(1002)和径向伸缩机构(1007)均为电动推杆,所述的回 转机构为步进电机。

5.根据权利要求1至4任意一项所述的一种快速换靶单面往复连续高效镀膜磁控溅射卷 绕镀膜机,其特征在于:所述的回转换靶装置(10)及与其对应设置的阴极小室(11)设有 3组。

6.根据权利要求5所述的一种快速换靶单面往复连续高效镀膜磁控溅射卷绕镀膜机,其 特征在于:相邻两个所述的阴极小室(11)之间设有气氛隔离板(13)。

7.根据权利要求6所述的一种快速换靶单面往复连续高效镀膜磁控溅射卷绕镀膜机,其 特征在于:所述的纠偏装置(3)为超声波纠偏系统或光电纠偏系统。

8.根据权利要求7所述的一种快速换靶单面往复连续高效镀膜磁控溅射卷绕镀膜机,其 特征在于:所述的开卷机构(201)与冷辊(8)之间还设置有前处理装置(6),所述的前处 理装置(6)包括离子源预处理机构,所述的离子源预处理机构设置于真空室(1)内,用于 清洗基带(5)表面的污物。

9.根据权利要求8所述的一种快速换靶单面往复连续高效镀膜磁控溅射卷绕镀膜机,其 特征在于:还包括冷井盘管深冷机构,所述的冷井盘管深冷机构设置于真空室(1)内,用于 冷凝对基带(5)前处理过程中释放的大量水汽。

1.一种快速换靶单面往复连续高效镀膜磁控溅射卷绕镀膜机,包括真空室(1)、开卷室(2)、设于开卷室(2)内的开卷机构(201)、收卷室(9)、设于收卷室(9)内的收卷机构(901)和设于真空室(1)内的冷辊(8),其特征在于:还包括纠偏装置(3)、两个或两个以上的回转换靶装置(10)、以及与每个回转换靶装置(10)位置相对应的两面开口的阴极小室(11),所述的开卷室(2)与真空室(1)之间、收卷室(9)与真空室(1)之间均设有闸板阀(4),所述的开卷机构(201)和收卷机构(901)之间的基带(5)经过换向辊(7)换向后包覆在冷辊(8)上,所述的开卷机构(201)和收卷机构(901)处各设有一组纠偏装置(3),且所述的纠偏装置(3)位于开卷室(2)和收卷室(9)内;所述的阴极小室(11)分布于冷辊(8)包覆有基带(5)的圆周面上,且每组回转换靶装置(10)及与其对应的阴极小室(11)均与冷辊(8)设于同一轴线上;所述的回转换靶装置(10)包括机座(1001)、回转盘(1004)、驱动回转盘(1004)转动的回转机构、驱动回转盘(1004)沿轴向伸缩的轴向伸缩机构(1002)、安装于回转盘(1004)上的两个或两个以上的伸缩轴套(1005)、安装于伸缩轴套(1005)上的用于安装靶芯(12)的极靶座板(1006)和安装于机座(1001)上且与阴极小室(11)的开口方向相对的径向伸缩机构(1007),所述的回转盘(1004)为设有内腔的桶状结构,所述的伸缩轴套(1005)安装于回转盘(1004)的侧壁上,当轴向伸缩机构(1002)收缩后,所述的径向伸缩机构(1007)刚好与一个伸缩轴套(1005)相对应,用于将极靶座板(1006)向外顶出并嵌入阴极小室(11)内;所述的开卷机构(201)和收卷机构(901)带动基带(5)实现往复运动。

2.根据权利要求1所述的一种快速换靶单面往复连续高效镀膜磁控溅射卷绕镀膜机,其特征在于:所述的伸缩轴套(1005)包括内轴(1008)、中间轴套(1009)和外轴套(1010),所述的内轴(1008)设于中间轴套(1009)内,且内轴(1008)与中间轴套(1009)之间设有第一压缩弹簧(1011),所述的中间轴套(1009)设于外轴套(1010)内,且中间轴套(1009)与外轴套(1010)之间设有第二压缩弹簧(1012),所述的外轴套(1010)固定安装于回转盘(1004)上。

3.根据权利要求2所述的一种快速换靶单面往复连续高效镀膜磁控溅射卷绕镀膜机,其特征在于:所述的轴向伸缩机构(1002)上还设置有三节筒式导轨(1003)。

4.根据权利要求3所述的一种快速换靶单面往复连续高效镀膜磁控溅射卷绕镀膜机,其特征在于:所述的轴向伸缩机构(1002)和径向伸缩机构(1007)均为电动推杆,所述的回转机构为步进电机。

5.根据权利要求1至4任意一项所述的一种快速换靶单面往复连续高效镀膜磁控溅射卷绕镀膜机,其特征在于:所述的回转换靶装置(10)及与其对应设置的阴极小室(11)设有3组。

6.根据权利要求5所述的一种快速换靶单面往复连续高效镀膜磁控溅射卷绕镀膜机,其特征在于:相邻两个所述的阴极小室(11)之间设有气氛隔离板(13)。

7.根据权利要求6所述的一种快速换靶单面往复连续高效镀膜磁控溅射卷绕镀膜机,其特征在于:所述的纠偏装置(3)为超声波纠偏系统或光电纠偏系统。

8.根据权利要求7所述的一种快速换靶单面往复连续高效镀膜磁控溅射卷绕镀膜机,其特征在于:所述的开卷机构(201)与冷辊(8)之间还设置有前处理装置(6),所述的前处理装置(6)包括离子源预处理机构,所述的离子源预处理机构设置于真空室(1)内,用于清洗基带(5)表面的污物。

9.根据权利要求8所述的一种快速换靶单面往复连续高效镀膜磁控溅射卷绕镀膜机,其特征在于:还包括冷井盘管深冷机构,所述的冷井盘管深冷机构设置于真空室(1)内,用于冷凝对基带(5)前处理过程中释放的大量水汽。

说明书

技术领域

本发明涉及一种真空镀膜机,更具体地说,涉及一种快速换靶单面往复连续高效镀膜磁控溅射卷绕镀膜机。

背景技术

真空卷绕镀膜技术就是在真空室内通过热蒸发或者磁控溅射等方法在卷料基材表面制备一层或者多层具有一定功能的薄膜的技术。真空卷绕镀膜设备主要有以下特点:其一、被镀基材为柔性基材,即具有可卷绕性;其二、镀膜过程具有连续性,即在一个工作周期内镀膜是连续进行的;其三、镀膜过程在高真空环境中进行。卷绕镀膜机在放卷和收卷过程中,基材表面被镀上薄膜,镀膜的结构就是真空卷绕镀膜设备的工作部,它位于基材的收放卷之间,工作部的工作原理可以是电阻蒸发、感应蒸发、电子束蒸发、磁控溅射或者是其它真空镀膜方法中的任意一种。磁控溅射的工作过程是电子在电场的作用下加速飞向基材薄膜的过程中与溅射气体氩气碰撞,电离出大量的氩离子和电子,电子飞向基材薄膜,在此过程中不断地与氩原子碰撞,产生更多的氩原子和电子;氩离子在电场的作用下加速轰击靶材,溅射出大量的靶材原子,呈中性的靶材原子(或分子)沉积在基材薄膜表面成膜。

柔性基材广泛用于有机半导体工艺、透明电极以及触摸屏当中。近年来随着对柔性基底镀膜材料的广泛需求和柔性基材上磁控溅射技术本身的飞速发展,各种高性能光学膜在大面积柔性基底上镀制成功。由于柔性基材具有连续生产简单、容易运输、可方便裁切成任意形状、可弯曲包裹等优势一直是磁控溅射技术发展的一个重要方向。因此,在塑料薄膜上镀功能膜多采用卷绕镀膜方式,而要在塑料薄膜上镀功能较好的功能膜,如在聚酯膜上镀功能较好的低反射膜(low-E膜),最少的双银结构膜也需要镀9层以上的膜层,若镀可见光透过率大于85%、电阻小于1Ω/m2的电磁屏蔽膜(EMI膜),则要镀四银结构膜,即17层膜层。镀每一层都要配置一套阴极及靶芯,而传统的卷绕镀膜机采用单滚整体式镀膜,即在一个镀膜真空室内安放一个冷辊,2~3个阴极、靶芯及卷材放卷机构、收卷机构,由于结构限制原因,不能在圆周排布多至4组以上的阴极,不能适应一个镀层就可以镀4层以上不同功能的膜层,即使在一个镀膜室内安放两个冷辊,4~6个阴极及靶芯,也排布不下17个阴极及靶位。为达到镀完17层膜的目的,按传统方式设计,需要至少3个冷辊,通水、通电的管线多,产生的气体放气量大,不利于真空泵经济运行,因此传统的镀膜机不能适应一个镀层就可以镀4层以上的镀膜,生产不出膜层多、功能好的功能性塑料膜层。一般情况下多个极靶布置的状态下在加工状态各阴极小室之间还存在相互之间的工艺气体的渗漏(5%~20%),使加工得到的镀膜达不到工艺的要求。

在对阴极溅射成膜装置中,卷绕式真空镀膜设备以其可以连续生产而明显的提高了成膜的效率,然而,现有的卷绕式真空镀膜设备中对于各个用来溅射成膜阴极小室的安装数量有限,镀多层介质膜需要反复换靶材,每次换靶材后又需要再次抽真空,所需时间较长,操作繁琐,严重影响了镀膜效率,且浪费大量能源;另外,现有的卷绕式真空镀膜设备往往需要和清洁装置、加热装置、放卷和收卷机构配套使用形成生产线,这样会造成设备多、占用产地大的问题。有鉴于此,如何设计一种仅用单一的真空镀膜设备就能高效率连续溅射多层功能膜成为有待解决的技术问题。

发明内容

1.发明要解决的技术问题

本发明的目的在于克服现有镀膜机的上述不足,提供一种快速换靶单面往复连续高效镀膜磁控溅射卷绕镀膜机,采用本发明的技术方案,在不打开镀膜真空室的情况下即可及时快速更换阴极靶,并利用基材往复运动实现多层膜层的镀制,简化了电气控制装置及程序;一次镀膜行程可以完成多层膜层的镀制,大大提高了镀膜机镀多层功能膜的效率,且镀膜精度高;同时,设备结构紧凑,占地空间小,适合于在基带上镀多层功能膜的大批量高效率生产。

2.技术方案

为达到上述目的,本发明提供的技术方案为:

本发明的一种快速换靶单面往复连续高效镀膜磁控溅射卷绕镀膜机,包括真空室、开卷室、设于开卷室内的开卷机构、收卷室、设于收卷室内的收卷机构和设于真空室内的冷辊,还包括纠偏装置、两个或两个以上的回转换靶装置、以及与每个回转换靶装置位置相对应的两面开口的阴极小室,所述的开卷室与真空室之间、收卷室与真空室之间均设有闸板阀,所述的开卷机构和收卷机构之间的基带经过换向辊换向后包覆在冷辊上,所述的开卷机构和收卷机构处各设有一组纠偏装置,且所述的纠偏装置位于开卷室和收卷室内;所述的阴极小室分布于冷辊包覆有基带的圆周面上,且每组回转换靶装置及与其对应的阴极小室均与冷辊设于同一轴线上;所述的回转换靶装置包括机座、回转盘、驱动回转盘转动的回转机构、驱动回转盘沿轴向伸缩的轴向伸缩机构、安装于回转盘上的两个或两个以上的伸缩轴套、安装于伸缩轴套上的用于安装靶芯的极靶座板和安装于机座上且与阴极小室的开口方向相对的径向伸缩机构,所述的回转盘为设有内腔的桶状结构,所述的伸缩轴套安装于回转盘的侧壁上,当轴向伸缩机构收缩后,所述的径向伸缩机构刚好与一个伸缩轴套相对应,用于将极靶座板向外顶出并嵌入阴极小室内;所述的开卷机构和收卷机构带动基带实现往复运动。

更进一步地,所述的伸缩轴套包括内轴、中间轴套和外轴套,所述的内轴设于中间轴套内,且内轴与中间轴套之间设有第一压缩弹簧,所述的中间轴套设于外轴套内,且中间轴套与外轴套之间设有第二压缩弹簧,所述的外轴套固定安装于回转盘上。

更进一步地,所述的轴向伸缩机构上还设置有三节筒式导轨。

更进一步地,所述的轴向伸缩机构和径向伸缩机构均为电动推杆,所述的回转机构为步进电机。

更进一步地,所述的回转换靶装置及与其对应设置的阴极小室设有3组。

更进一步地,相邻两个所述的阴极小室之间设有气氛隔离板。

更进一步地,所述的纠偏装置为超声波纠偏系统或光电纠偏系统。

更进一步地,所述的开卷机构与冷辊之间还设置有前处理装置,所述的前处理装置包括离子源预处理机构,所述的离子源预处理机构设置于真空室内,用于清洗基带表面的污物。

更进一步地,还包括冷井盘管深冷机构,所述的冷井盘管深冷机构设置于真空室内,用于冷凝对基带前处理过程中释放的大量水汽。

3.有益效果

采用本发明提供的技术方案,与已有的公知技术相比,具有如下显著效果:

(1)本发明的一种快速换靶单面往复连续高效镀膜磁控溅射卷绕镀膜机,其开卷机构和收卷机构处各设有一组纠偏装置,且纠偏装置位于开卷室和收卷室内,在纠偏装置的作用下,可以实现基带的往复连续运动,使基带的收卷边缘整齐,达到往复镀多层膜的加工目的;同时在冷辊包覆有基带的圆周面上均匀设有两个或两个以上的回转换靶装置,在一次镀膜行程中可以完成多层膜的镀制,且采用回转换靶装置,在不打开镀膜真空室的情况下即可及时更换阴极靶,实现多层膜的连续镀制,大大提高了镀多层膜的效率,简化了电气控制装置及程序,尤其适合于在基带上镀多层功能膜的大批量高效率生产;其次,回转换靶装置结构简单,控制方便,换靶动作灵活,大大节省了换靶时间和设备制造成本;

(2)本发明的一种快速换靶单面往复连续高效镀膜磁控溅射卷绕镀膜机,其回转换靶装置具有轴向伸缩机构,用于将使用后的阴极靶移至真空室外部,在一次镀膜完成后即可在真空室外部进行换靶,操作简单方便;

(3)本发明的一种快速换靶单面往复连续高效镀膜磁控溅射卷绕镀膜机,其伸缩轴套包括内轴、中间轴套和外轴套,内轴设于中间轴套内,且内轴与中间轴套之间设有第一压缩弹簧,中间轴套设于外轴套内,且中间轴套与外轴套之间设有第二压缩弹簧,外轴套固定安装于回转盘上,伸缩轴套结构简单、设计巧妙,仅需利用一组径向伸缩机构即可实现多个极靶的伸出,且径向伸缩机构收缩后,靶芯可自动退出阴极小室,方便转动换靶,同时采用两级伸出结构,保证了靶芯具有足够的运动行程;

(4)本发明的一种快速换靶单面往复连续高效镀膜磁控溅射卷绕镀膜机,其轴向伸缩机构上还设置有三节筒式导轨,确保了轴向伸缩机构具有足够的刚性,确保可以伸出较远的距离;

(5)本发明的一种快速换靶单面往复连续高效镀膜磁控溅射卷绕镀膜机,其轴向伸缩机构和径向伸缩机构均为电动推杆,回转机构为步进电机,电动推杆和步进电机便于电气控制、运行稳定,且对真空室内的加工环境无影响;

(6)本发明的一种快速换靶单面往复连续高效镀膜磁控溅射卷绕镀膜机,其回转换靶装置及与其对应设置的阴极小室设有3组,最大程度地利用了真空室的有限空间,结构紧凑,占地空间小,尤其适合于大批量生产;

(7)本发明的一种快速换靶单面往复连续高效镀膜磁控溅射卷绕镀膜机,其纠偏装置为超声波纠偏系统或光电纠偏系统,纠偏控制精准,误差小。

附图说明

图1为本发明的一种快速换靶单面往复连续高效镀膜磁控溅射卷绕镀膜机的结构原理图;

图2为本发明中的回转换靶装置的结构示意图;

图3为图2的局部放大图;

图4为本发明中的回转换靶装置顶出极靶座板的原理示意图。

示意图中的标号说明:

1、真空室;2、开卷室;201、开卷机构;3、纠偏装置;4、闸板阀;5、基带;6、前处理装置;7、换向辊;8、冷辊;9、收卷室;901、收卷机构;10、回转换靶装置;1001、机座;1002、轴向伸缩机构;1003、三节筒式导轨;1004、回转盘;1005、伸缩轴套;1006、极靶座板;1007、径向伸缩机构;1008、内轴;1009、中间轴套;1010、外轴套;1011、第一压缩弹簧;1012、第二压缩弹簧;11、阴极小室;12、靶芯;13、气氛隔离板;14、进气电磁阀;15、抽气电磁阀;16、粗抽泵;17、深冷泵;18、分子泵抽气阀;19、分子泵;20、前级泵抽气电磁阀;21、前级泵。

具体实施方式

为进一步了解本发明的内容,结合附图对本发明作详细描述。

结合图1,本发明的一种快速换靶单面往复连续高效镀膜磁控溅射卷绕镀膜机,包括真空室1、设于真空室1两侧的开卷室2和收卷室9、设于真空室1内的工作部件,以及设于真空室1外部的用于提供镀膜工艺条件的外设泵组、检测和控制镀膜加工状态的检测控制系统;其中,开卷室2内设有开卷机构201,收卷室9内设有收卷机构901,真空室1内设有冷辊8、换向辊7、两个或两个以上的回转换靶装置10、以及与每个回转换靶装置10位置相对应的两面开口的阴极小室11,开卷室2与真空室1之间、收卷室9与真空室1之间均设有闸板阀4,开卷机构201与换向辊7之间、收卷机构901与换向辊7之间各设有一组纠偏装置3,且该纠偏装置3位于开卷室2和收卷室9内;阴极小室11分布于冷辊8包覆有基带5的圆周面上,且每组回转换靶装置10及与其对应的阴极小室11均与冷辊8设于同一轴线上,在开卷机构201与换向辊7之间还设置有位于真空室1内的前处理装置6。外设泵组包括粗抽泵组、深冷泵17和分子泵组,粗抽泵组包括粗抽泵16、进气电磁阀14和抽气电磁阀15,粗抽泵16、进气电磁阀14和抽气电磁阀15按照如图1所示的连接结构与真空室1相连通,主要用于将真空室1内的气体快速抽出,达到分子泵的工作条件;深冷泵17与真空室1相连通,主要用于快速对真空室1内前处理过程中产生的水汽进行冷却,并配合粗抽泵组和分子泵组使真空室1内达到极限真空状态;分子泵组包括前级泵21、前级泵抽气电磁阀20、分子泵19和分子泵抽气阀18,前级泵21、前级泵抽气电磁阀20、分子泵19和分子泵抽气阀18依次连接后与真空室1相连通,主要用于实现快速达到极限真空状态;此外,由于本发明中设有多个阴极小室11,一次可镀多层功能膜,因此一组分子泵组难以达到工艺要求,故设置两组分子泵组(如图1所示)。检测控制系统包括气体分析仪、真空计、气体流量计、光纤感应探头、张力控制系统及计算机,气体分析仪设于阴极小室11内,用于分析阴极小室11内的气体成分和含量;真空计设于真空室1内,用于测量真空室1内的气压;气体流量计设于阴极小室11的进气管道上,用于控制阴极小室11的进气量;光纤感应探头伸入阴极小室11中,用于对靶材溅射出来的金属氧化物气体进行在线收集分析;张力控制系统设于开卷机构201、冷辊8、收卷机构901以及设于基带5上的张紧辊上,用于控制柔性基带5的平稳运行;气体分析仪、真空计、气体流量计和光纤感应探头分别于计算机相连,用于对各个工艺参数进行计算和控制。

本发明的一种快速换靶单面往复连续高效镀膜磁控溅射卷绕镀膜机,通过对执行镀膜工作的真空室1内部结构进行改进,利用多组回转换靶装置10,在不打开镀膜真空室的情况下即可根据需要及时快速更换阴极靶,并利用收卷和放卷两组纠偏装置3实现基带往复运动,从而实现多层膜层的连续镀制,简化了电气控制装置及程序,一次镀膜行程可以完成多层膜层的镀制,大大提高了镀膜机镀多层功能膜的效率,且镀膜精度高;同时,设备结构紧凑,占地空间小,尤其适合于大批量生产。

下面结合实施例对本发明作进一步的描述。

实施例

如图1所示,本实施例的一种快速换靶单面往复连续高效镀膜磁控溅射卷绕镀膜机,包括真空室1、开卷室2、设于开卷室2内的开卷机构201、收卷室9、设于收卷室9内的收卷机构901和设于真空室1内的冷辊8,还包括纠偏装置3、两个或两个以上的回转换靶装置10、以及与每个回转换靶装置10位置相对应的两面开口的阴极小室11,开卷室2与真空室1之间、收卷室9与真空室1之间均设有闸板阀4,用于阻止开卷室2和收卷室9内的气体进入真空室1中,避免影响真空室1的真空度;真空室1内还设有两组用于改变基带5方向的换向辊7,开卷机构201和收卷机构901之间的基带5经过换向辊7换向后包覆在冷辊8上,且基带5上还设有张紧辊,该张紧辊与力矩电机相连,用于实时调整基带5的张力,开卷机构201、冷辊8和收卷机构901三者同步联动,在镀膜加工过程中,冷辊8中通入-15~-20℃的冷却液,用于降低镀膜所产生的高温,保证镀膜质量,在镀膜结束后,又能够使冷辊8快速回到室温状态;开卷机构201和收卷机构901处各设有一组纠偏装置3,且纠偏装置3位于开卷室2和收卷室9内,开卷机构201和收卷机构901均具有收卷和放卷功能,开卷机构201和收卷机构901带动基带5实现往复运动,在收卷和放卷的往复运动中,两组纠偏装置3和开卷机构201、收卷机构901组成闭链加工系统,可以确保基带5收卷边缘整齐,从而确保了基带5往复运动的稳定性;阴极小室11分布于冷辊8包覆有基带5的圆周面上,且每组回转换靶装置10及与其对应的阴极小室11均与冷辊8设于同一轴线上,阴极小室11上还设有冷却板、补气机构和气氛隔离板13,气氛隔离板13设置于阴极小室11的两侧,将相邻两个阴极小室11之间连接起来,冷却板设置于阴极小室11的外壁上,且冷却板上分布有冷却水管,补气机构设于阴极小室11内,且与外部的补气单元相连通,阴极小室11内还设有抽真空机构,且该抽真空机构与外部的分子泵相连通;回转换靶装置10可以通过回转的方式,在不打开镀膜真空室1的情况下即可及时更换阴极靶,实现了在基带5上连续镀多层膜的功能,克服了现有镀膜机在真空室1外部换靶时需要再次抽真空,浪费大量时间和能源的不足。具体在本实施例中,回转换靶装置10及与其对应设置的阴极小室11设有3组,即在基带5的一个运动行程上即可镀三层膜,结合基带5的往复运动和回转换靶装置10的快速换靶,可以实现连续镀多层功能膜,大大提高了镀膜效率,同时最大程度地利用了真空室1的有限空间,结构紧凑,占地空间小。

如图2所示,本实施例中的回转换靶装置10包括机座1001、回转盘1004、驱动回转盘1004转动的回转机构、驱动回转盘1004沿轴向伸缩的轴向伸缩机构1002、安装于回转盘1004上的两个或两个以上的伸缩轴套1005、安装于伸缩轴套1005上的用于安装靶芯12的极靶座板1006和安装于机座1001上且与阴极小室11的开口方向相对的径向伸缩机构1007,回转盘1004为设有内腔的桶状结构,轴向伸缩机构1002与回转盘1004的底部相连,且保证轴向伸缩机构1002与回转盘1004同轴,伸缩轴套1005安装于回转盘1004的侧壁上,可在径向伸缩机构1007的推顶作用下向外伸出;具体在本实施例中,每组回转换靶装置10的回转盘1004上均匀设置有4个靶芯12,一次换靶后,一组回转换靶装置10可至少连续镀4层以上的功能膜,且极靶座板1006上的靶芯12采用法兰连接方式,方便靶芯12的拆装更换;如图4所示,当轴向伸缩机构1002收缩后,径向伸缩机构1007刚好与一个伸缩轴套1005位置相对应,用于将极靶座板1006向外顶出并嵌入阴极小室11内。采用轴向伸缩机构1002实现了将靶芯12推出真空室1,无需在真空室1内部进行靶芯12的更换,操作简单方便;另外,为了使轴向伸缩机构1002具有足够的刚性,使回转盘1004可以伸出较远的距离,本实施例中,轴向伸缩机构1002上设置有三节筒式导轨1003。在本实施例中,上述的轴向伸缩机构1002和径向伸缩机构1007均为电动推杆,回转机构为步进电机,电动推杆及步进电机的控制方便、定位准确,对真空室内的加工环境不会造成影响。如图3所示,本实施例中的伸缩轴套1005包括内轴1008、中间轴套1009和外轴套1010,内轴1008设于中间轴套1009内,且内轴1008与中间轴套1009之间设有第一压缩弹簧1011,中间轴套1009设于外轴套1010内,且中间轴套1009与外轴套1010之间设有第二压缩弹簧1012,外轴套1010固定安装于回转盘1004上,伸缩轴套1005结构简单、设计巧妙,仅需利用一组径向伸缩机构1007即可实现多个极靶的伸出,且径向伸缩机构1007收缩后,靶芯12可自动退出阴极小室11,方便转动换靶,同时采用两级伸出结构,保证了靶芯12具有足够的运动行程。

本实施例的一种快速换靶单面往复连续高效镀膜磁控溅射卷绕镀膜机,纠偏装置3为超声波纠偏系统或光电纠偏系统,纠偏控制精准,误差小,具体地,对于透明的基带而言,如聚酯膜等,采用超声波纠偏系统,对于不透明的基带而言,如金属薄膜等,采用光电纠偏系统或超声波纠偏系统。上述的超声波纠偏系统或光电纠偏系统的纠偏原理为现有技术,在此就不再赘述。此外,本实施例中的开卷机构201与冷辊8之间还设置有前处理装置6,前处理装置6包括离子源预处理机构,离子源预处理机构设置于真空室1内,用于清洗基带5表面的污物;前处理装置6附近还设有冷井盘管深冷机构,该冷井盘管深冷机构利用液氮作为制冷剂,可以在3~5分钟内使周围温度降到零下120℃左右,用于冷凝对基带5前处理过程中释放的大量水汽,并配合抽真空系统提高真空度。另外,为了便于观察真空室1内的工作状态,在真空室1上还开设有观察窗口。

本实施例的一种快速换靶单面往复连续高效镀膜磁控溅射卷绕镀膜机,加工时,将成卷的基带5套装于开卷机构201上,引出基带5的一端分别如图1所示绕过换向辊7和冷辊8,并固定于收卷机构901上;将镀制膜层所需的靶芯12安装于对应的极靶座板1006上;封闭真空室1,利用外设泵组对真空室1进行抽真空,实现镀膜所需工艺条件,同时开卷室2和收卷室9也一并进行粗抽真空;镀膜时,开卷机构201和收卷机构901同步放卷和收卷,同时冷辊8同步联动,实现卷绕镀膜;当开卷机构201放卷完成后(即三层膜层已经镀完),各组回转换靶装置10根据设定程序进行换靶动作:径向伸缩机构1007收缩,极靶座板1006从阴极小室11内退出,回转机构根据预先设好的程序控制回转盘1004转动一定角度,更换另一个靶芯12,并利用径向伸缩机构1007将固定该靶芯12的极靶座板1006顶出嵌入阴极小室11内,完成一次换靶;换靶完成后,开卷机构201和收卷机构901开始反向转动,即开卷机构201和收卷机构901的功能互换,冷辊8也同步联动,实现第二次六层膜的镀制;重复上述步骤,以具有四组靶芯12的回转换靶装置10、和设置三组回转换靶装置10的镀膜机为例,至少可以在基带5的单面上连续镀制12层膜层,加之四组靶芯12与三组回转换靶装置10的自由组合,可以实现更多膜层的镀制,大大提高了镀多层功能膜的效率;当回转换靶装置10上的靶材全部镀制完成后,停机,利用轴向伸缩机构1002将回转盘1004推出真空室1,在真空室1外部进行更换靶芯12。由于开卷机构201和收卷机构901处各设有一组纠偏装置3,因此可以实现基带5的往复连续运动,达到镀多层膜的加工目的;利用回转换靶装置10实现在真空室1内快速换靶,节省了换靶时间和省去了反复换靶所需的重复抽真空操作,省时节能;同时,回转换靶装置10结构简单,控制方便,换靶动作灵活;采用本发明的结构,磁控溅射卷绕镀膜机的结构得到明显简化,无需复杂的电气控制系统和程序,大大减少了设备占地面积,降低了设备制造成本,尤其适合于在基带上镀多层功能膜的大批量生产。

以上示意性地对本发明及其实施方式进行了描述,该描述没有限制性,附图中所示的也只是本发明的实施方式之一,实际的结构并不局限于此。所以,如果本领域的普通技术人员受其启示,在不脱离本发明创造宗旨的情况下,不经创造性地设计出与该技术方案相似的结构方式及实施例,均应属于本发明的保护范围。

价值度评估

技术价值

经济价值

法律价值

0 0 0

54.0

0 50 75 100
0~50 50~75 75~100 价值较低 中等价值 价值较高

专利价值度是通过科学的评估模

型对专利价值进行量化的结果,

基于专利大数据针对专利总体特

征指标利用计算机自动化技术对

待评估专利进行高效、智能化的

分析,从技术、经济和法律价值

三个层面构建专利价值评估体

系,可以有效提升专利价值评估

的质量和效率。

总评:54.0


该专利价值中等 (仅供参考)

        该专利的技术、经济、法律价值经系统自动评估后的总评得分处于平均水平,可以重点研究利用其技术价值,根据法律价值的评估结果选择合适的使用借鉴方式。
        本专利文献中包含【2 个技术分类】,从一定程度上而言上述指标的数值越大可以反映出所述专利的技术保护及应用范围越广。 【专利权的维持时间9 年】专利权的维持时间越长,其价值对于权利人而言越高。 尤其重要是,该专利 【权利转移1 次】、 都从侧面反应出该专利的技术、经济和法律价值。

技术价值    29.0

该指标主要从专利申请的著录信息、法律事件等内容中挖掘其技术价值,专利类型、独立权利要求数量、无效请求次数等内容均可反映出专利的技术性价值。 技术创新是专利申请的核心,若您需要进行技术借鉴或寻找可合作的项目,推荐您重点关注该指标。

部分指标包括:

授权周期(发明)

23 个月

独立权利要求数量

0 个

从属权利要求数量

0 个

说明书页数

7 页

实施例个数

0 个

发明人数量

5 个

被引用次数

0 次

引用文献数量

0 个

优先权个数

0 个

技术分类数量

2 个

无效请求次数

0 个

分案子案个数

0 个

同族专利数

0 个

专利获奖情况

保密专利的解密

经济价值    9.0

该指标主要指示了专利技术在商品化、产业化及市场化过程中可能带来的预期利益。 专利技术只有转化成生产力才能体现其经济价值,专利技术的许可、转让、质押次数等指标均是其经济价值的表征。 因此,若您希望找到行业内的运用广泛的热点专利技术及侵权诉讼中的涉案专利,推荐您重点关注该指标。

部分指标包括:

申请人数量

1

申请人类型

院校

许可备案

0 次

权利质押

0 次

权利转移

1 个

海关备案

法律价值    16.0

该指标主要从专利权的稳定性角度评议其价值。专利权是一种垄断权,但其在法律保护的期间和范围内才有效。 专利权的存续时间、当前的法律状态可反映出其法律价值。故而,若您准备找寻权属稳定且专利权人非常重视的专利技术,推荐您关注该指标。

部分指标包括:

存活期/维持时间

9

法律状态

无权-未缴年费