【中国发明,中国发明授权】基于CT和CBCT融合数据的数字化咬合导板及其重建方法

有权-审定授权 中国

申请号:
CN201510920942.6
专利权人:
四川大学
授权公告日/公开日:
2017.10.24
专利有效期:
2015.12.14-2035.12.14
技术分类:
A61:医学或兽医学;卫生学
转化方式:
转让
价值度指数:
61.0分
价格:
面议
312 0

发布人

知识产权运营中心

联系人IP先生

15113831943
9411117419@qq.com
941117419
szhf1188(加微信)
深圳市南山区粤海街道100号
  • 专利信息&法律状态
  • 专利自评
  • 专利技术文档
  • 价值度指数
  • 发明人阵容

著录项

申请号
CN201510920942.6
申请日
20151214
公开/公告号
CN105342708A
公开/公告日
20160224
申请/专利权人
[四川大学]
发明/设计人
[汤炜, 田卫东, 曾维, 何明耘, 李鹏]
主分类号
A61B90/00
IPC分类号
C12N 9/0008(2013.01) C12N 9/16
CPC分类号
C12N 9/0008(2013.01) C12N 9/16(2013.01)
分案申请地址
国省代码
中国,CN,四川(51)
颁证日
G06T1/00
代理人
[易小艺]

摘要

本发明属于颌面整形医疗器械领域,尤其涉及基于CT和CBCT融合数据的数字化咬合导板及其重建方法,所述导板本体呈蹄形,设有导板上颌面、导板下颌面、导板唇外侧和导板唇内侧,导板上颌面、导板下颌面分别设有凹槽,凹槽形态与相应的牙齿冠形态贴合。针对咬合关系重建难点及传统模型外科精确性还有待提高等问题,基于CBCT与螺旋CT融合数据的虚拟咬合重建方法,模拟手术复位,虚拟重建咬合关系,设计咬合板记录咬合关系,3D打印生成导板实物,用于手术重建咬合关系,降低手术难度,缩短手术时间,保证手术效果,提高重建精确度。

法律状态

法律状态公告日 20171024
法律状态 授权
法律状态信息 授权
法律状态公告日 20160323
法律状态 实质审查的生效
法律状态信息 实质审查的生效
IPC(主分类):A61B 90/00
申请日:20151214
法律状态公告日 20160224
法律状态 公开
法律状态信息 公开
暂无数据

权利要求

权利要求数量(10

独立权利要求数量(3

1.基于CT和CBCT融合数据的数字化咬合导板,包括导板本体,其特征在于:所述导板本体呈蹄形,设有导板上颌面、导板下颌面、导板唇外侧和导板唇内侧,导板上颌面、导板下颌面分别设有凹槽,凹槽形态与相应的牙齿冠形态贴合。

2.根据权利要求1所述的基于CT和CBCT融合数据的数字化咬合导板,其特征在于:所述凹槽深度为牙齿冠的1/3-1/2。

3.根据权利要求1所述的基于CT和CBCT融合数据的数字化咬合导板,其特征在于:所述导板唇外侧上还设有支架连接杆凹槽。

4.根据权利要求3所述的基于CT和CBCT融合数据的数字化咬合导板,其特征在于:所述支架连接杆凹槽1-2个。

7.根据权利要求1所述的基于CT和CBCT融合数据的数字化咬合导板的重建方法,其特征在于:所述步骤(2)中CT重建分割阈值为311-3071HU,CBCT重建分割阈值为1080-3071HU。

8.根据权利要求1所述的基于CT和CBCT融合数据的数字化咬合导板的重建方法,其特征在于:所述步骤(3)中牙合平面与眶耳平面的夹角为15°。

9.根据权利要求1所述的基于CT和CBCT融合数据的数字化咬合导板的重建方法,其特征在于:所述步骤(4)中圆柱体宽度包含整个牙列,高度包含上下颌牙冠的1/2。

10.根据权利要求1所述的基于CT和CBCT融合数据的数字化咬合导板的重建方法,其特征在于:所述步骤(3)定位上颌骨中对于陈旧性上颌骨骨折,分割骨折块后根据下颌骨位置调整上颌骨位置,保证上颌骨的前伸程度。

5.基于CT和CBCT融合数据的数字化咬合导板的重建方法,其特征在于:包括以下步骤:

(1)数据获取:分别对患者进行螺旋CT扫描及CBCT,获得患者的头颅螺旋CT数据及牙列CBCT;

(2)数据处理:将螺旋CT的DICOM数据导入三维编辑软件进行三维重建,根据骨折断端分割出每一个骨折块,再将CBCT的DICOM数据导入三维编辑软件进行牙列的三维重建,按照螺旋CT所示骨折断端的位置,分割牙列,然后分别把相同骨折段的骨折块及牙列的STL数据导入三维编辑软件进行数据融合,获得头颅模型;

(3)重建咬合关系:经过定位下颌骨步骤、和/或定位上颌骨步骤、咬合检测步骤来确定,具体如下:

A、定位下颌骨:初步确定髁突位置,分析髁突和关节窝之间的间隙是否符合要求,确定矢状面上的位置;然后测量眉间点到髁突中心的距离,确定冠状位上的位置;再分析髁突内外径和关节窝走形中心线是否水平,确定水平面上的位置;最后根据骨折断端和颌骨升支形态复位下颌骨的其他部分,测量眉间点到下颌牙牙尖的距离,分析对称性验证复位精确性,符合要求则进行下个步骤;

B、定位上颌骨:根据上颌骨骨折断端对位情况初步定位上颌骨,然后确定牙合平面,测量牙合平面与眶耳平面的夹角,再根据整个颅骨中线调整上颌骨中线,并与之对齐;待咬合关系检测阶段时再根据咬合接触图像检测结果进一步调整上颌骨的位置;

C、咬合检测:运用布尔运算中的合集运算,把上下颌骨分别融合成一个整体,模拟开闭口运动,使得上下牙列接触接近于牙尖交错位,再运用布尔运算中的交集运算,将上下颌牙列重叠部分显示出来,然后分别比较重叠部分与上下颌牙列功能尖及牙合面接触区的重叠情况,根据具体情况调整上下颌骨的位置使得两者重叠程度达到要求,如果与牙齿功能接触面相匹配,则为精确性符合,;

(4)虚拟咬合板:垂直下移整个下颌骨0.8-1.2mm,在上下颌牙列之间设计一个圆柱体,运用布尔运算中的差集运算,用圆柱体分别减去上下颌牙列与之重叠的部分,得到上下颌牙列的阴模,即虚拟咬合板的初始模型,运用平面切割功能修整模型,得到成形的虚拟咬合板,保存为STL数据;

(5)将STL数据导入3D打印机,使用PLA聚乳酸材料,打印咬合板实物。

6.根据权利要求1所述的基于CT和CBCT融合数据的数字化咬合导板的重建方法,其特征在于:所述步骤(1)中螺旋CT扫描颌骨层厚为0.5mm,及牙列CBCT层厚为0.16mm。

1.基于CT和CBCT融合数据的数字化咬合导板,包括导板本体,其特征在于:所述导板本体呈蹄形,设有导板上颌面、导板下颌面、导板唇外侧和导板唇内侧,导板上颌面、导板下颌面分别设有凹槽,凹槽形态与相应的牙齿冠形态贴合。

2.根据权利要求1所述的基于CT和CBCT融合数据的数字化咬合导板,其特征在于:所述凹槽深度为牙齿冠的1/3-1/2。

3.根据权利要求1所述的基于CT和CBCT融合数据的数字化咬合导板,其特征在于:所述导板唇外侧上还设有支架连接杆凹槽。

4.根据权利要求3所述的基于CT和CBCT融合数据的数字化咬合导板,其特征在于:所述支架连接杆凹槽1-2个。

5.基于CT和CBCT融合数据的数字化咬合导板的重建方法,其特征在于:包括以下步骤:

(1)数据获取:分别对患者进行螺旋CT扫描及CBCT,获得患者的头颅螺旋CT数据及牙列CBCT;

(2)数据处理:将螺旋CT的DICOM数据导入三维编辑软件进行三维重建,根据骨折断端分割出每一个骨折块,再将CBCT的DICOM数据导入三维编辑软件进行牙列的三维重建,按照螺旋CT所示骨折断端的位置,分割牙列,然后分别把相同骨折段的骨折块及牙列的STL数据导入三维编辑软件进行数据融合,获得头颅模型;

(3)重建咬合关系:经过定位下颌骨步骤、和/或定位上颌骨步骤、咬合检测步骤来确定,具体如下:

A、定位下颌骨:初步确定髁突位置,分析髁突和关节窝之间的间隙是否符合要求,确定矢状面上的位置;然后测量眉间点到髁突中心的距离,确定冠状位上的位置;再分析髁突内外径和关节窝走形中心线是否水平,确定水平面上的位置;最后根据骨折断端和颌骨升支形态复位下颌骨的其他部分,测量眉间点到下颌牙牙尖的距离,分析对称性验证复位精确性,符合要求则进行下个步骤;

B、定位上颌骨:根据上颌骨骨折断端对位情况初步定位上颌骨,然后确定牙合平面,测量牙合平面与眶耳平面的夹角,再根据整个颅骨中线调整上颌骨中线,并与之对齐;待咬合关系检测阶段时再根据咬合接触图像检测结果进一步调整上颌骨的位置;

C、咬合检测:运用布尔运算中的合集运算,把上下颌骨分别融合成一个整体,模拟开闭口运动,使得上下牙列接触接近于牙尖交错位,再运用布尔运算中的交集运算,将上下颌牙列重叠部分显示出来,然后分别比较重叠部分与上下颌牙列功能尖及牙合面接触区的重叠情况,根据具体情况调整上下颌骨的位置使得两者重叠程度达到要求,如果与牙齿功能接触面相匹配,则为精确性符合,;

(4)虚拟咬合板:垂直下移整个下颌骨0.8-1.2mm,在上下颌牙列之间设计一个圆柱体,运用布尔运算中的差集运算,用圆柱体分别减去上下颌牙列与之重叠的部分,得到上下颌牙列的阴模,即虚拟咬合板的初始模型,运用平面切割功能修整模型,得到成形的虚拟咬合板,保存为STL数据;

(5)将STL数据导入3D打印机,使用PLA聚乳酸材料,打印咬合板实物。

6.根据权利要求1所述的基于CT和CBCT融合数据的数字化咬合导板的重建方法,其特征在于:所述步骤(1)中螺旋CT扫描颌骨层厚为0.5mm,及牙列CBCT层厚为0.16mm。

7.根据权利要求1所述的基于CT和CBCT融合数据的数字化咬合导板的重建方法,其特征在于:所述步骤(2)中CT重建分割阈值为311-3071HU,CBCT重建分割阈值为1080-3071HU。

8.根据权利要求1所述的基于CT和CBCT融合数据的数字化咬合导板的重建方法,其特征在于:所述步骤(3)中牙合平面与眶耳平面的夹角为15°。

9.根据权利要求1所述的基于CT和CBCT融合数据的数字化咬合导板的重建方法,其特征在于:所述步骤(4)中圆柱体宽度包含整个牙列,高度包含上下颌牙冠的1/2。

10.根据权利要求1所述的基于CT和CBCT融合数据的数字化咬合导板的重建方法,其特征在于:所述步骤(3)定位上颌骨中对于陈旧性上颌骨骨折,分割骨折块后根据下颌骨位置调整上颌骨位置,保证上颌骨的前伸程度。

说明书

技术领域

本发明属于颌面整形医疗器械领域,尤其涉及基于CT和CBCT融合数据的数字化咬合导板及其重建方法。

null

背景技术

咬合关系是指各种功能运动中,上下颌牙发生接触的关系,其中牙尖交错位是指上下颌牙尖交错,达到最广泛最紧密接触时的一种咬合关系。是一种可重复的牙位,具有较高的稳定性。每个患者生活经历、饮食习惯及外伤状况各不相同,每个人的咬合关系都是个性化的,对于严重咬合紊乱的患者,通常伴有牙列缺损,骨折错位明显,张口受限,复位参照点缺失等等,医生在尝试恢复受伤前的咬合关系时,常常会遇到很大的挑战。传统的模型外科精确性有待提高。

目前,数字化外科技术发展迅速并广泛应用于外科临床中。其中,能将术前设计精确转术中操作的技术有手术导航和导板。手术导航需要通过大型的、价格高昂的导航仪将术前或术中的CT、MRI等信息在术中与患者实体进行配准注册,不仅操作复杂,也有导航失败的可能。外科导板技术已经在骨科、整形外科、颌面外科有一定的应用,但所使用的患者数据多是来源于CT或三维扫描,对设备要求较高,而且设计导板的过程也很复杂,需要专门的工程设计人员,不利于临床推广普及。

null

发明内容

为了解决以上技术问题,本发明提供基于CT和CBCT融合数据的数字化咬合导板及其重建方法,即数字化设计3D打印的咬合关系重建导板,导板结构精确度高,缩短手术时间,损伤小,费用低;制备方法中针对咬合关系重建难点及传统模型外科精确性还有待提高等问题,基于CBCT与螺旋CT融合数据的虚拟咬合重建方法,模拟手术复位,虚拟重建咬合关系,设计咬合板记录咬合关系,3D打印生成导板实物,用于手术重建咬合关系,降低手术难度,缩短手术时间,保证手术效果,提高重建精确度。

解决以上技术问题的基于CT和CBCT融合数据的数字化咬合导板,包括导板本体,其特征在于:所述导板本体呈蹄形,设有导板上颌面、导板下颌面、导板唇外侧和导板唇内侧,导板上颌面、导板下颌面分别设有凹槽,凹槽形态与相应的牙齿冠形态贴合。

所述凹槽深度为牙齿冠的1/3-1/2。

所述导板唇外侧上还设有支架连接杆凹槽,用于与其他部位的复位导板连接,起辅助固定的作用。可为圆柱形,直径大小与导板唇侧厚度差不多,稍小或一致。

所述支架连接杆凹槽1-2个。

导板的上颌面外边缘厚度为1.0-1.5mm,包含上下颌牙为宜,保留上颌唇侧及下颌舌侧。相就导板的下颌面内边缘厚度也为1.0-1.5mm。导板唇侧厚度6.0-7.5mm。

导板上下两颌面,分别记录了上下颌牙列复位后的牙齿阴模,咬合导板的厚度、上颌颊侧和下颌舌侧凹陷边缘距导板边缘距离,每个患者的情况有所不同,一般厚度7.5mm-8.0mm,外边缘厚度1.0-1.5mm,整个导板为上下颌牙列对位后的咬合记录。

基于CT和CBCT融合数据的数字化咬合导板的重建方法,其特征在于:包括以下步骤:

(1)数据获取:分别对患者进行CBCT及螺旋CT扫描,获得患者的牙列CBCT及头颅螺旋CT数据;

(2)数据处理:将螺旋CT的DICOM数据导入三维编辑软件进行三维重建,根据骨折断端分割出每一个骨折块,再将CBCT的DICOM数据导入三维编辑软件进行牙列的三维重建,按照螺旋CT所示骨折断端的位置,分割牙列,然后分别把相同骨折段的骨折块及牙列的STL数据导入三维编辑软件(geomagicstudio软件)进行数据融合,获得最精确的头颅模型;

根据目前软件设计,导入数据融合后的模型为一个整体,内部数据无法反向解析,不能返回到刚导入的矢状、冠状、水平三个位置,不能分割模型,无法精确辨析骨缝位置和走向,从而影响骨块分割精确度。

在本发明中采用先根据骨折区域进行对应的分割,在融合数据的方式获取自由分离而又完整的模型。在geomagic软件中采用迭代最近点算法(ICP),可将同一骨折区域的颌骨与牙列两个模型在空间上尽可能的拉近,然后去掉CT来源模型上的牙列数据,替换上CBCT来源的牙列数据,则可获得最精确的模型。

(3)重建咬合关系:经过定位下颌骨步骤、和/或定位上颌骨步骤、咬合检测步骤来确定,具体如下:

A、定位下颌骨:依照骨折断端的形态及颌骨升支形态复位髁突骨折,再根据关节结节和关节窝、髁突头的位置和形态,初步确定髁突位置,分析髁突和关节窝之间的间隙是否符合要求,比如前带为1.52±0.33mm,中带1.00±0.48mm,后带2.12±0.44mm,确定矢状面上的位置;然后测量眉间点到髁突中心的距离,确定冠状位上的位置;再分析髁突内外径和关节窝走形中心线是否水平,确定水平面上的位置;最后根据骨折断端和颌骨升支形态复位下颌骨的其他部分,测量眉间点到下颌牙牙尖的距离,局部调整各个骨折块的位置恢复伤前下颌骨形态及位置,分析对称性验证复位精确性,符合要求则进行下个步骤;

B、定位上颌骨:根据上颌骨骨折断端对位情况初步定位上颌骨,然后确定牙合平面,测量牙合平面与眶耳平面的夹角,再根据整个颅骨中线对齐调整上颌骨中线,并与之对齐;待咬合关系检测阶段时再根据咬合接触图像检测结果进一步调整上颌骨的位置。

C、咬合检测:首先运用布尔运算中的合集运算,把上下颌骨分别融合成一个整体,模拟开闭口运动,使得上下牙列接触接近于牙尖交错位,再运用布尔运算中的交集运算,将上下颌牙列重叠的部分显示出来,然后分别比较重叠(Intersection)部分与上下颌牙列功能尖及牙合面接触区的重叠情况,根据具体情况调整上下颌骨的位置使得两者重叠程度达到要求,即认为达到最好的咬合关系;

如果符合要求,则进行下个步骤,如果不符合要求,则返回定位下颌骨步骤和/或定位上颌骨步骤。

可再从口腔颌面部X-nat数据库中查找近似患者,按照上述方法显示咬合接触区域,比较重建咬合关系接触区与正常患者咬合接触区的匹配情况,验证重建咬合关系的精确性。

(4)虚拟咬合板:垂直下移整个下颌骨约1mm,在上下颌牙列之间设计一个圆柱体,运用布尔运算中的差集运算,用圆柱体分别减去上下颌牙列与之重叠的部分,得到上下颌牙列的阴模,即虚拟咬合板的初始模型,运用平面切割功能修整模型,得到成形的虚拟咬合板,保存为STL数据;

(5)将STL数据导入3D打印机,使用PLA聚乳酸材料,熔融成积(FDM)方式打印咬合板实物。

所述步骤(1)中螺旋CT扫描颌骨层厚为0.5mm,及牙列CBCT层厚为0.16mm。

所述步骤(2)中CT重建分割阈值为311-3071HU,CBCT重建分割阈值为1080-3071HU。

所述步骤(3)中牙合平面与眶耳平面的夹角为15°。

上颌骨旋转有三个方向位移量需要确定,分别为旋转(X)、偏斜(Y)及倾斜(Z)三个方向,只要牙合平面与眶耳平面的夹角保持15°的夹角,就可以辅助确定上颌骨的偏斜(Y)及倾斜(Z),而旋转(X)的位置确定主要通过上颌骨中垂面与颅颌面中垂面是否重叠进行判断确定。在确定过程中通过上颌骨的平移恢复上颌骨的前伸程度,上颌骨的前伸情况根据上颌窦表面的解剖复位情况及下颌牙列位置来初步确定。

所述步骤(4)中圆柱体宽度包含整个牙列,高度包含上下颌牙冠的1/2。

所述步骤(3)定位上颌骨中对于陈旧性上颌骨骨折,分割骨折块后根据下颌骨位置调整上颌骨位置,保证上颌骨的前伸程度。

为了提高精确性,本发明中通过提取咬合接触图像进行匹配验证的方法的提高精确性,在虚拟设计过程中,以髁突为中心,模拟下颌骨闭口运动至两个模型刚好接触(软件默认为两个模型间的距离小于或等于0.06mm,即可认为两个模型发生碰撞),将每个碰撞的区域显示在一张图片上就是咬合接触图像。

在理想的覆牙合覆盖情况下,前牙的接触主要位于切端,后牙的接触主要位于牙合面的牙尖斜面。仔细观察正常人的牙齿可以发现牙尖斜面部分区域为小的平面,这是由于萌出的牙列经过长时间的咀嚼功能磨耗之后,随着咬合关系趋于稳定,接触区的接触形态也发生变化,由最开始的接触点变为最终的接触区,表现为牙尖斜面上的小接触平面,这是实现个性化咬合关系重建的基础。只要满足咬合接触图像和这些牙尖小平面的一一匹配,就可以重建出受伤前的个性化咬合关系。

本发明在数字化设计上,对实施人员技术要求低,有基本电脑基础知识和外科知识的医务人员即可实施,对患者来说无需石膏取模,无需转移牙合架,不会对患者造成痛苦,及时对于张口严重受限的患者,也可利用螺旋CT和CBCT获取精确的模型,整个虚拟咬合接触过程只需约1.5小时,操作便捷,精度高,并且可重复操作,该方法是虚拟咬合重建流程化,精确化,方便后续设计咬合导板辅助设计。

本发明中整个导板成型的过程只需1小时,而且成本低廉,操作便捷且精度高,极大的推进了此项技术的临床应用。在实际手术过程中,咬合板辅助重建咬合关系时间可短至5min,缩短手术时间,且精确度高,这也是完全符合微创外科的理念。

null

附图说明

图1为本发明中实施例1的导板结构示意图

图2为本发明中实施例2的导板结构示意图

图3为本发明导板立体结构示意图

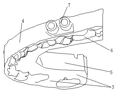
其中,图中标识具体为:1.导板本体,2.导板上颌面,3.导板下颌面,4.导板唇外侧,5.导板唇内侧,6.凹槽,7.支架连接杆凹槽,8.上颌面外边缘

具体实施方式

下面通过结合实施例对本发明做进一步说明,应该理解的是,这些实施例仅用于例证的目的,决不限制本发明的保护范围。

实施例1

基于CT和CBCT融合数据的数字化咬合导板,包括导板本体,所述导板呈蹄形,设有导板上颌面、导板下颌面、导板唇外侧和导板唇内侧,导板上颌面、导板下颌面分别设有凹槽,凹槽形态与相应的牙齿冠形态贴合。导板上颌面容纳上颌牙齿,导板下颌面容纳下颌牙齿,凹槽容纳复位后的牙齿。凹槽深度为牙齿冠的1/3-1/2。导板的上颌面外边缘厚度为1.0-1.5mm,包含上下颌牙为宜,保留上颌唇侧及下颌舌侧。相就导板的下颌面内边缘厚度也为1.0-1.5mm,导板唇侧厚度6.0-7.5mm。

实施例2

基于CT和CBCT融合数据的数字化咬合导板,包括导板本体和支架连接杆凹槽,所述导板呈蹄形,设有导板上颌面、导板下颌面、导板唇外侧和导板唇内侧,导板上颌面、导板下颌面分别设有凹槽,凹槽形态与相应的牙齿冠形态贴合;支架连接杆凹槽设于导板唇外侧上。导板上颌面容纳上颌牙齿,导板下颌面容纳下颌牙齿,凹槽容纳复位后的牙齿。凹槽深度为牙齿冠的1/3-1/2。导板的上颌面外边缘厚度为1.0-1.5mm,包含上下颌牙为宜,保留上颌唇侧及下颌舌侧。相就导板的下颌面内边缘厚度也为1.0-1.5mm,导板唇侧厚度6.0-7.5mm。

支架连接杆凹槽用于与其他部位的复位导板连接,起辅助固定的作用。可为圆柱形,直径大小与导板唇侧厚度差不多,稍小或一致。支架连接杆凹槽位于导板4-5牙位,支架连接杆凹槽1-2个。

本发明中的导板分为上下两面,分别记录了上下颌牙列复位后的牙齿阴模,咬合板的厚度、上颌颊侧和下颌舌侧凹陷边缘距导板边缘距离,根据每个患者的情况有所不同,一般厚度约7.5mm-8.0mm,边缘厚度约1.0-1.5mm,整个导板为上下颌牙列对位后的咬合记录。

实施例3

针对咬合关系重建难点及传统模型外科精确性还有待提高等问题,本专利利用三维设计软件,模拟手术复位,重建咬合关系,以便下一步设计咬合导板,用于术中重建咬合关系,具体制作方法包括以下具体步骤:

1.数据获取

分别对患者进行CBCT及螺旋CT扫描,获得患者的牙列CBCT及头颅螺旋CT数据。

目前获得数据的方式方法很多,与颌面部骨折密切相关的数据主要包括CT数据、CBCT数据、激光扫描数据等。其中精确度最高的是激光扫描数据,精度能达到20μm,包括面部扫描数据和牙列扫描数据等,其中面部扫描数据已广泛用于面部软组织的研究,而涉及硬组织的牙列扫描数据在口腔颌面外科,尤其是在颌面部骨折治疗领域应用较为受限,主要是由于骨折患者张口严重受限,开口度无法达到能够容纳扫描仪进入的高度,无法使用牙列激光扫描数据。

螺旋CT的密度分辨率较高,对软硬组织的分辨较好,投射范围大,且其成像效果随着体素变小而清晰(最小体素达0.5mm),而CT的空间分辨率低,无法区分灰度值十分接近的牙釉质、牙本质、牙骨质,导致重建出的牙列模糊不清。而与传统CT相比,CBCT具有辐射剂量低、空间分辨率高、扫描时间短等优点,且其随着体素的减小,其图像清晰度逐渐提高,其最高体素可达到0.125mm(分辨率60*60),此时可得到最清晰的图像。

CBCT机最小体素可达0.125mm(分辨率60*60),此时成像范围较小,不能包括整个牙列,两次拍摄增加辐射暴露和费用,而将体素提高到0.16mm(分辨率80*80),此时成像范围刚好包括整个牙列,且精确度较高。数据的精细化及完整性是整个数字化相关研究的基础,只有最精确的数据才能保证后续研究的精确性。故选择获取层厚为0.5mm的颌骨CT数据及层厚为0.16mm的牙列CBCT数据作为最精确的数据来源。

2.数据处理

将螺旋CT的DICOM数据导入三维编辑软件选择特定阈值(CT分割阈值选择311-3071HU以及CBCT选择1080-3071HU重建)进行三维重建,在冠状位(Coronal)、矢状位(Sagital)和水平位(Axial)窗口中,应用区域增长(RegionGrowing)和布尔运算(BooleanOperations)功能,手动分割出每一个骨折块,生成对应的不同颜色表示的Mask,通过重建功能(Calculate3DFromMask)重建出螺旋CT三维模型。再将CBCT的DICOM数据导入三维编辑软件进行牙列的三维重建,按照骨折断端的位置,分割牙列,用不同颜色的不同骨折段的牙列。然后分别把相同骨折段的骨折块及牙列的STL数据导入geomagicstudio软件进行数据融合。依照此方法,融合所有的骨折段的骨块及牙列,然后把CBCT及螺旋CT融合完成的数据导入三维编辑软件,获得最精确的头颅模型,方便进行下一步操作。

除了体素因素外,图像分割时的HU值、伪影、管电压、管电流、周围组织、扫描视野、扫描时间和软件的光滑效果等,也会影响CBCT结果的精确度。为了尽量减小上述影响因素,统一采用华西口腔医院放射科的同一台机CBCT和螺旋CT机获取数据,确保实现同样的管电压、管电流、体素和扫描视野,图像分割时采用同样的HU值。在阈值分割阶段,CT阈值为311-3071HU,CBCT阈值为1080-3071HU(HU为housefielduint的缩写,灰度值),由于CBCT及CT的DICOM数据为点云数据,如果选择阈值过大则包含的点云数据减少,意味着信息丢失,重建模型精确性降低;如果选择阈值过小则周围软组织的影像就会影响硬组织重建结果,也会降低重建结果的精确性。CT分割阈值选择311-3071HU以及CBCT选择1080-3071HU重建出三维模型,经数据融合后可获得目前最精确的头颅模型。

目前软件设计,数据融合后的模型为一个整体,内部数据无法反向解析,不能返回到刚导入的矢状、冠状、水平三个位置,不能再根据以上方法分割模型,进而无法精确辨析骨缝位置和走向,影响骨块分割精确度,在本方法中采用先根据骨折区域进行对应的分割,在融合数据的方式获取自由分离而又完整的模型。在geomagic软件中采用迭代最近点算法(ICP),可将同一骨折区域的颌骨与牙列两个模型在空间上尽可能的拉近,然后去掉CT来源模型上的牙列数据,替换上CBCT来源的牙列数据,则可获得最精确的模型。

3.定位下颌骨

首先依照骨折断端的形态及颌骨升支形态复位髁突骨折,再根据关节结节和关节窝、髁突头的位置和形态,初步确定髁突位置(牙尖交错位时,髁突正好位于颞下颌关节窝的中央位置),分析髁突和关节窝之间的间隙是否符合要求,比如前带为1.52±0.33mm,中带1.00±0.48mm,后带2.12±0.44mm,确定矢状面上的位置;然后测量眉间点到髁突中心的距离,确定冠状位上的位置;再分析髁突内外径和关节窝走形中心线是否水平,确定水平面上的位置;最后根据骨折断端和颌骨升支形态复位下颌骨的其他部分,测量眉间点到下颌牙牙尖的距离,局部调整各个骨折块的位置恢复伤前下颌骨形态及位置,分析对称性验证复位精确性,符合要求则进行下个步骤;

髁突参与构成颞下颌关节,其中骨性部分为髁突头和关节窝,两者中间为非骨性的关节盘,两者在矢状向可将这个区域分为关节盘前带1/3、中带1/3、后带1/3三个部分,通过对颞下颌关节的斜矢状位、冠状位及横断位进行MRI扫描,并进行三维重建测量关节盘三维数据,分别测得前带为1.52±0.33mm,中带1.00±0.48mm,后带2.12±0.44mm,并且测得髁突长轴的冠状夹角为89.98±1.33°。以上数据辅助确定髁突在矢状方向的位置。

上面两个位置都确定后,在进行横断面上的位置确定(旋转情况),主要是髁突的内外径长轴与关节窝的走行中心线是否平行。髁突位置确定后,根据近心端骨折断端的位置及形态复位下颌骨其他部位的骨块。其次测量眉间点到各对称牙尖的距离,判断两侧的对称性(主要是长时间使用牙齿后,各功能尖磨耗,不在满足眉间点到牙列的10.16cm,主要是验证双侧的对称性)。

4.定位上颌骨

首先根据上颌骨骨折断端对位情况初步定位上颌骨,然后确定牙合平面(上颌骨中切牙切端近中到双侧第一磨牙近颊尖构成的平面),测量牙合平面与眶耳平面(Frankforthorizontalplane,FH)的夹角,局部调整使得两个平面夹角达约15°,再根据整个颅骨中线对齐调整上颌骨中线,并与之对齐。对于陈旧性上颌骨骨折,分割骨折块后根据下颌骨位置调整上颌骨位置,保证上颌骨的前伸程度。

上颌骨旋转有三个方向位移量需要确定,分别为旋转(X)、偏斜(Y)及倾斜(Z)三个方向,而“口腔解剖生理学教材”中眶耳平面与鼻翼耳屏线夹角约15°,其中鼻翼耳屏线与牙合平面平行,故眶耳平面与牙合平面之间的夹角为15°,本发明中采用牙合三角(双侧第六磨牙近中颊尖刀中切牙近中切角的连线构成的三角。其是牙合平面的一部分),只要两者保持15°的夹角可以辅助确定上颌骨的偏斜(Y)及倾斜(Z),旋转(X)主要通过上颌骨中垂面与颅颌面中垂面是否重叠进行判断确定位置,通过以上数据可确定上颌骨的三个旋转位移量。

上颌骨的平移主要是恢复它本身的前伸程度(也就是牙齿闭合时,上下牙之间的水平距离),上颌骨的前伸情况主要是根据上颌窦表面的解剖复位情况及下颌牙列位置来初步确定,待咬合关系检测阶段时根据咬合接触图像检测结果进一步调整上颌骨的位置。

5.咬合检测

首先运用“布尔运算”中的“合集(UNIT)”运算,把上下颌骨分别融合成一个整体,模拟开闭口运动,使得上下牙列接触接近于牙尖交错位,再运用“布尔运算”中的“交集(Intersection)”运算,将上下颌牙列重叠的部分(Intersection)显示出来,然后分别比较Intersection部分与上下颌牙列功能尖及牙合面接触区的重叠情况,根据具体情况调整上下颌骨的位置使得两者重叠程度达到最佳,即认为达到最好的咬合关系。再从口腔颌面部X-nat数据库中查找近似患者,按照上述方法显示咬合接触区域,比较重建咬合关系接触区与正常患者咬合接触区的匹配情况,验证重建咬合关系的精确性。

为了提高精确性,本方法通过提取咬合接触图像进行匹配验证的方法的提高精确性,在虚拟设计过程中,以髁突为中心,模拟下颌骨闭口运动至两个模型刚好接触(软件默认为两个模型间的距离小于或等于0.06mm,即可认为两个模型发生碰撞),将每个碰撞的区域显示在一张图片上就是咬合接触图像。

在理想的覆牙合覆盖情况下,前牙的接触主要位于切端,后牙的接触主要位于牙合面的牙尖斜面。仔细观察正常人的牙齿可以发现牙尖斜面部分区域为小的平面,这是由于萌出的牙列经过长时间的咀嚼功能磨耗之后,随着咬合关系趋于稳定,接触区的接触形态也发生变化,由最开始的接触点变为最终的接触区,表现为牙尖斜面上的小接触平面,这是实现个性化咬合关系重建的基础。只要满足咬合接触图像和这些牙尖小平面的一一匹配,就可以重建出受伤前的个性化咬合关系。

提取正常人的咬合接触图像,将之与重建结果进行匹配验证。

6、虚拟咬合板:垂直下移整个下颌骨约1mm,在上下颌牙列之间设计一个圆柱体,运用布尔运算中的差集运算,用圆柱体分别减去上下颌牙列与之重叠的部分,得到上下颌牙列的阴模,即虚拟咬合板的初始模型,运用平面切割功能修整模型,得到成形的虚拟咬合板,保存为STL数据;

7、将STL数据导入3D打印机,使用PLA聚乳酸材料,熔融成积(FDM)方式打印咬合板实物。

本专利在数字化设计上,对实施人员技术要求低,有基本电脑基础知识和外科知识的医务人员即可实施,对患者来说无需石膏取模,无需转移牙合架,不会对患者造成痛苦,及时对于张口严重受限的患者,也可利用螺旋CT和CBCT获取精确的模型,整个虚拟咬合接触过程只需约1.5小时,操作便捷,精度高,并且可重复操作,该方法是虚拟咬合重建流程化,精确化,方便后续设计咬合导板辅助设计。

对于本发明中的方法制作出的导板应用于临床中,设制了试验一、二和三,设制对像、分析和结果具体如下表1-3:

表1临床病例(应用此数字化方法重建咬合关系)

表210例严重咬合紊乱临床资料

表310例咬合关系恢复及术后模型配准情况比较

从以上表中可以看出,本发明中导板用于手术重建咬合关系,降低手术难度,缩短手术时间,保证手术效果,提高重建精确度。

以上所述仅为本发明的优选实施例,对本发明而言仅是说明性的,而非限制性的;本领域普通技术人员理解,在本发明权利要求所限定的精神和范围内可对其进行许多改变,修改,甚至等效变更,但都将落入本发明的保护范围内。

价值度评估

技术价值

经济价值

法律价值

0 0 0

61.0

0 50 75 100
0~50 50~75 75~100 价值较低 中等价值 价值较高

专利价值度是通过科学的评估模

型对专利价值进行量化的结果,

基于专利大数据针对专利总体特

征指标利用计算机自动化技术对

待评估专利进行高效、智能化的

分析,从技术、经济和法律价值

三个层面构建专利价值评估体

系,可以有效提升专利价值评估

的质量和效率。

总评:61.0


该专利价值中等 (仅供参考)

        该专利的技术、经济、法律价值经系统自动评估后的总评得分处于平均水平,可以重点研究利用其技术价值,根据法律价值的评估结果选择合适的使用借鉴方式。
        本专利文献中包含【3 个实施例】、【3 个技术分类】,从一定程度上而言上述指标的数值越大可以反映出所述专利的技术保护及应用范围越广。 【专利权的维持时间11 年】专利权的维持时间越长,其价值对于权利人而言越高。

技术价值    32.0

该指标主要从专利申请的著录信息、法律事件等内容中挖掘其技术价值,专利类型、独立权利要求数量、无效请求次数等内容均可反映出专利的技术性价值。 技术创新是专利申请的核心,若您需要进行技术借鉴或寻找可合作的项目,推荐您重点关注该指标。

部分指标包括:

授权周期(发明)

22 个月

独立权利要求数量

1 个

从属权利要求数量

9 个

说明书页数

8 页

实施例个数

3 个

发明人数量

5 个

被引用次数

0 次

引用文献数量

0 个

优先权个数

0 个

技术分类数量

3 个

无效请求次数

0 个

分案子案个数

0 个

同族专利数

0 个

专利获奖情况

保密专利的解密

经济价值    7.0

该指标主要指示了专利技术在商品化、产业化及市场化过程中可能带来的预期利益。 专利技术只有转化成生产力才能体现其经济价值,专利技术的许可、转让、质押次数等指标均是其经济价值的表征。 因此,若您希望找到行业内的运用广泛的热点专利技术及侵权诉讼中的涉案专利,推荐您重点关注该指标。

部分指标包括:

申请人数量

1

申请人类型

院校

许可备案

0 次

权利质押

0 次

权利转移

0 个

海关备案

法律价值    22.0

该指标主要从专利权的稳定性角度评议其价值。专利权是一种垄断权,但其在法律保护的期间和范围内才有效。 专利权的存续时间、当前的法律状态可反映出其法律价值。故而,若您准备找寻权属稳定且专利权人非常重视的专利技术,推荐您关注该指标。

部分指标包括:

存活期/维持时间

11

法律状态

有权-审定授权